![]()
52″/60″ RIDLEYTM II LED

Product images may vary slightly from actual product.
READ AND SAVE THESE INSTRUCTIONS
INSTRUCTION MANUAL
Model # 300027(52″)
300075(60″)
300027(52″)
Net Weight 6.5kgs (14.33 lbs)
Gross Weight: 7.8kgs (17.20 lbs)
300075(60″)
Net Weight: 7.1 kgs (15 65 lbs)
Gross Weight: 8.2 kgs (18.08 lbs)
SAFETY RULES
- CAUTION – RISK OF SHOCK – Disconnect Power at the main circuit breaker panel or main fusebox before starting and during the installation.
- WARNING: All wiring must be in accordance with the National Electrical Code “ANSI/NFPA 70” and local electrical codes. Electrical installation should be performed by a qualified licensed electrician.
- WARNING: To reduce the risk of electric shock, this fan must be installed with a general-use, isolating wall control/switch.
- WARNING: Not suitable for use with solid-state speed controls.
- WARNING: To reduce the risk of fire, electric shock, or personal injury, mount to outlet box marked “acceptable for fan support of 15.9 kg (35 lbs.) or less” and use mounting screws provided with the outlet box. Most outlet boxes commonly used for the support of light fixtures are not acceptable for fan support and may need to be replaced. Due to the complexity of the installation of this fan, a qualified licensed electrician is strongly recommended.
- The outlet box and support structure must be securely mounted and capable of reliably supporting a minimum of 15.9 kg (35 pounds). Use only cULus Listed outlet boxes marked “Acceptable for Fan Support of 15.9 kg (35 Ibs) or less”.
- The fan must be mounted with a minimum of 2.1 m (7 feet) clearance from the trailing edge of the blades to the floor.
- WARNING: Do not operate reversing switch while fan blades are in motion. Fan must be turned off and blades stopped before reversing blade direction.
- Avoid placing objects in the path of the blades.
- WARNING: make sure the power is disconnected before cleaning your fan.
- To avoid personal injury or damage to the fan and other items, be cautious when working around or cleaning the fan.
- Do not use water or detergents when cleaning the fan or fan blades. A dry dust cloth or lightly dampened cloth will be suitable for most cleaning.
- After making electrical connections, spliced conductors should be turned upward and pushed carefully up into outlet box. The wires should be spread apart with the grounded conductor and the equipment-grounding conductor on one side of the outlet box and the ungrounded conductor on the other side of the outlet box.
- Electrical diagrams are reference only. Light kits that are not packed with the fan must be cULus Listed and marked suitable for use with the model fan you are installing. Switches must be cULus General Use Switches. Refer to the Instructions packaged with the light kits and switches for proper assembly.
- All set screws must be checked, and retightened where necessary, before installation.
WARNING: TO REDUCE THE RISK OF PERSONAL INJURY, DO NOT BEND THE BLADE BRACKETS (ALSO REFERRED TO AS FLANGES) DURING ASSEMBLY OR AFTER INSTALLATION. DO NOT INSERT OBJECTS IN THE PATH OF THE BLADES.
300027(52″) : N.W. 6.5 KGS (14.33 LBS), G.W. 7.8 KGS (17.20 LBS)
300075(60″) : N.W. 7.1 KGS (15.65 LBS), G.W. 8.2 KGS (18.08 LBS)
TOOLS REQUIRED
Philips screw driver
Blade screw driver
11 mm wrench
Step ladder
Wire cutters

PACKAGE CONTENTS
Unpack your fan and check the contents. You should have the following items:
a. Fan blades (3)
b. Canopy & Ceiling mounting bracket
c. Ball/downrod assembly
d. Coupling cover
e. Fan motor assembly
f. Set of 3 blade brackets and Pre-Installed mounting screws
g. Light plate
h. 17W LED light kit
i. Glass shade
j. Decorative bottom cover
k. Receiver
l. Wall Transmitter
m. Part bag contents
1) Mounting hardware:
wood screws (2), flat washers (2), star washers (2), wire nuts (3), screws (2)
2) Blade attachment hardware:
screws (11), fiber washers (11)
3) Blade bracket attachment hardware: screws (2)
4) Safety cable hardware:
wood screw, spring washer, flat washer
5) Balance Kit
MOUNTING OPTIONS
If there isn’t an existing UL (cUL for Canadian Installation) listed mounting box, then read the following instructions Disconnect the power by removing fuses or turning off circuit breakers.
Secure the outlet box directly to the building structure. Use appropriate fasteners and building materials. The outlet box and its support must be able to fully support the full weight of the fan (up to 15.9kg (35 pounds)). Do not use plastic outlet boxes.
Figures 1, 2 and 3 are examples of different ways to mount the outlet box.
NOTE: If you are installing the ceiling fan on a sloped (vaulted) ceiling, you may need a longer downrod to maintain proper clearance between the tip of the blade and the ceiling. A minimum clearance of 12″ is suggested for optimal operation.
NOTE: Depending on the location you have selected for installation, you may need to purchase and install a “Joist Hanger” for the support of the outlet box. Make sure the joist hanger you purchase has been designed for use with ceiling fans. (Fig. 4)

Fig. 1
- Outlet box

Fig. 2
- Outlet box
ANGLED CEILING MAXIMUM 30° ANGLE

Fig. 3
- Provide strong support
- Ceiling mounting plate
- Recessed outlet box

Fig. 4
- Outlet box
HANGING THE FAN
REMEMBER to turn off the power before you begin.
To properly install your ceiling fan, follow the steps below.
Step 1. Remove the decorative canopy bottom cover from the canopy by turning the cover counter clockwise. (Fig. 5)
Step 2. Remove the ceiling mounting bracket from the canopy by removing (and save one of the two screws Loosen the remaining screw by a half turn. (Fig. 5)

Fig. 5
- Hanger bracket
- Ceiling canopy
- Canopy cover
Step 3. Pass the 120 volt supply wires from the ceiling outlet box through the center of the ceiling mounting bracket (Fig. 6)
Step 4. Attach the ceiling mounting bracket to the outlet box using the screws and washers included with the outlet box. (Fig.6)

Fig. 6
- Washers
- Mounting screws (supplied with electrical box)
- 120V Wires
- Hook
- Ceiling mounting bracket
- CUL Listed electrical box
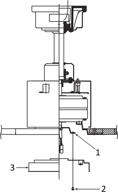
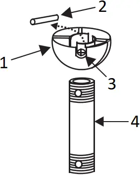
Step 5. Remove the hanger ball from the downrod assembly by loosening the set screw unscrewing and removing removing the cross pin and unscrewing the ball off the rod. (Fig. 7)
Fig. 7
- Hanger ball
- Cross pin
- Set screw
- Downrod
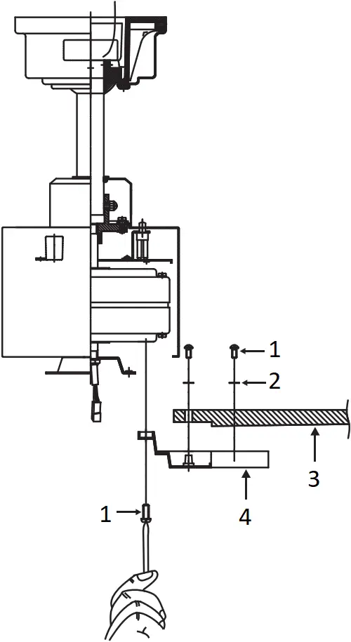
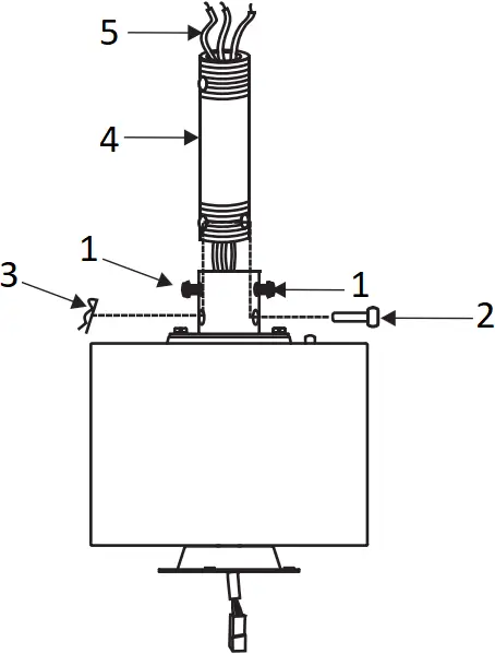
Step 6. Loosen the two set screws and remove the hitch pin and retaining clip from the coupling on top of the motor assembly. (Fig. 8)
Step 7. Carefully feed the electrical lead wires from the fan up through the downrod. Thread the downrod into the coupling until the hitch pin holes are aligned.
Next, replace the hitch pin and retaining clip. Tighten both set screws. (Fig. 8)
Fig. 8
- Set screws
- Hitch pin
- Retaining clip
- Downrod
- Supply wires
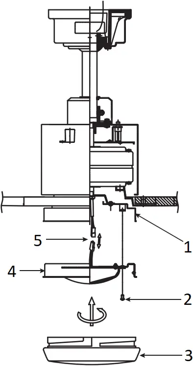
Step 8. Slip the coupling cover, canopy cover and canopy onto the downrod (Fig. 9)
Thread the hanger ball onto the downrod, insert the cross pin through the downrod and tighten. Now tighten the set screw. (Fig. 9)

Fig. 9
- Canopy
- Set screws
- Retaining clip
- Hitch pin
- Coupling cover
- Canopy cover
- Downrod
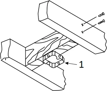
Step 9. Lift the motor assembly into position and place the hanger ball into the ceiling mounting bracket.
Rotate the entire assembly until the “Check Tab” has dropped into the “Registration Slot” and seats firmly. (Fig. 10)
Fig. 10
- Registration slot
The entire motor assembly should not rotate (left or right) when seated properly.
WARNING: Failure to reattach the cross pin and seat the “Check Tab” can cause the fan to fall from the ceiling during operation. Take special care to make sure this pin is reattached.
INSTALLATION OF SAFETY SUPPORT
(required for Canadian installation ONLY)
A safety support cable is provided to help prevent the ceiling fan from falling. Please install it as follows:
Step 1. Attach the provided wood screw and washers to the ceiling joist next to the mounting bracket but do not tighten. (Fig. 11)

Fig. 11
- Attach safety cable to ceiling joist with screw and washer
- Safety support cable
- Ceiling mounting bracket
Step 2. Adjust the length of the safety cable to reach the screw and washers by pulling the extra cable through the cable clamp until the overall length is correct, put the end of the cable back through the cable clamp forming a loop at the end of the cable. Tighten the cable clamp securely. Now, put the loop in the end of the safety cable over the wood screw and under the washer. Tighten the wood screw securely
NOTE: Although the safety support cable is required for Canadian installations only, it’s a good idea to make the attachment with any installation.
ELECTRICAL CONNECTIONS
WARNING: To avoid possible electrical shock, be sure you have turned off the power at the main circuit panel.
Follow the steps below to connect the fan to your household wiring. Use the wire connecting nuts supplied with your fan. Secure the connectors with electrical tape. Make sure there are no loose wire strands or connections.
NOTE: The Control System is equipped with 16 possible frequency combinations to prevent interference from or with other remote control units. The frequency switches on your receiver and transmitter have been preset at the factory Please recheck to make sure the switches on transmitter and receiver are set to the same position, any combination of settings will operate the fan as long as the transmitter and receiver are set to the same position. (Fig. 12)

Fig. 12
- Code switch
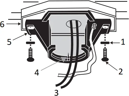
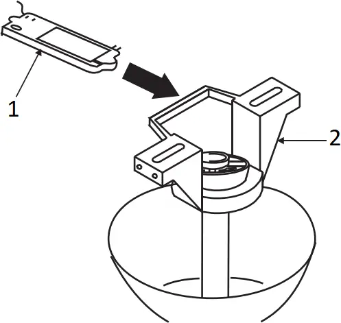
Step 1. Insert the receiver into the ceiling mounting bracket with the flat side of the receiver facing the ceiling. (Fig. 13) For best performance, make sure the Black Antenna, on the end of the receiver, remains extended and not tangled with any of the electrical wires.

Fig. 13
- Receiver
- Hanger bracket
Step 2. Motor to Receiver Electrical Connections: (Fig. 14) Connect the black wire from the fan to the black wire marked “TO MOTOR L” on the receiver. Connect the white wire from the fan to the white wire marked “TO MOTOR N” on the receiver. Connect the blue wire from the fan to the blue wire marked “FOR LIGHT” on the receiver. Secure all the wire connections with the plastic wire nuts provided.
Step 3. (Fig. 14) Receiver to House Supply Wires Electrical Connections: Connect the black (hot) wire from the ceiling to the black wire marked “AC in L” from the receiver Connect the white(neutral) wire from the ceiling to the white wire marked “AC in N” from the Receiver. Secure the wire connections with the plastic wire nuts provided.
Step 4. (Fig. 14) If your outlet box has a ground wire (green or bare copper) connect it to the fan ground wires; otherwise connect the hanging bracket ground wire to the mounting bracket. Secure the wire connection with a plastic nut provided. After connecting the wires, spread them apart so that the green and white wires are on one side of the outlet box and black and blue wires are on the other side. Carefully tuck the wire connections up into the outlet box.
Note: Fan must be installed at a maximum distance of 30 feet from the CoolTouch™ Remote Transmitter for optimal signal transmission between the transmitter and the fan’s receiving unit.

Fig. 14
- White (neutral)
- Green or bare copper (ground)
- White (“AC IN N”)
- White (“to motor N”)
- Ground (green) – (Connect to ground wire on hanger bracket if no house ground wire exists.)
- White (neutral)
- Black (motor)
- Blue (for light)
- Black (“to motor L”)
- Receiver
- Black (“AC IN L”)
- Black (hot)
- Outlet box
FINISHING THE INSTALLATION
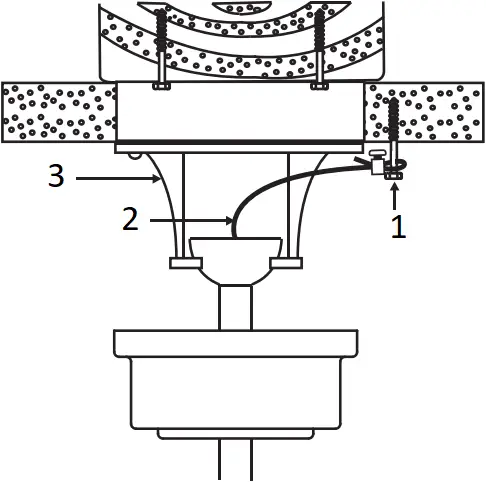
Step 1. Tuck all the connections neatly into the ceiling outlet box.
Step 2. Slide the canopy up to the mounting bracket and place one of the key hole slots over the mounting screw on the mounting bracket. Rotate the canopy until the screw head locks in place at the narrow section of the key hole. (Fig. 15)
Step 3. Align the remaining circular hole on the canopy with the remaining hole on the Ceiling Mounting Bracket. Insert and tighten the mounting screw you removed earlier and the mounting screw from Step 2 above. Now, attach the canopy cover to the mounting screw heads by inserting the screw heads into the bottom side of the canopy cover and rotating the cover clockwise.
NOTE: Adjust the canopy screws as necessary until the canopy and canopy cover are snug. (Fig. 15)
WARNING: Make sure the “Check Tab” at the bottom of the hanger bracket is properly seated in the “Registration Slot” on the side of the hanger ball before attaching the canopy to the bracket.

Fig. 15
- Screws
- Canopy
- Canopy cover
- Ceiling mounting bracket
- Outlet box
ATTACHING THE FAN BLADES
CAUTION: To Reduce The Risk Of Electric Shock, Disconnect The Electrical Supply Circuit To The Fan Before Installing Fan Blades.
Step 1. Attach a blade to a blade bracket using the screws and fiber washers provided. (Fig. 16)
Make sure the blade is straight when set on the blade bracket. Tighten each mounting screw and then repeat this procedure for each blade.
Step 2. Attach each blade assembly to the motor using the “Pre-Installed” mounting screws in the blade bracket. (Fig 16)

Fig. 16
- Screws
- Fiber washers
- Blades
- Blade brackets
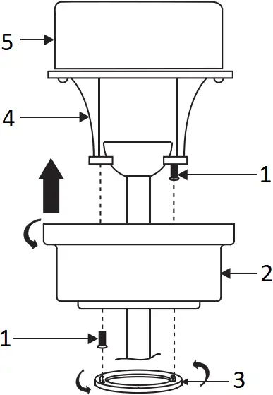
INSTALLING THE LIGHT PLATE
Step 1. Loosen the two screws on the mounting ring attached to the motor shaft and “remove” and save the third screw. (Fig. 17)
Step 2. Place the key hole slots on the light plate over the two screws previously loosened on the mounting ring.
Turn the light plate until is locks in place at the narrow section of the key hole slots.
Tighten both key hole screws and replace the third screw previously removed and tighten securely.

Fig. 17
- Mounting ring
- Screws
- Light plate
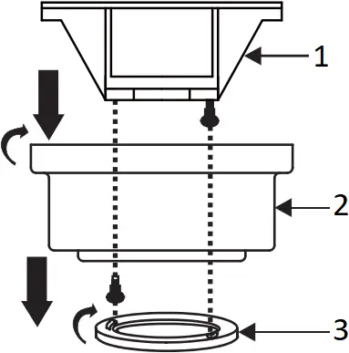
INSTALLING THE LED LIGHT KIT AND GLASS SHADE
CAUTION: To Reduce The Risk Of Electric Shock, Disconnect The Electrical Supply Circuit To The Fan Before Installing Light Kit.
Step 1. Loosen the three mounting screws on the inside of the LED light kit. (Fig.18)
Step 2. While holding the LED light kit under the fan motor, make the wire connections: (Fig. 18)
– Red to white
– Black to black
NOTE: If you do not plan to install the LED light kit with your fan at this time, don’t make the wire connections. Raise the decorative bottom cover against the LED light kit and turn clockwise until snug, DO NOT OVERTIGHTEN. (Fig. 19)
Step 3. Tuck the connections neatly into the light plate. Place the key holes on the LED light kit over the 2 screws previously loosened from the light plate, turn the LED light kit until it locks in place at the narrow section of the key holes. Secure by tightening all three screws. (Fig.18)
Step 4. Raise the glass shade against the light kit and turn clockwise until snug, DO NOT OVERTIGHTEN. (Fig. 18)

Fig.18
- Light plate
- Screws
- Glass shade
- LED light kit
- Wire connectors

Fig.19
- Decorative bottom cover
INSTALLING THE BATTERIES
Remove the face plate of the Wall Switch by lifting at the top and then insert the supplied 12V battery Duracell MN21/ Eveready A23/GP 23A all 12V (Fig. 20).

Fig. 20
Replace the switch face plate.
To prevent possible damage to the transmitter, remove these batteries if not used for long periods of time (months).
OPERATING INSTRUCTIONS
HI Button = High Speed
MED Button = Medium Speed
LOW Button = Low Speed
FAN OFF Button = Motor Off
Light Button = the “LIGHT” button turns the light ON or OFF and also controls the brightness setting. (Fig. 21)

Fig. 21
Press and hold either button to set the desired brightness level. The next time you turn the light on, the system will remember this setting.
Press and release either button to turn the light ON or OFF.
This control system is NOT designed to Reverse” the rotation of the blades. To set the fan blades in reverse, the reverse slide switch is located on the top of the motor housing (Fig. 22).

Fig. 22
- Slide switch
WARNING: Do not operate reversing switch while fan blades are in motion. Fan must be turned off and blades stopped before reversing blade direction.
INSTALLING THE BASIC FUNCTION WALL CONTROL TRANSMITTER AND WALL PLATE
Select a location to install the Basic Function Wall Control Transmitter and Wall Plate.
The wall control transmitter can be installed to an existing wall switch outlet box.
CAUTION: Make sure the electrical power is TURNED OFF at the main panel before continuing.
Step 1. Remove the existing wall plate and the old switch from the wall outlet box. Wire nut the BLACK leads (hot) together and push back inside the outlet box. (Fig. 23)

Fig. 23
- Outlet box
- Switch
- Wall plate
Step 2. Install the wall plate on the existing wall outlet box using the screws provided. (Fig 24)

Fig. 24
- Outlet box
- Switch
- Screws
- Wall plate
After installing the wall anchors, attach the wall plate with the mounting screws to finish the installation.
OPERATING INSTRUCTIONS
NOTE: This control system is NOT designed to “Reverse” the rotation of the blades. To set the fan blades in reverse, the reverse slide switch is located on the top of the motor housing.
WARNING: Do not operate reversing switch while fan blades are in motion. Fan must be turned off and blades stopped before reversing blade direction.
Warm weather – Forward (counter clockwise) A downward airflow creates a cooling effect as shown in Fig. 25. This allows you to set your air conditioner on a warmer setting without affecting your comfort.

Fig. 25
Cool weather – Reverse (clockwise) An upward airflow moves warm air off of the ceiling as shown in Fig. 26. This allows you to set your heating unit on a cooler setting without affecting your comfort.

Fig. 26
TROUBLESHOOTING
| Problem | Solution |
| Fan will not start. | 1. Check circuit fuses or breakers. 2. Check all electrical connections to ensure proper contact. CAUTION: Make sure the main power is OFF when checking any electrical connection. 3. Make sure transmitter batteries are installed properly, and ensure the batteries have a good charge. |
| Fan sounds noisy. | 1. Make sure all motor housing screws are snug. 2. Make sure the screws that attach the fan blade brackets to the motor are tight. 3. Make sure wire nut connections are not rubbing against each other or the interior wall of the switch housing. CAUTION: Make sum main power is off. 4. Allow a 24-hour “breaking-in” period. Most noise associated with a new fan disappears during this time. 5. If using an optional light kit, make sure the screws securing the glassware are tight. Make sure the light bulbs are not touching any other component. 6. Do not connect this fan to wall mounted variable speed control(s). They are not compatible with ceiling fan motors or remote controls. 7. Make sure the upper canopy is a short distance from the ceiling. It should not touch the ceiling. |
| Fan wobble. | 1. Check that all blade and blade arm screws are secure. 2. Most fan wobbling problems are caused when blade levels are unequal. Check this level by selecting a point on the ceiling above the tip of one of the blades. Measure this distance. Rotate the fan until the next blade is positioned for measurement. Repeat for each blade. The distance deviation should be equal within 1/8″. 3. Use the enclosed Blade Balancing Kit if the blade wobble is still noticeable. 4. If the blade wobble is still noticeable, interchanging two adjacent (side by side) blades can redistribute the weight and possibly result in smoother operation. |
| Remote control malfunction. | 1. Ceiling Fans with remote control systems CAN NOT be operated in conjunction with any other control system EXCEPT a basic On/Off wall switch, if desired. 2. Make sure the frequency dip switches in the transmitter and receiver have identical settings. 3. Make sure the Black Antenna on the receiver is NOT tangled with any other electrical wires and is extended around the inside of the ceiling canopy. |
FCC Information
This device complies with part 15 of the FCC Rules. Operation is subject to the following two conditions:
1) This device may not cause harmful interference, and
2) This device must accept any interference received, including interference that may cause undesired operation.
Note: This equipment has been tested and found to comply with the limits for a Class B digital device, pursuant to part 15 of the FCC Rules.
These limits are designed to provide reasonable protection against harmful interference in a residential installation. This equipment generates, us s and can radiate radio frequency energy and, if not installed and used in accordance with the instructions, may cause harmful interference to radio communications. However, there is no guarantee that interference will not occur in a particular installation. If this equipment does cause harmful interference to radio or television reception, which can be determined by turning the equipment off and on the user is encouraged to try to correct the interference by one or more of the following measures:
- Reorient or relocate the receiving antenna.
- Increase the separation between the equipment and receiver.
- Connect the equipment into an outlet on a circuit different from that to which the receiver is connected.
- Consult the dealer or an experienced radio/TV technician for help.
![]()
Kichler Lighting LLC
30455 Solon Rd.Solon, OH 44139
CUSTOMER SERVICE 866.558.5706
8:00 AM TO 5:00 PM EST,MONDAY-FRIDAY
REV 14-Jul-2022
PACKAGE CONTENTS

















