WATTS LFM118-3 (Globe) Non-Surge Check Valve

LFM118-3 (Globe) Non-Surge Check Valve (4″ and Smaller)
Standard Components
- Main Valve (M100 – Single Chamber)
- Check Valve
- Adjustable Opening Speed
- Adjustable Closing Speed
Operation
The Automatic Control Valve (ACV) Non-Surge Check Valve is designed to control pipeline surges caused by flow reversal by slowly opening and closing at separate adjustable rates. The valve opens when upstream pressure is greater than downstream pressure. When upstream pressure is greater than downstream pressure, the Adjust-able Opening Speed Control allows fluid out of the main valve cover chamber, providing a controlled rate of opening. When a pressure reversal occurs and downstream pressure becomes higher than upstream pressure, the Adjustable Closing Speed Control allows the higher downstream pressure to enter the main valve cover chamber, providing a controlled rate of closure.
NOTE: A maximum pipeline velocity of six feet-per-second is recommended when installing this type of check valve. When pipeline velocities exceed six FPS, consideration should be given to adding an ACV Model 116 Pressure Relief Valve or Model 116-52 Combination Surge Anticipator and Pressure Relief Valve to the system.
Installation
Start-up of an automatic control valve requires that proper procedures be followed. Time must be allowed for the valve to react to adjustments and the system to stabilize. The objective is to bring the valve into service in a controlled manner to protect the system from damaging over-pressure.
- Prior to installation, flush line to remove debris.
- Install valve so the flow arrow matches flow through the line, and gauges to monitor valve inlet and outlet pressures. A Position Indicator can be installed to provide visual indication of valve position and operation without disassembly.
- Install isolation valves upstream and downstream of the main valve.
- Provide adequate clearance for valve servicing and maintenance. Refer to valve servicing dimensions on next page. Avoid installing valves 6″ and larger in the vertical position (main valve stem horizontal). Automatic Control Valves (ACVs) are designed for horizontal in-line installation, with the cover facing up (main valve stem vertical). Slow operation or premature stem and guide wear may occur if valve is not installed according to factory recommendations. Consult factory for detailed engineering review prior to ordering if valve is to be installed other than horizontally in-line.
- If valve is equipped with a pilot control system, extra precautions should be made during installation to protect the piping circuit from damage. Only remove the pilot control system from the valve if necessary. Tubing and fittings should be kept clean and replaced exactly as removed. Consult appropriate hydraulic schematic to ensure proper re-assembly.
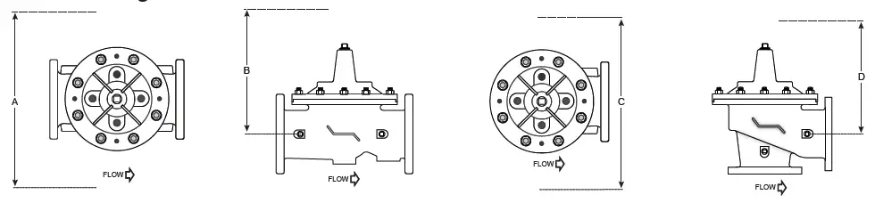
Valve Servicing Dimensions

The following tables detail the recommended minimum valve servicing dimensions.
Globe
| Size (in) | 11/4 | 11/2 | 2 | 21/2 | 3 | 4 | 6 | 8 | 10 | 12 | 14 | 16 | 20 | 24 |
| A (in) | 16 | 16 | 20 | 22 | 22 | 24 | 32 | 34 | 38 | 44 | 48 | 52 | 56 | 56 |
| B (in) | 10 | 10 | 12 | 14 | 14 | 16 | 24 | 26 | 28 | 30 | 34 | 40 | 48 | 48 |
Angle
| Size (in) | 11/4 | 11/2 | 2 | 21/2 | 3 | 4 | 6 | 8 | 10 | 12 | 14 | 16 |
| C (in) | 16 | 16 | 20 | 22 | 22 | 24 | 32 | 34 | 38 | 44 | 48 | 52 |
| D (in) | 10 | 10 | 12 | 14 | 14 | 16 | 24 | 26 | 28 | 30 | 34 | 40 |
Setting the Check Control Valves
- STEP 1
Pre-set pilots as noted: Opening and Closing Speed – Turn the adjustment screws on the Closing Speed and Opening Speed Controls, if the main valve is so equipped, OUT, counterclockwise, 1½ to 2½ turns from full closed position. - STEP 2
To ensure proper operation, any trapped air will need to be bled off the valve cover during startup. The ACV includes a bleed valve, use a flat head screwdriver to slowly open the valve (See Figure 1). - STEP 3
Pressure the line, by opening the upstream isolation valve slowly. Air is vented through the air bleed valve. Tighten the fitting when liquid begins to vent (See Figure 1).
- STEP 4
Slowly open downstream isolation valve to establish flow through the system. - STEP 5
Opening Speed Needle Valve Adjustment: The Opening speed needle valve regulates flow out of the cover of the main valve. If the main valve is opening too slowly turn the adjustment screw OUT, counterclockwise, increasing the rate of opening (See Figure 2B). If the main valve is opening too quickly, turn the adjustment screw IN, clockwise, decreasing the rate of opening (See Figure 2A).
- STEP 6
Closing Speed Needle Valve Adjustment: The Closing Speed globe valve regulates fluid pressure into the main valve cover chamber, controlling the valve closing speed. If the downstream pressure fluctuates slightly above the desired set point, adjustment screw OUT, counterclockwise, increasing the rate of closing.
Automatic Control Valve Maintenance Schedule
To ensure peak performance and longevity of your automatic control valve, Watts/Ames recommends following the below standard maintenance schedule.
- Monthly Maintenance
- Visual inspection of valve(s) for leaks
- Inspect for proper operation(s); exercise valve.
- Quarterly Maintenance
- Conduct monthly inspection.
- Validate/Re-establish necessary setpoints of controls/pilots.
- Annual Maintenance
- Conduct monthly & quarterly inspections.
- Inspect & clean all strainers.
- Inspect valve coating, touch up as required.
- 3-5 Year Maintenance
- Conduct monthly, quarterly, & annual maintenance.
- Inspect & replace valve elastomers (diaphragm, O-rings, valve/pilot seats)
- Re-establish necessary set points of controls/pilots.
Troubleshooting Guide
Warning: The valve cannot be serviced under pressure. Upstream and downstream Isolation Valves must be installed to protect system piping. Accurate diagnosis and trouble-shooting requires the valve to open fully, and may subject downstream piping and equipment to high pressure and/or flow rates. The downstream Isolation Valve should be kept closed while diagnosing the valve.
Extreme caution should be used while performing the troubleshooting techniques listed below.
Recommended tools for diagnosis: (3) PRESSURE GAUGES, installed to monitor the inlet pressure, outlet pressure, and cover chamber pressure. If included, a POSITION INDICATOR should be installed to visually assess the position of the disc & diaphragm assembly.
- Test 1: Diaphragm Seal Test
- Close upstream & downstream isolation valves. Close pilot isolation valves or remove pilot control tubing to isolate valve cover from incoming fluid & pressure. Remove uppermost cover plug, test cock, or limit switch.
- With the valve cover chamber vented to atmosphere,
partially open the upstream isolation valve, allowing incoming pressure to lift the disc & diaphragm assembly. A volume of water will be displaced from the cover chamber as the valve opens; consult valve specification sheets for approximate cover capacity. A continuous flow of water from the open port indicates a damaged diaphragm or loose disc & diaphragm assembly. Disassemble valve and replace diaphragm or tighten disc & diaphragm assembly.
- Test 2: Seat Seal Test
- Close downstream isolation valve and install pressure gauges on an open inlet and outlet port of main valve.
- Open upstream isolation valve to allow pressure on to the valve cover. Allow valve to fully close.
- Monitor downstream pressure gauge; reading should hold steady below incoming pressure. If pressure on downstream side rises to match upstream pressure, leakage is occurring through the seat of the main valve. Disassemble valve, inspect and repair/replace any required parts.
- If gauge pressure rises to match outlet pressure (down-stream of closed isolation valve) yet remains below inlet pressure, the isolation valve may be leaking as opposed to main valve seat.
- Test 3: Freedom of Movement/Valve
- Close upstream and downstream isolation valves. Install valve position indicator.
- Partially open upstream isolation valve and allow cover to fill with fluid & pressure, closing the valve fully. Mark the position indicator’s full closed position.
- Isolate cover chamber from receiving fluid and pressure by closing isolation valves or removing control tubing.
- Carefully vent cover chamber to atmosphere by opening test cock or removing a cover plug. Observe the valve position indicator as the valve travels to the full-open position. The disc & diaphragm assembly should move freely from fully closed to fully open position without binding or “grabbing” at any point during its movement.
- The disc & diaphragm assembly may momentarily “hesitate” while travelling from fully closed to fully open position
- this is a normal characteristic of diaphragm operated control valves, and does not indicate mechanical binding or improper valve operation.
- A continuous discharge of water from the cover chamber after venting to atmosphere indicates leakage past the diaphragm.
- The disc & diaphragm assembly may momentarily “hesitate” while travelling from fully closed to fully open position
- If necessary, disassemble valve and inspect/repair disc & diaphragm assembly.
| Issue | Possible Cause | Corrective Action | Notes |
| Main Valve will not open | Closed isolation valves in pilot system. | Check isolation valves, ensure open. | |
| Insufficient supply pressure. | Check upstream pressure. | Depending on water source, supply pressure may not be controlled by valve operator. | |
| Main valve stem assembly corroded/ damaged | Inspect stem assembly, clean/ replace if necessary. | ||
| Blockage in pilot system. | Inspect & clean any installed pilot system strainers, check orifice/speed controls for blockages. | ||
| Improperly configured opening speed control. | Adjust opening speed control to verify functionality, adjust as required. | Standard setting for open- ing speed control is 1 1/2 – 2 1/2 turns open from full closed position. Can be adjusted in field. | |
| Main Valve will not close | Closed isolation valves in pilot system | Check isolation valves, ensure open. | |
| Diaphragm is damaged | Conduct diaphragm seal test, repair and replace if necessary. | ||
| Main valve stem assembly corroded/ damaged. | Inspect stem assembly, clean/ replace if necessary. | ||
| Blockage in main valve. | Perform freedom of movement test; if valve does not close, disassemble and remove blockage. | ||
| Worn/damaged valve seat. | Perform seat sealing check; disassemble and inspect/re- pair seat if required. | ||
| Improperly configured closing speed control. | Adjust closing speed control to verify functionality, adjust as required. | Standard setting for closing speed control is 11/2 – 21/2 turns open from full closed position. Can be adjusted in field. |
Valve Disassembly Instructions

Before undertaking valve disassembly, it is recommended to gather the following tools to aid you during the process:
- Small & large adjustable wrenches
- Screwdriver set
- Machinist fine metal file
- Fine wire brush
- Bench vise
- Basic valve IO&M manual
- Hammer & dull cold chisel
- Heavy-duty ratchet & socket set
- Hexagonal wrench set
- 320 grit/fine Emery cloth
- Appropriate technical bulletins for valve start-up procedures.
- Isolate the valve from line pressure and depressurize it to ensure safe working conditions. Disconnect any electrical connections if so equipped.
- Carefully remove Position Indicator or Limit Switches if equipped. Remove all tubing, fittings, and Control Pilots necessary to easily access and remove the cover. Remove cover nuts and washers.
- Remove the cover. If cover is not free to be removed, loosen it by tapping upward along its outside edge with a dull cold chisel, pic-tured above.
- Large valves may require the installation of lifting “eye” bolts in order to facilitate cover removal; installation ports are provided on the cover for this purpose.
- Remove the Disc and Diaphragm Assembly from the valve body by lifting straight up.
- Large diameter valves may require a lifting “eye” bolt to be installed in the valve stem accessory threads located on the very top of the valve stem.
- Before removing Stem Nut, examine stem threads for mineral build-up. Remove deposits with a fine wire brush. Extreme care should be taken not to damage the finish on stem guiding surfaces when disassembling. Avoid applying pipe wrenches to top or bottom stem guide surfaces.
- After removing the Stem Nut, the remainder of the Disc & Diaphragm Assembly should disassemble easily. Polish stem guide surfaces with fine emery cloth to remove any mineral deposits and inspect for excessive wear. Remove any mineral build-up from other components with wire brush or by using a Mineral Dissolving Solution. Inspect parts for wear and replace if necessary.
- Inspect valve seat. If seat is not damaged, removal is not necessary. Valve seats 6″ and smaller are threaded into the body of the valve and require a seat removal tool (Figure 3) (Table 1 details the tool dimensions for seat removal). Valve seats 8″ and larger are held in the valve body with stainless steel cap screws. Remove seat retaining screws and lift seat straight up (Figure 4).
Table 1: Seat Removal Tool DimensionSize A B C D E (Dia.) F in Pipe Size (in) Min. Length (in) in in in in 11/4 1 3.12 0.38 0.25 0.44 0.55 11/2 1 3.12 0.38 0.25 0.44 0.50 2 11/4 3.38 0.38 0.25 0.44 0.50 21/2 2 4.0 0.38 0.38 0.56 0.62 3 21/2 4.5 0.50 0.38 0.56 0.62 4 3 5.0 0.50 0.44 0.56 0.62 6 5 6.50 0.62 0.44 0.56 0.62 *Schedule 40 steel pipe

- Replace Seat Disc, Diaphragm and Spacer Washers provided in Main Valve repair kit (refer to Table 2 or 3 for correct repair kit part number). Re-assemble in the reverse order of disassembly.
Size (in) 11/4 11/2 2 21/2 3 4 6 8 10 12 14 16 P/N 0677-01 0677-01 0677-02 0677-03 0677-04 0677-05 0677-06 0677-07 0677-08 0677-09 0677-10 0677-11 Size (in) 3 4 6 8 10 12 16 20 & 24 P/N 0677-02 0677-04 0677-05 0677-06 0677-07 0677-08 0677-09 0677-11 - Re-Install Disc and Diaphragm Assembly in the valve, taking care not to damage the lower guide area in the center of the valve seat.
- Re-install Cover Spring. Replace Valve Cover and tighten Cover Nuts in a crossing pattern to ensure even distribution. Test the Disc and Diaphragm Assembly for smooth travel by following the Freedom of Movement Test procedure in previous section.
- Test the integrity of the Seat Seal by following the Seat Seal Test procedure in previous section.
- Return valve to service by following instructions on the Technical Bulletin matching the valve function.
ACV Assembly Diagram – Series LFM118-3


| Item | Description | Material |
| 1 | Pipe Plug | Lead Free Brass |
| 2 | Cover | ASTM A536 65-45-12 Epoxy Coated Ductile Iron |
| 3 | Cover Bearing | ASTM A276 304 Stainless Steel |
| 4 | Stud with Cover Nut and Washer | ASTM A570 Gr.33 Zinc Plated Steel |
| 5 | Body | ASTM A536 65-45-12 Epoxy Coated Ductile Iron |
| 6 | Spring | ASTM A276 302 Stainless Steel |
| 7 | Stem Nut | ASTM A276 304 Stainless Steel |
| 8 | Lock Washer | ASTM A276 304 Stainless Steel |
| 9 | Stem Washer | ASTM A276 304 Stainless Steel |
| 10 | Diaphragm Washer | ASTM A536 65-45-12 Epoxy Coated Ductile Iron |
| 11 | Diaphragm* | Buna-N (Nitrile) |
| 12 | Disc Retainer | ASTM A536 65-45-12 Epoxy Coated Ductile Iron |
| 13 | Seat Disc* | Buna-N (Nitrile) |
| 14 | Spacer Washer* x5 | NY300 Fiber* |
| 15 | Disc Guide | ASTM A743 CF8M (316) Stainless Steel |
| 16 | Shaft | ASTM A276 304 Stainless Steel |
| 17 | Seat Ring** | ASTM A743 CF8M (316) Stainless Steel |
| 17A | Seat Screw** (8″ and Larger) | ASTM A276 304 Stainless Steel |
| 18 | Seat Gasket* | Buna-N (Nitrile) |
NOTICE Installation: If unit is installed in any orientation other than horizontal (cover up) OR extreme space constraints exist, consult customer service prior to or at the time of order.























