
Item No.:LPF800
Installation guide

![]()
LPF800 Fixed TV Bracket

![]()
STEP 1

STEP2-A
Solid concrete mounting

STEP2-B
Wood Stud Mounting

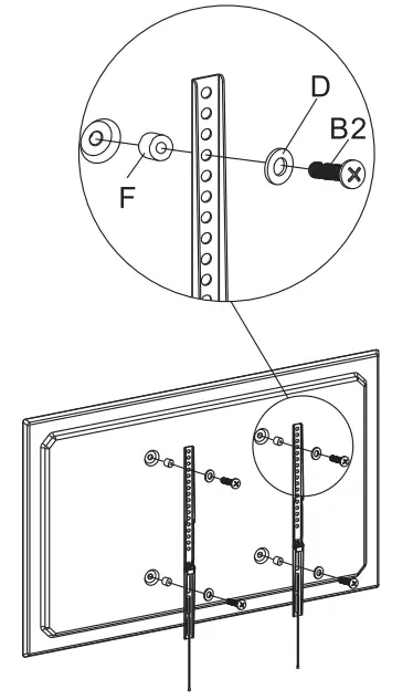
STEP3-A
Attaching Brackets To Screen

For Tvs with a flat back
STEP3-B
For Tvs with a curved back or obstruction

STEP 4
Hang the TV onto the wall plate

Carefully hang the top slot of both brackets over the top edge of the wall plate, ensuring its located securely on both sides before releasing the weight of the TV
- Push firmly on the bottom part of the brackets to lock them securely into place,

- Pull down two strings together to unlock the brackets from the wall plate,then you can take brackets down.

CAUTION
This product contains small items that could be a choking hazard if swallowed Keep these items away from young children
- Make Sure these instructions are read and completely understood before attempting installation If you are unsure of any part of this installation please contact a professional nstaller for assistance
- The wall or mounting surface must be capable of supporting the combined weight of the mount and the display otherwise the structure must be reinforced
- Safety gear and proper tools must be used A minimum of two people are required for this installation Failure to use safety gear can result in property damage .serious injury or death
- Please check joint fastenings every few months and ensure the screws are still securely fastened
This product was designed to be installed on wood stud walls and solid concrete walls.Before installing make sure the wall will support the combined load of the equipment and hardware Never exceed the maximum load capacity 60 KG or else it may result in product failure or personal injury Note this product is intended for indoor use only Use of this product outdoors could lead to product failure or personal injury
Errors and omissions excepted.
Copyright 2019. AVSL Group Ltd
129.157UK User Manual


















