DYBERG LARSEN E27 20W LED Wall Lamp

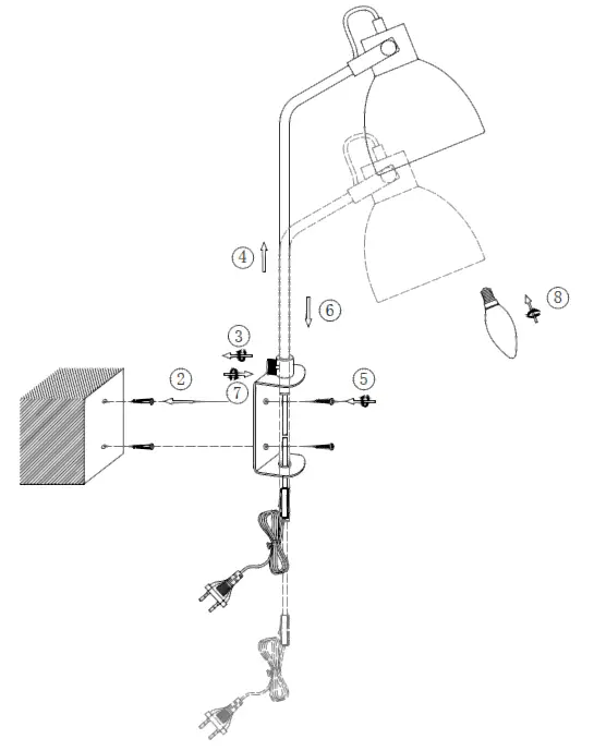
WALL LAMP

IMPORTANT:
- Warning: Always remember to turn off the voltage before working on the electrical installation.
- The lamp might get warm under use.
- To avoid injury on the lamp, please don’t use alkalic detergent. Use a soft cloth and gentle detergent. Always turn the lamp off when cleaning it.
- Omission of cleaning the lamp can have a negative effect on the lifetime. And possible can lead to a dangerous situation.
Changing the bulb
- Turn off the power at the head fuse.
- Screw the defect bulb loose (see drawing).
- Change the bulb(Please only use the recommended type).
- Turn on the power.
230V~50Hz
Contains: Complete lamp (excl. bulb) IP20 only for indoor use


















