LANCOM IN-H180 WiFi Antenna

Preparation for wall- and ceiling mounting
Use the antenna as a drilling template to mark out the drill holes for wall- or suspended ceiling mounting. The horizontal and vertical separation of the adjacent holes is 104 mm. For ceiling mounting, if required, drill a hole into the center of the ceiling board to feed through the connector cables. Alternatively, you can use the integrated cable duct on the
antenna backside to lead the cables sideways.
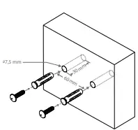
Size of the drill holes
Using the markings as a guide, drill the holes and insert dowels for wall mounting, if appropriate. Depending on the surface material the required size of the holes may vary.
Mounting the antenna
Ceiling board mounting with screws and nuts
Included: 4 thread screws 30 mm, 4 washers, 4 nuts From the frontside, stick the thread screws through the appropriate holes of the antenna housing and the previously drilled holes of the ceiling board. Place the washers on the screws from the backside of the ceiling board. Finally, use the nuts for fixing.
Ceiling mounting with screws and clips

Included: 4 clips, 4 thread screws 15 mm Push the clips into the appropriate slides at the backside of the antenna, so that the clips are placed in line with the holes in the antenna housing. Stick the thread screws through the holes in the antenna housing from the front side and loosely connect the screws to the clips. Now the antenna can be moved onto the existing or additionally mounted metal ceiling t-bars. Finally, tighten the screws for proper fixing.
Wall mounting with screws & dowels
Included: 4 screws, 4 dowels

Place the antenna with its backside at the wall so that the holes in the antenna housing are in line with the previously inserted dowels. Stick the screws through the holes of the antenna housing into the dowels and tighten the screws.
Operating mode 2×2 MIMO & 4×4 MIMO
The antenna can be operated by two Wi-Fi modules. For this, both red marked antenna connectors are connected to the Wi-Fi module which is operating at 2.4 GHz. Both white-marked antenna connectors are connected to the Wi-Fi module which is operating at 5 GHz.
Important information
Responsible handling of high frequency
In order to comply with the protection requirements of EU Directive 2014/53 and EN 62479 with regard to the basic restrictions for the safety of persons in electromagnetic fields and the „FCC Policy on Human Exposure to Radiofrequency Electromagnetic Fields“, it is necessary to configure the correct antenna gain in the WLAN router or WLAN access point.
Electrical and Electronic Equipment Act
Please do not dispose of electrical and electronic waste in household waste, where it cannot be recycled. Make sure that your electrical and electronic waste is disposed of in accordance with the currently valid guidelines of your country.
Correct handling of antenna cables
Antenna cables are sensitive RF cables. When laying them, it is therefore important to ensure that the cables are not kinked and are bent as little as possible, as this can result in losses in terms of antenna performance. Likewise, the antenna cables should not be wound into tight cable loops.
Antenna gain and termination of unused antenna ports on access points
Unused antenna connections on the access point must be terminated with an enclosed rod antenna. For indoor access points, the terminating resistor included with the AirLancer AN-RPSMA-NJ adapter can be used. In addition, the antenna gain must be specified in the configuration of the access point.
TECHNICAL DATA
Technical details IN-H180
- Frequency range 2,400 – 2,500 MHz (red marked connectors),
4,900 – 5,900 MHz (white marked connectors)
Antenna characteristics
- Radiation characteristics horizontally (2.4 GHz): 360° vertically (2.4 GHz): 50° horizontally (5 GHz): 220° vertically (5 GHz): 40°
- Recommended use Room coverage
- VSWR 1.5:1 typ. / 2.0:1 max.
- Gain 2.4 GHz: 3 dBi max. 5 GHz: 5 dBi max.
Mechanical details
- Size 130 x 130 x 45 mm (length x width x height)
- Weight 248 g (antenna without mounting kit)
- Temperature range -10 °C to 55 °C
- Color White
- Material UV-resistant plastic
- Mounting options Ceiling- and wall mounting
- Cables, connectors 6 x 1 m RG178 cable with RPSMA plug
Item
- Warranty 2 years for AirLancer and accessories
- Item number 61250
- Package content Antenna, fastening material for ceiling- and wall mounting, mounting instructions
Antenna patterns

LANCOM, LANCOM Systems, LCOS, LAN community and Hyper Integration are registered trademarks. All other names or descriptions used may be trademarks or registered trademarks of their owners. This document contains statements relating to future products and their attributes. LANCOM Systems reserves the right to change these without notice. No liability for technical errors and/or omissions. 111767 11/22
LANCOM Systems GmbH
Adenauerstr. 20/B2
52146 Wuerselen | Germany
[email protected]
www.lancom-systems.com




















