SERVER 87298 InSeason Seasoning Dispenser
Thank You for purchasing our In Season Dispenser™—
This handheld, lightweight model is customized to dispense precise portions of granular seasonings for consistent taste and texture.
PERFECTLY SEASONED EVERY TIME!
ASSEMBLY
- INSERT TRIGGER ASSEMBLY
With unit upside down on countertop, slide spring end of trigger assembly into side slot.
Smooth side of trigger should face down.
Green trigger sets 0.46 TSP portion size. - INSTALL CLOSER PLATE
Hold closer plate by grasp tab.
Slowly push trigger assembly into unit body.
Ensure spring does not pop loose.
Insert closer plate rim tab into largest interior opening of trigger.
- INSTALL SPREADER
onto unit body, rotating clockwise to tighten. - INSTALL PORTION SHAKER ATTACHMENT
Rotate until it snaps onto spreader edge.
For ease of use, rotate dispensing slots on shaker away from trigger.
- FILL UNIT
Flip unit right-side up and add granular ingredient. - INSTALL LID
onto unit body, rotating clockwise to tighten.
SAFETY
According to food and safety regulations, most foods must be stored and/or served at certain temperatures or they could become hazardous. Check with local food and safety regulators for specific guidelines. Server Products, Inc. cannot be responsible for the serving of potentially hazardous product.
The dispenser is designed for use in high-heat environments, but is not intended for direct contact with heat sources such as griddle surfaces.
IMPORTANT
Clean, rinse, sanitize, and dry parts daily or regularly to comply with local sanitization requirements.
DISASSEMBLY
- REMOVE LID
- EMPTY UNIT
Pour out any remaining ingredient. - REMOVE PORTION SHAKER ATTACHMENT
- REMOVE SPREADER
- REMOVE CLOSER PLATE
Set unit upside down on countertop. Grasp tab of closer plate while holding trigger in.
Pull closer plate up and out of unit. Slowly release trigger to home position, to ensure spring does not pop loose. - REMOVE TRIGGER ASSEMBLY from side slot of unit.
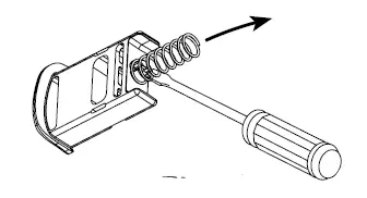
REMOVE SPRING FROM TRIGGER
only if necessary for cleaning.
- Pry off spring with a flathead screwdriver.
- Push straight end of spring out of center groove in circular tab of trigger.

RE-INSTALL SPRING
- Align straight end of spring into center groove in circular tab of trigger.
- Use flathead screwdriver to press down on straight end of spring.
- Snap spring into circular tab of trigger.

CLEANING
- WASH
After disassembly, wash all parts with dishwashing detergent and hot water. - RINSE
Fully rinse all parts thoroughly with clear water. - SANITIZE
all parts according to local sanitization requirements. All parts in contact with food must be sanitized. - AIR DRY
all parts fully before refilling.
Use dishwashing soap and hot water
- Dishwasher safe
- Do not use abrasive, caustic or ammonia based cleansers.
- Do not use cleansing agents with high concentrations of acid, alkaline or chlorine.
- Do not use metal scrapers or cleaning pads that could scratch surfaces.
INDIVIDUAL PARTS

TROUBLESHOOTING
INCONSISTENT PORTIONS?
Heat and moisture can cause ingredients to settle and become packed in.
- Shake unit to dislodge light clumping.
- Ensure ingredients have not become clogged within the unit—Disassemble and inspect.
- Clean unit and air dry fully before refilling.
- Ensure ingredient level is above fill line.
TRIGGER WON’T PUSH IN?
Ensure closer plate is properly installed with rim tab in the largest opening of trigger.
SERVER PRODUCTS LIMITED WARRANTY
This Server product is backed by a two-year limited warranty against defects in materials and workmanship. See Server-Products.com for details.
GENERAL SERVICE, REPAIR OR RETURNS
Before sending any item to Server Products for service, repair, or return, contact Server Products customer service to request a Return Authorization Number. Merchandise must be sent to Server Products with this number. Service is extremely prompt. Typically, units are repaired and ship out within 48 hours of receipt.
Merchandise being returned for credit must be in new and unused condition and not more than 90 days old and will be subject to a 20% restocking charge.
NEED HELP?
Server Products Inc.
3601 Pleasant Hill Road Richfield, WI 53076 USA
Chat with us!
[email protected]
262.628.5600 | 800.558.8722
Please be prepared with your Model, P/N and Series located on the lid or base of the unit.

Green trigger sets 0.46 TSP portion size.






















