CP electronics GESM Green-i Surface Mounted PIR Movement Sensor
Product Information
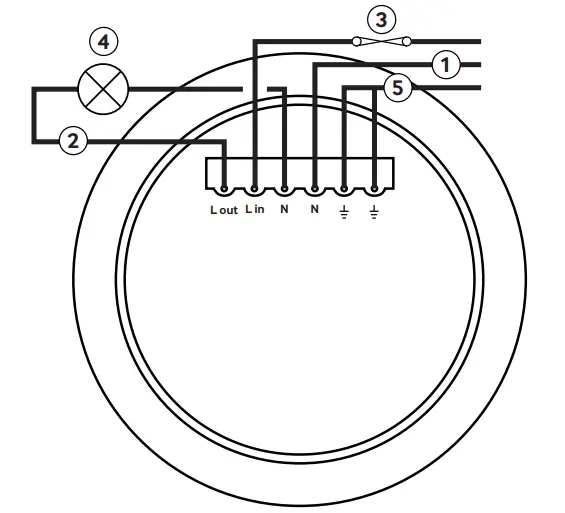
The WD501 is a high sensitivity low device designed to be surface ceiling-mounted. The device is equipped with a mounting plate and an optional gasket that can be used for installation. It features five terminals for wiring, including Neutral, Live, 10A circuit protection (if required), Load, and Earth. The device should be installed by a qualified electrician in accordance with the latest edition of the IET wiring regulations.
GESM
Basic switching, push button, IP54, ceiling, surface mounted, PIR, occupancy sensor
Warning: This device should be installed by a qualified electrician in accordance with the latest edition of the IET wiring regulations.
Dimensions (mm)

Detection pattern

Wiring

Key
- Neutral
- Live
- 10A circuit protection if required
- Load
- Earth
Installation
This device is designed to be surface ceiling-mounted.
- Do not site the unit where direct sunlight might enter the sensor.
- Do not site the sensor within 1m of any lighting, forced air heating or ventilation.
- Do not fix the sensor to an unstable or vibrating surface.
- Install mounting plate: Screw the Mounting plate and optional Gasket to the ceiling via the four mounting holes.
Note: Two holes are suitable for BESA boxes, two are suitable for UK or EU 60mm fixing backboxes. - Wire location – Rear entry: Pass cable through gasket (optional) and mounting plate.

- Wire location – Side entry: Pass cable through either of the two side entry points in the mounting plate. Knock-outs are on the sensor head to allow for clearing side entry of conduit and / or cables.

- Wire in terminals: Wire cables into terminals using required wiring diagram.

- Attach sensor to plate: Push the sensor head onto the mounting plate and align clips with slots on sensor head.

- Removing sensor head: To remove the sensor head, use a flat head screwdriver to prise it off the mounting plate.

Testing
Presence Detection
- Power up the sensor. The load should come on immediately.
- Press the Lux button quickly 5 times to set once to set it to minimum.

- Vacate the room or remain very still and wait for the load to switch off (this should take less than 2 minutes).
- Enter the room or make some movement and check that the load switches on.

To find the current Lux and Time settings
Press and hold the Lux button
for more than 3 seconds. The number of LED flashes indicates the setting:
| # Flashes | Light |
| 1 | Minimum |
| 2 – 4 | Increasing level |
| 5 | Maximum (always on) |
Press and hold the Time button
for more than 3 seconds. The number of LED flashes indicates the setting:
| # Flashes | Time |
| 1 | 10 seconds |
| 2 | 5 minutes |
| 3 | 10 minutes |
| 4 | 20 minutes |
| 5 | 30 minutes |
To switch lights on when presence detected depending on natural light level
- Wait until the level of daylight is just low enough that lighting is needed.
- Press the Lux button once to set it to minimum.
- If the lights don’t come on, press the Lux button twice. Repeat this with 3 or 4 presses until the lights come on.
- Pressing the button 5 times sets the level to maximum and the lights will always come on with occupancy.
To lock the programmed settings
Press and hold either button
or
for more than 10 seconds to toggle between lock and unlock. This locks the sensor if the LED lights up while pressing the button. This unlocks the sensor if the LED doesn’t light up but flashes once after 10 seconds.
Technical Data

CP Electronics
Brent Crescent, London NW10 7XR
t. +44 (0)333 900 0671
[email protected]
www.cpelectronics.co.uk
Due to our policy of continual product improvement CP Electronics reserves the right to alter the specification of this product without prior notice.


Note: Two holes are suitable for BESA boxes, two are suitable for UK or EU 60mm fixing backboxes.























