KunHong PWFM5001 Car Charger with Bluetooth and FM Transmitter

Product Information: FM Transmitter with Bluetooth and USB Charging
The FM Transmitter with Bluetooth and USB Charging is a device that allows you to play audio from your mobile device through your car’s speakers. It features Bluetooth connectivity for wireless audio streaming, an AUX input port for wired audio connections, and a USB port for charging mobile devices. The FM transmitter can be powered through your car’s 12V power outlet and has a built-in fuse to protect against power surges. It also has an indicator LED to show when it is receiving power and in use. The device can be used to make hands-free calls and control music playback from your mobile device.
Product Usage Instructions
To use the FM Transmitter with Bluetooth and USB Charging, follow the instructions below:
- Insert the FM transmitter into your car’s 12V power outlet.
- Start your vehicle. The FM transmitter’s LED indicator will illuminate when it is receiving power.
- Slide the FM transmitter switch to the ON position.
- If using Bluetooth mode, make sure your mobile device’s Bluetooth is turned on and search for available devices. Select “FM Transmitter” to initiate pairing. If using AUX input mode, connect your mobile device to the FM transmitter’s AUX input port using a 3.5mm AUX cable (not included).
- Adjust the FM transmitter’s frequency to match your car’s radio channel.
- Play audio from your mobile device and adjust the volume as needed using your car’s controls or the FM transmitter’s controls.
Note that if you experience interference from stronger FM broadcasts in the area, you may need to switch to a different frequency. If you encounter issues with the device, refer to the troubleshooting section of the user manual for solutions.
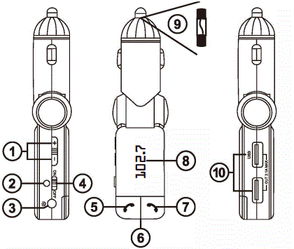
FEATURES
- Volume up/down; CH+/CH-
- Power indicator LED
- 3.5mm AUX port
- FM transmitter ON/OFF switch
- Answer/redial/play/pause
- Microphone
- Hang up/frequency channel setup
- LED display window
- Replaceable 2A/250V glass fuse
- Two USB charging ports 5V/2.1A (max output; 2.4V max shared)
SETTING FM FREQUENCY CHANNEL
(88.1-107.9MHz)
- Insert the FM transmitter into the vehicle’s 12V power outlet.
- Start the vehicle. The FM transmitter’s indicator LED will illuminate when powered.
- . Slide the FM transmitter switch to the ON position.
- Long press the + and – buttons together until the frequency display flashes.
- Once the FM frequency flashes in the display window, short press + or – button to move up or down FM frequency channels. To quickly scroll through the channels, press and hold the+ or – button.
- Set the FM transmitter’s frequency to an unused or weak channel. Long press the + and – buttons together until the frequency display stops flashing.
- Set the vehicle’s radio frequency to the same channel as the FM transmitter.
Note: When traveling, you may need to switch to a different frequency if your selected channel experiences interference from stronger FM broadcasts in the area.
CONNECTING A MOBILE DEVICE
Bluetooth mode (wireless)
Pair to a mobile device
- Insert the FM transmitter into the vehicle’s 12V power outlet.
- Start the vehicle. The FM transmitter’s indicator LED will illuminate when powered.
- Slide the FM transmitter switch to the ON position and make sure the frequency shown in the display window matches the vehicle’s radio channel.
- On your mobile device, open the Bluetooth function.
- Search for and select “FM Transmitter” to initiate pairing.
Note: Bluetooth pairing and operation varies based on the brand of your mobile device. Some devices may not support automatic connection if they
are turned on after a power failure. If that occurs, pair your device to the FM transmitter _ again.
AUX input mode (wired)
- Insert the FM transmitter into the vehicle’s 12V power outlet.
- Start the vehicle. The FM transmitter’s indicator LED will illuminate when powered.
- Slide the FM transmitter switch to the ON position and make sure the frequency shown in the display window matches the vehicle’s radio channel.
- Connect a 3.5mn-enabled mobile device to the FM transmitter’s AUX input port using a 3.5mm AUX cable (not included).
Toggle between AUX input and Bluetooth modes
- The FM transmitter supports background audio play when using AUX input mode.
- When in AUX input mode, the FM transmitter will automatically switch to Bluetooth mode when a prompt tone sounds.
- To return to AUX input mode, disconnect and then connect the 3.5mm cable.
PHONE CONTROLS
Make a call
- Dial the number on your mobile phone as usual.
- When your vehicle’s radio and the FM transmitter are on the same frequency channel, audio will be heard through your car’s speaker system.
Answerlend call
- Press the green handset button to answer an incoming
- Press the red handset button to end the call.
Reject incoming call
- Press the red handset button to reject an incoming call.
Toggle between phone and FM transmitter microphones
- Press the green handset button to switch between your mobile phone’s microphone and the FM transmitter’s microphone.
AUDIO CONTROLS
Play/pause
- Press the green handset button to play or pause audio.
Next track/previous track
- Press the + button to skip forward to the next track.
- Press the – button to skip backwards to the previous track.
Note: Some mobile phones may not support the next/previous track function.
Volume up/down
- Adjust the volume using the FM transmitter’s +/- button or the vehicle’s audio controls.
USB CHARGING
- Connect up to two devices to the USB ports using compatible USB charging cables (not included).
- If the charger is receiving power, the red indicator LED will illuminate and the connected devices will charge.
Note: The FM transmitter switch does not need to be the ON position to chargee mobile devices.
CLEANING
- Remove FM transmitter from the vehicle’s power socket.
- Wipe clean with a soft, dry cloth. Do not use any chemicals or abrasive products, as these will scratch the surface of the FM transmitter.
REPLACING THE FUSE 
- In a counterclockwise motion, twist the plastic tip of the DC plug. Remove it and the metal contact to access the fuse.
- Remove the damaged fuse and insert a new 2A/250V glass fuse.
- Replace the plug metal contact and plastic tip, then twist the plastic tip clockwise to tighten.
warning
- USE ONLY IN ACCORDANCE WITH THE MANUFACTURER’S INSTRUCTIONS.
- DO NOT USE OR STORE IN WET, DUSTY OR HOT ENVIRONMENTS.
- DO NOT IMMERSE IN WATER OR ALLOW LIQUIDS TO COME INTO CONTACT WITH THE PRODUCT.
- DO NOT OPERATE WITH WET HANDS.
- DO NOT USE NEAR-FLAMMABLE SUBSTANCES.
- AVOID DROPPING THE PRODUCT TO PREVENT DAMAGE.
- OPERATE AND STORE IN A COL ENVIRONMENT. AMBIENT AIR TEMPERATURE SHOULD BE BETWEEN
32- 77’F C0-25’Cl. KEEP THE PRODUCT AWAY FROM DIRECT SUNLIGHT WHEN POSSIBLE. - DO NOT INSTALL OR NAVIGATE THE PRODUCT WHILE DRIVING.
FCC STATEMENT
This device complies with part 15 of the FCC and Industry Canada license-exempt RSS standards (s).
Operation is subject to the following two conditions:
- this device may not use harmful interference, and
- this devices must accept any interference received, including interference that may use undesired operation.
FCC NOTE: The manufacturer is not responsible for any radio or TV interference caused by unauthorized modifications to this equipment. Such modifications could void the user’s authority to operate the equipment.
This equipment complies with FCC radiation exposure limits set forth for an uncontrolled environment. This equipment should be installed and operated with a minimum distance of 20cm between the radiator & your body.
NOTE: This equipment has been tested and found to comply with the limits for a Class B digital device, pursuant to Part 15 of the FCC rules. These limits are designed to provide reasonable protection against harmful interference in a residential installation. This equipment generates, uses, and can radiate radio frequency enegy and, if not installed and used in accordance with the instructions, may cause harmful interference to radio communications. however, there is no guarantee interference will not occur in a particular installation. If this equipment does use harmful intense to radio or television reception, which is determined by turning the equipment off and on, the user is encouraged to try to correct the interference by one more of the following measures:
- Reorient or relocate the receiving antenna.
- Increase the separation between the equipment and the reciverr.
- connect the equipment to an outlet a circuit different from that to which the receiver is connected.
- Consult the dealer or an experienced radio TV technician for help.
CAN ICES-3(B)/NMB-3(B)
TROUBLESHOOTING
Music is not playing through the vehicle’s speakers
- Wireless connection: Make sure the FM transmitter and your mobile device
Bluetooth is turned on and paired. If your device is no longer paired with the FM transmitter, see the device again. - Wired connection: If connected through a 3.5mm cable, disconnect and reconnect the cable.
Indicator LED is not lit when powered.
If the vehicle is turned on and the FM transmitter’s indicator LED is not lit, check the FM transmitter’s fuse and replace if necessary.See Replacing the Fuse” section. If the fuse is fine, check your vehicle’s DC power outlet fuse and replace it if necessary.
When connected via Bluetooth, my MP3 player’s controls are not working
This FM transmitter’s Bluetooth connection only controls applications on mobile devices that support AVRCP remote controls. If your device does not support AVRCP, connect your device to the FM transmitter’s 3.5mm AUX using a 3.5mm cable (not included).
SPECIFICATIONS





















