Juniper Mist AP24 Wireless and WiFi Access Points

AP24 Hardware Installation
Overview
The Mist AP24 contains three IEEE 802.11ax radios that deliver 2×2 MIMO with two spatial streams when operating in multi-user (MU) or single-user (SU) mode. The AP24 is capable of operating simultaneously in the 6GHz band, 5GHz band, and 2.4GHz band or two bands and a dedicated tri-band scan radio.
I/O ports

AP24 Mounting
APBR-U Mounting box options

| Reset | Reset to the factory default settings |
| USB | USB2.0 support interface |
| Eth0+PoE | 100/1000/2500/5000BASE-T RJ45 interface that supports 802.3at/802.3bt PoE PD |
In a wall mount installation, please use screws that have a 1/4in. (6.3mm) diameter head with a length at least 2 in. (50.8mm).
APBR-U that is in the AP24 box includes a set screw and an eyehook.
Mounting to a 9/16 inch or 15/16 inch T-bar

Step 1.
Mount APBR-U to the t-bar
Step2.
Rotate APBR-U to lock to the t-bar
Step3.
Slide the AP with shoulder screws on the APBR
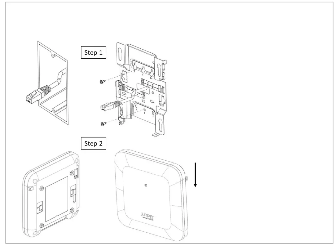
US single gang, 3.5 or 4 inch round junction box

Step 1 Mount APBR-U to the box using two screws and the #1 holes. Make sure Ethernet cable extends thru the bracket .
Step 2 Slide the AP with shoulder screws on the APBR-U until the lock is engaged
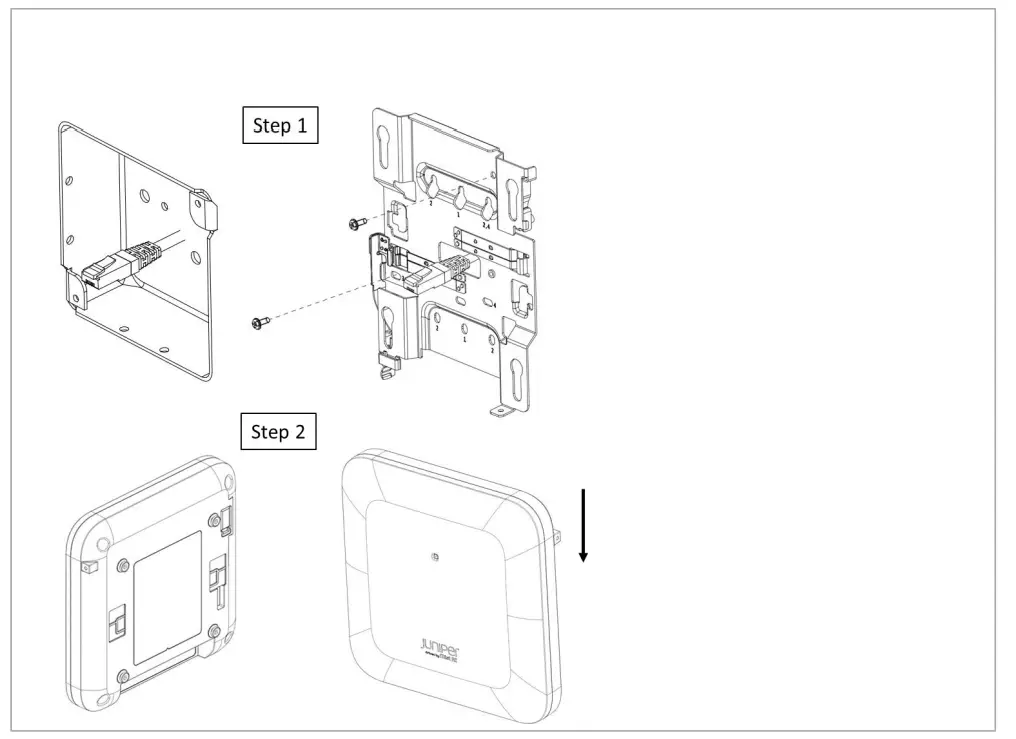
US double gang junction box

Step 1
Mount APBR-U to the box using two screws and the #2 holes. Make sure Ethernet cable extends thru the bracket.
Step 2
Slide the AP with shoulder screws on the APBR-U until the lock is engaged
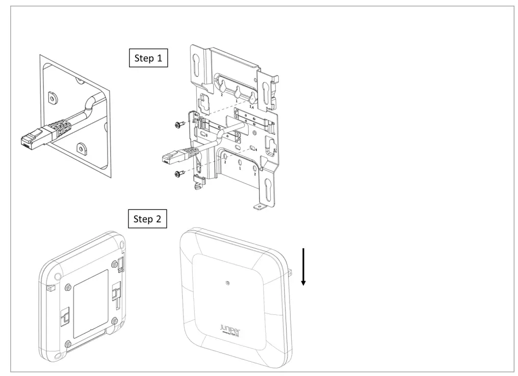
US 4 inch square junction box

Step 1 Mount APBR-U to the box using two screws and the #3 holes. Make sure Ethernet cable extends thru the bracket.
Step 2 Slide the AP with shoulder screws on the APBR-U until the lock is engaged
EU junction box

Step 1
Mount APBR-U to the box using two screws and the #4 holes. Make sure Ethernet cable extends thru the bracket.
Step 2
Slide the AP with shoulder screws on the APBR-U until the lock is engaged
Recessed 15/16 inch T-bar

Step 1
Mount the APBR-ADP-RTlS to the t -bar
Step 2
Mount the APBR-U to the APBR-ADP-RTlS. Rotate the APBR-U to lock to the APBRADP- RTlS
Step 3
Slide the AP with shoulder screws on the APBR-U until the lock is engaged
Recessed 9/16 inch T-bar or channel rail

Step 1
Mount the APBR-ADP-CR9 to the t-bar
Step 2
Mount the APBR-U to the APBR-ADP-CR9. Rotate the APBR-U to lock to the APBRADP- CR9
Step 3
Slide the AP with shoulder screws on the APBR-U until the lock is engaged
1.5 inch T-bar

Step 1
Mount the APBR-ADP-WS15 to the t-ba r
Step 2
Mount the APBR-U to the APBR-ADP-WS15. Rotate the APBR-U to lock to the APBR-ADP-WS15
Step 3
Slide the AP with shoulder screws on the APBR-U until the lock is engaged
Threaded rod adapter (1/2″, 5/8″, or M 16)

Step 1
Install the APBR-ADP-T12 to the APBR-U. Rotate to lock.
Step 2
Secure the APBR-ADP-T12 to the APBR-U with the provided screw
Step 3
Install the bracket assembly to the 1/2″ threaded rod and secure with the provided lock washer and nut.
Step 4
Slide the AP with shoulder screws on the APBR-U until the lock is engaged The same instructions work for the APBR-ADP-T58 or APBR-ADP-M16
The threaded rod adapter attaches to a rod that is either 1/2″-13, 5/8”-11, or M16-2.
Technical Specifications:
| Feature | Description |
| Power options | 802.3at/802.3bt PoE |
| Dimensions | 185mm x 185mm x 39mm (7.28in x 7.28in x 1.54in) |
| Weight | AP24: 0.75 kg (1.65 lbs) |
| Operating temperature | AP24: 0° to 40° C |
| Operating humidity | 10% to 90% maximum relative humidity, non-condensing |
| Operating altitude | 3,048m (10,000 ft) |
| Electromagnetic emissions | FCC Part 15 Class B |
| I/O | 1 – 100/1000/2500BASE-T auto-sensing RJ-45 with PoE USB2.0 |
| RF | 2.4GHz or 6GHz – 2×2:2SS 802.11ax MU-MIMO & SU-MIMO 5GHz – 2×2:2SS 802.11ax MU-MIMO & SU-MIMO 2GHz 2×2:2SS 802.11ax MU-MIMO & SU-MIMO or 1×1: 1SS 802.11ax 2.4GHz/5GHz/6GHz scan 2.4GHz BLE/Zigbee/Thread with Omni Antenna |
| Maximum PHY rate | Total maximum PHY rate – 4200 Mbps 6GHz – 2400 Mbps 5GHz – 1200 Mbps 2.4GHz – 600 Mbps |
| Indicators | Multi-color status LED |
| Safety standards | UL 62368-1 CAN/CSA-C22.2 No. 62368-1-14 UL 2043 ICES-003:2020 Issue 7, Class B (Canada) |
Suitable for use in environmental air space in accordance with Section 300-22(C) of the National Electrical Code, and Sections 2-128, 12-010(3), and 12-100 of the Canadian Electrical Code, Part 1, CSA C22.1
Warranty Information
The AP24 family of Access Points comes with a limited lifetime warranty.
Ordering Information:
Access Points
| AP24-US | 802.11ax 6E 2+2+2 – Internal Antenna for the US Regulatory domain |
| AP24-WW | 802.11ax 6E 2+2+2 – Internal Antenna for the WW Regulatory domain |
Mounting brackets
| APBR-U | Universal AP Bracket for T-Rail and Drywall mounting for Indoor Access Points |
| APBR-ADP-T58 | Adapter for 5/8-inch threaded rod bracket |
| APBR-ADP-M16 | Adapter for 16mm threaded rod bracket |
| APBR-ADP-T12 | Adapter for 1/2-inch threaded rod bracket |
| APBR-ADP-CR9 | Adapter for channel rail and recessed 9/16” t-rail |
| APBR-ADP-RT15 | Adapter for recessed 15/16″ t-rail |
| APBR-ADP-WS15 | Adapter for recessed 1.5″ t-rail |
Power supply options
802.3 at or 802.3bt PoE power
Regulatory Compliance Information
This product and all interconnected equipment must be installed indoors within the same building, including the associated LAN connections as defined by the 802.3at Standard.
Operations in the 5.15GHz – 5.35GHz band are restricted to indoor usage only.
If you need further assistance with purchasing the power source, please contact Juniper Networks, Inc.
FCC Requirement for Operation in the United States of America
FCC Part 15.247, 15.407, 15.107, and 15.109
FCC Guideline for Human Exposure
This equipment complies with FCC radiation exposure limits set forth for an uncontrolled environment. This equipment should be installed and operated with minimum distance between the radiator & your body; AP24 – 20cm
This device complies with Part 15 of the FCC Rules. Operation is subject to the following two conditions: (1) This device may not cause harmful interference, and (2) this device must accept any interference received, including interference that may cause undesired operation.
This equipment has been tested and found to comply with the limits for a Class B digital device, pursuant to Part 15 of the FCC Rules. These limits are designed to provide reasonable protection against harmful interference in a residential installation. This equipment generates, uses and can radiate radio frequency energy and, if not installed and used in accordance with the instructions, may cause harmful interference to radio communications. However, there is no guarantee that interference will not occur in a particular installation. If this equipment does cause harmful interference to radio or television reception, which can be determined by turning the equipment off and on, the user is encouraged to try to correct the interference by one of the following measures:
- Reorient or relocate the receiving antenna.
- Increase the separation between the equipment and receiver.
- Connect the equipment into an outlet on a circuit different from that to which the receiver is connected.
- Consult the dealer or an experienced radio/TV technician for help.
FCC Caution
- Any changes or modifications not expressly approved by the party responsible for compliance could void the user’s authority to operate this equipment.
- This transmitter must not be co-located or operating in conjunction with any other antenna or transmitter.
- For operation within 5.15 ~ 5.25GHz / 5.47 ~5.725GHz / 5.925 ~ 7.125GHz frequency range, it is restricted to indoor environment.
- The 5.925 ~ 7.125GHz operation of this device is prohibited on oil platforms, cars, trains, boats, and aircraft, except that operation of this device is permitted in large aircraft while flying above 10,000 feet.
- Operation of transmitters in the 5.925-7.125 GHz band is prohibited for control of or Communications with unmanned aircraft systems.
Industry Canada
This device contains license-exempt transmitter(s)/receiver(s) that comply with Innovation, Science and Economic Development Canada’s license-exempt RSS(s).
Operation is subject to the following two conditions: (1) This device may not cause harmful interference, and (2) this device must accept any interference received, including interference that may cause undesired operation.
Caution
(i) The device for operation in the band 5150-5250 MHz is only for indoor use to reduce the potential for harmful interference to co-channel mobile satellite systems;
(ii) The maximum antenna gain permitted for devices in the bands 5250-5350 MHz and 5470-5725 MHz shall be such that the equipment still complies with the e.i.r.p. limit;
(iii) The maximum antenna gain permitted for devices in the band 5725-5850 MHz shall be such that the equipment still complies with the e.i.r.p. limits specified for pointto-point and non-point-to-point operation as appropriate; and
(iv) Operation shall be limited to indoor use only.
(v) Operation on oil platforms, automobiles, trains, maritime vessels and aircraft shall be prohibited except for on large aircraft flying above 3,048 m (10,000 ft).
Radiation Exposure Statement
This equipment complies with IC RSS-102 radiation exposure limits set forth for an uncontrolled environment. This equipment should be installed and operated with minimum distance 20cm (AP24) between the radiator & your body
AP24 Hardware Installation Guide
Juniper Networks (C) Copyright 2022-2023. All Rights Reserved.



















