LiGHTPRO Barite 60 111P Professional Outdoor Light

Read the safety instructions carefully and follow the advice. Keep these instructions in case you need them later.
The product you just have bought complies to all european and national qualifications with respect to the specified LVD (Low Voltage Directive) and Electro Magnetic Compatibilty (EMC) (89/336/EEG)
SPECIFICATIONS
- Product: Barite 60
- Article number: 111P
- Power: 3W AC/DC 12V
- Luminous flux: 230 lm
- Light colour: 3.000K
- Average lifetime: 25.000
- On/off: 10.000
- Dimensions: (h x Ø) 575 x 65 mm
- Protection class: IP44
- Ambient temperature: -20 °C to 50 °C
- Cable length: 1m
- Dimmable: No
- Light source: Replaceable
PACKAGING CONTENT

- Fixture Barite 60
- Ground spike
- Screw
- Screw
- Plug
- Lightpro connector
- Hex key
Check if all parts are present in the packaging. For questions about parts, service, and any complaints or other remarks, you can always contact us. E-mail: [email protected].
INSTALLATION
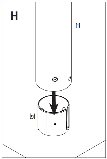
- Remove the screws [8] from the fixture [1] using the included hex key [7].

- Remove the base [9] from the fixture [1].

- OPTION 1: Placement in the ground

Fasten the spikes [2] to the base [9] with the included screws [3]. - Place the base [9] in the fixture [1].

- Put the screws [8] back in the fixture using the hex key [7]. Place the fixture in the ground.

- OPTION 2: Placement on a fixed underground

Mount the base [9] on the underground using the included screws [4].
If necessary, drill holes in advance and use the included plugs [5] - Place the fixture [1] on the base [9].

- Put the screws [8] back in the fixture using the hex key [7].

REPLACEABLE LIGHT SOURCE
Proceed as follows in order to install or change the light source:
- Turn the power off.
- Let the light source cool down for at least 5 minutes.
- Replace the light source, bearing the following points in mind:
- Only replace the light source by an identical model with the same specifications.
- When (re)assembling, ensure that the parts are dry and clean.
- Turn the power back on.
Proceed as follows if the lamps do not light after you have followed the above instructions:
- Turn the power off.
- Check whether all plugs have been connected properly.
- Check the light source(s) and replace them if necessary.
- Check the transformer and the fuse (if applicable, and have them circuit-tested if necessary).
- Check whether cables have been damaged.
- Turn the power back on.
INSTALLATION OF THE LIGHTS
- Install the products in the desired position and lay the cables so they can be comfortably connected to the transformer or main cable.
- If products are provided with a drain hole for water, this hole must be pointing downwards.
- Use non-corrosive fixing materials (supplied as standard) if you want to bolt the products down.
- Connect the lights to the main cable by using the connector as shown in figure on page 5.
- Consult the manual of your transformer for more information.
SAFETY
- Always fit this product so that it can still be accessed for servicing or maintenance. This product must not be permanently embedded or bricked in.
- Turn off the system by pulling the plug of the transformer from the socket for maintenance.
- Regularly clean the product with a soft, clean cloth. Avoid abrasives that can damage the surface.
- Clean products with stainless steel parts with a stainless steel cleaning agent once per six months.
- Do not use a high pressure washer or aggressive chemical cleaning agents when cleaning the product. This can cause irreparable damage.
- Protection class III: this product may only be connected to safety extra-low voltage up to a maximum of 12 Volt.
- This product is suitable for outside temperatures of: -20 to 50 °C.
- Do not use this product in areas where combustible gases, fumes or liquids may be stored.
ABOUT COMPANY
- The product meets the requirements of the applicable EC, UK and EAEU guidelines.
- For questions about parts, service, any complaints or other matters, you can contact us at any time. E-mail: [email protected]
- Discarded electrical equipment must not be put in the household waste. If possible, take it to a recycling company. For details of recycling, contact a municipal waste processing company or your dealer.
- 5 year warranty – visit our website at lightpro.nl for warranty conditions.



























