Honeywell 6424 Projected Beam Smoke Detector User Manual
GENERAL
The System Sensor Model 6424 Beam Detector is ideal to meet the unique fire protection challenge of atriums and other open areas with high ceilings.
The System Sensor Model 6424 Beam Detector is designed for four-wire, 24 VDC applications.
This stylish, two-component infrared detector consists of a separate transmitter and receiver. Together they can protect a linear distance from 30′ to 330′. Multiple units spaced between 30 and 60 feet apart can be used to cover larger areas. If 95% or more of the beam is blocked, a trouble condition is signaled. This blockage must be removed before the unit can reset itself and return to normal.
FEATURES
- Unique LED alignment technique makes setup fast and easy.
- Four LEDs on the front of the receiver provide positive visual indication of maximum signal strength.
- No special meters or alignment tools are necessary.
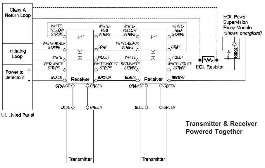
- Receiver and transmitter can be powered separately or together.
- Detects a broad range of fires.
- Ceiling and wall mount brackets included.
- Calibrated test filters included.
- Form A (Alarm) and B (Trouble) contacts.
- Remote test station option.
- Three-year warranty.
APPLICATIONS
The System Sensor Model 6424 Beam Detector is particularly well suited for use in atriums, ballrooms, churches, warehouses, museums, factories, and other large or highceiling areas where conventional smoke detectors cannot be easily installed.
CONSTRUCTION & OPERATION
The two-component System Sensor Model 6424 detector consists of a separate infrared transmitter and receiver. The units mount on opposite walls or on the ceiling across from each other and are designed to detect any smoke in a linear distance from 30′ to 330′. Since both absorption and scattering of the beamfis infrared light is detected as a reduction in signal, the System Sensor Model 6424 works well on both smoldering and fast-flaming fires.


System Sensors unique LED alignment technique assures the fast and easy setup. No special meters or alignment tools are necessary. Four LEDs on the front of the receiver provide all the help needed to lock transmitter and receiver together for maximum signal strength and protection.
A built-in automatic gain control compensates for the gradual deterioration of signal strength from dust accumulation, component aging and temperature fluctuations. The receiver and transmitter can be powered separately or together for maximum flexibility in installation. Sensitivity selectable at 30% or 55% Total Obscuration. There is also a choice of test filters to allow convenient checking of detector sensitivity under varying conditions. Operating temperature range is -22°F to 131°F (-30°C to 55°C). For further information, see Guide for Proper Use of Beam Smoke Detectors, document I56-506-00.
PRODUCT LINE INFORMATION
- Model :Description
- 6424 :Projected Beam Smoke Detector.
- RTS451 :Remote Test Station.
- RA400Z :Remote Annunciator.
- A77-716B :End-of-Line Relay, 24 VDC.
This document is not intended to be used for installation purposes. We try to keep our product information up-to-date and accurate. We cannot cover all specific applications or anticipate all requirements. All specifications are subject to change without notice. For more information, contact Fire Lite. Phone: (203) 484-7161 FAX: (203) 484-7118 12 Clintonville Road, Northford, Connecticut 06472
ISO-9001
Engineering and Manufacturing Quality System Certified to International Standard ISO-9001

Made in the U.S.A.
SPECIFICATIONS
Operational
Range: 30′ to 330′ (length).
Smoke detector spacing: On smooth ceilings, 60′ between projected beams and not more than one-half that spacing between a projected beam and a sidewall. Other spacing may be used depending on ceiling height, airflow characteristics, and response requirements. See NFPA 72 A-5-3.5.5.2.
Sensitivity: 30% ± 5% total obscuration OR 55% ± 5% total obscuration.
Fault condition (Trouble): 95% or more obscuration; automatic gain control limit; improper initial alignment.
Test/Reset features: Obscuration filter; local reset switch; remote test and reset switch capability (compatible with RTS451 test station).
ALARM Local red LED
TROUBLE Local amber LED
NORMAL Local flashing green LED
Alignment aid: Integral signal strength indication (4 red LEDs).
Relays: Alarm, Trouble. EOL relay is required to supervise power.
Environmental
Temperature: -30°C to 55°C (-22°F to 131°F).
Humidity: 95% RH non-condensing.
Mechanical
Dimensions: With no bracket, 2.5″H x 8.5″W x 7″D.
With ceiling mount bracket, 5.5″H x 8.5″W x 7″D. With wall mount bracket, 5.5″H x 8.5″W x 10″D.
Weight: Receiver, 1.5 lb. (663 g). Transmitter, 1.3 lb. (598 g).
Mounting: Separate ceiling and wall brackets.
Wiring: Plug with attached cable.
Electrical (Receiver)
- Voltage: 20 to 32 VDC.
- Maximum ripple voltage: 30% of nominal (peak to peak). Current (24 VDC):
- Standby: 10.0 mA maximum.
- Alarm: 28.4 mA maximum.
- Trouble: 27.1 mA maximum.
- Start-up surge: 19.0 mA maximum.
- Relay contacts: 0.5 A at 30 VAC/DC.
- Reset time: 0.6 seconds maximum.
- Start-up time: 1 minute maximum (after 5 minute reset).
- Power loss: Retain memory for 5 minute minimum.
Electrical (Transmitter)
Voltage: 18.8 to 32.0 VDC.
Maximum ripple voltage: 30% of nominal (peak to peak).
Current (24 VDC, standby and alarm): 10.0 mA max.
ENGINEERING SPECIFICATIONS
The projected beam type smoke detector shall be a 4-wire 24 VDC device to be used with UL listed separately supplied four-wire control panels only. Unit shall be listed to
UL 268 and shall consist of a separate transmitter and receiver capable of being powered separately or together.
The detector shall operate in either a short range (30′ – 100′) or long range (100′ – 330′) mode. The temperature range of the beam shall be -22°F to 131°F. The detector shall feature a bank of four alignment LEDs on both the receiver and transmitter that are used to ensure proper alignment of unit without special tools. Beam detector shall feature automatic gain control which will compensate for gradual signal deterioration from dirt accumulation on lenses. Unit shall include both ceiling and wall mounting brackets. Testing shall be carried out using calibrated test filters or magnet activated remote test station
WIRING DIAGRAMS

6424 Remote Outputs
Remote Test Station Connection
WIRING DIAGRAMS, continued


MOUNTING DIAGRAMS

REAR VIEWS SHOWING SWITCHES AND CABLES
Page 4 of 4 DF-50934
Technical Manuals Online! – http://www.tech-man.com



















