Thermador PRD364WLGU-2 36 Inch Smart Freestanding Dual Fuel Range Instructions
Instruction

| Position ID | Part number. | Replaces: | Description |
| 0301 | 10004490 | Burner cap | |
| 0302 | 10004489 | Burner cap | |
| 0303 | 10004493 | Burner | |
| 0304 | 10004492 | Burner | |
| 0305 | 10004495 | Venturi nozzle | |
| 0306 | 10006471 | Electrode | |
| 0307 | 10008211 | Screw | |
| 0308 | 10004498 | Burner housing | |
| 0309 | 10004497 | Burner housing | |
| 0310 | 10004531 | Screw | |
| 0311 | 10006793 | Jet | |
| 0312 | 10006797 | Jet | |
| 0313 | 12007259 | Ignition device | |
| 0314 | 00701902 | Rail | |
| 0315 | 10006795 | Jet | |
| 0316 | 11013687 | Hob top | |
| 0317 | 10008221 | Heat shield | |
| 8042 | 18037395 | Installation instructions |

| Position ID | Part number. | Replaces: | Description |
| 1001 | 00145306 | Grill grid | |
| 1002 | 00637940 | Grate Foot Replacement Kit | |
| 1004 | 00774617 | 36” Telescopic Rack | |
| 1005 | 11013689 | Grill tray | |
| 1006 | 00484628 | 00449757 | Tray for Broiler Pan |
| 1007 | 10010207 | Bracket | |
| 1008 | 12022200 | Sensor | |
| 8042 | 18037395 | Installation instructions |

| Position ID | Part number. | Replaces: | Description |
| 0903 | 10010275 | Screw | |
| 0905 | 10011397 | Handle-cap shaped | |
| 0906 | 11032802 | Handle-door | |
| 0907 | 10011397 | Handle-cap shaped | |
| 0908 | 10010271 | Plate | |
| 0909 | 10010274 | Screw | |
| 0910 | 10008228 | Screw | |
| 0911 | 11032545 | Hinge | |
| 0912 | 00618862 | Screw | |
| 8042 | 18037395 | Installation instructions | |
| 0901 | 20000155 | Door-outer | |
| 0902 | 20000156 | Door-inner |

| Position ID | Part number. | Replaces: | Description |
| 0601 | 11032521 | Control module programmed | |
| 0601 | 12025831 | Control module not programmed | |
| 0602 | 00418283 | Support | |
| 0603 | 12028138 | Limiter-temperature | |
| 0606 | 10005470 | Control module | |
| 0607 | 00489194 | Transformer | |
| 0608 | 10008933 | Clip | |
| 0609 | 10010202 | Clip | |
| 0610 | 10008207 | Ignition cable | |
| 0611 | 12024415 | Ignition cable | |
| 0612 | 12026846 | Cable harness | |
| 0613 | 12028510 | Cable harness | |
| 0615 | 12026845 | Cable harness | |
| 0616 | 12028077 | Cable harness set | |
| 0617 | 12026925 | Cable harness | |
| 0620 | 11032800 | Cable harness | |
| 0621 | 12028509 | Cable harness | |
| 0623 | 11032801 | Cable harness | |
| 0623 | 12028082 | Cable harness | |
| 0624 | 12028086 | Adapter | |
| 8042 | 18037395 | Installation instructions | |
| 0604 | 12031987 | Connectivity module |

| Position ID | Part number. | Replaces: | Description |
| 0401 | 11032438 | Gas tap | |
| 0402 | 11032439 | Gas tap | |
| 0405 | 11032440 | Gas tap | |
| 0406 | 11032441 | Gas tap | |
| 0410 | 00423093 | Valve | |
| 0412 | 10003806 | Valve | |
| 0414 | 00420807 | Screw | |
| 0415 | 00779007 | Manifold | |
| 0416 | 20000140 | Manifold | |
| 0417 | 10009569 | Bracket | |
| 0422 | 10010270 | Pipe connection piece | |
| 0423 | 11032864 | Gas tap | |
| 0424 | 00754658 | Regulator-pressure | |
| 0425 | 10010200 | Adapter | |
| 0426 | 11032865 | Gas tap | |
| 0427 | 10011592 | Extension for inlet | |
| 8042 | 18037395 | Installation instructions |

| Position ID | Part number. | Replaces: | Description |
| 0502 | 10008228 | Screw | |
| 0503 | 00634163 | Clip | |
| 0504 | 10010298 | Washer | |
| 0505 | 10008224 | Screw | |
| 0506 | 00145749 | Grill grid | |
| 0507 | 11030956 | Heating element | |
| 0508 | 10008210 | Screw | |
| 0509 | 11030067 | Grill accessories | |
| 0510 | 11030015 | Tray for Ceramic Briquettes (for PABRICKBKW) | |
| 0511 | 00098049 | Salver | |
| 0512 | 12004405 | Temperature sensor | |
| 0513 | 10008210 | Screw | |
| 0514 | 00634165 | Bracket | |
| 0515 | 10008210 | Screw | |
| 0516 | 12026866 | Cable harness | |
| 8042 | 18037395 | Installation instructions |

| Position ID | Part number. | Replaces: | Description |
| 0101 | 00146136 | Back wall panel | |
| 0102 | 23000092 | Back panel | |
| 0103 | 00649417 | 00752161 | Cover |
| 0104 | 23000263 | Panel side | |
| 0105 | 23000264 | Panel side | |
| 0107 | 00619081 | Connection piece | |
| 0108 | 20000278 | Panel | |
| 8042 | 18037395 | Installation instructions | |
| 0106 | 10013545 | Latch |

| Position ID | Part number. | Replaces: | Description |
| 0201 | 12024418 | Module-relay | |
| 0203 | 00617931 | Display | |
| 0204 | 11032519 | Bracket | |
| 0205 | 00609115 | Switch | |
| 0206 | 11032495 | Display module not programmed | |
| 0207 | 10010232 | Encoder | |
| 0209 | 00687127 | Light bar | |
| 0210 | 23000467 | Support | |
| 0212 | 20000026 | Panel-facia | |
| 0213 | 10008212 | Screw | |
| 0214 | 10008201 | Ring | |
| 0215 | 00418122 | Ring | |
| 0216 | 10010231 | Encoder | |
| 0217 | 10011598 | Knob | |
| 0218 | 10008199 | Knob | |
| 0219 | 10008225 | Knob | |
| 0221 | 10010228 | Ring | |
| 0222 | 10010230 | Knob | |
| 0223 | 10008226 | Bracket | |
| 0224 | 00629049 | Energy regulator | |
| 0225 | 00617886 | Display | |
| 0230 | 12026865 | Cable harness | |
| 8042 | 18037395 | Installation instructions | |
| 0206 | 12028839 | Display module programmed | |
| 0211 | 00623615 | Nut | |
| 0220 | 12034239 | Display-temperature |

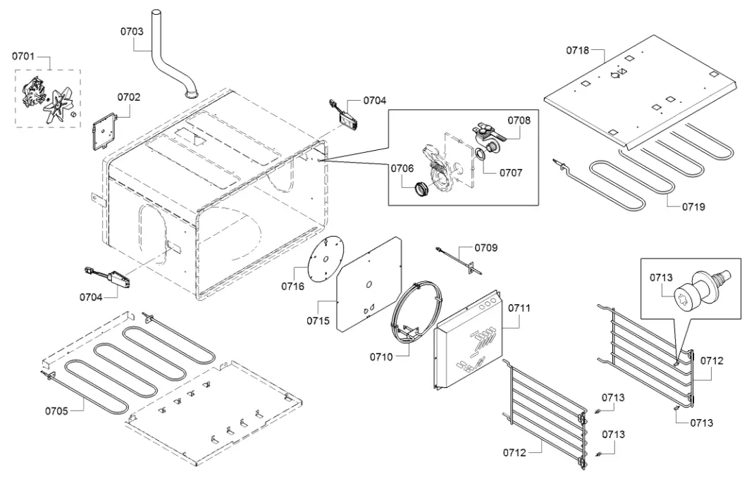
| Position ID | Part number. | Replaces: | Description |
| 0701 | 00497756 | Motor | |
| 0702 | 00489178 | Bracket | |
| 0703 | 00494383 | Pipe connection piece | |
| 0704 | 10007424 | Lamp | |
| 0705 | 00709468 | Heating element | |
| 0706 | 10010225 | Nut | |
| 0707 | 10010208 | Washer | |
| 0708 | 10008183 | Socket | |
| 0709 | 00627375 | Temperature sensor | |
| 0710 | 00640401 | Heating element | |
| 0711 | 20000143 | Cover | |
| 0712 | 11032546 | Support | |
| 0713 | 10011396 | Bolt | |
| 0714 | 12028136 | Adapter | |
| 0715 | 00706444 | Cover | |
| 0716 | 00479238 | Cover | |
| 0718 | 00687604 | Plate | |
| 0719 | 00431908 | Broil Element | |
| 8042 | 18037395 | Installation instructions |















