72300 Connect Pro 10.2-inch iPad
Instruction Manual
CONNECT
PRO
72300 Connect Pro 10.2-inch iPad
72300 – 10.2 Black
72301 – 10.2 White
72310 – Mini Black
72311 – Mini White
IPORT CONNECT Pro Case Install Manual
Thank you for purchasing the all new IPORT CONNECT Platform. We hope you enjoy this revolutionary new system and if at any time you need more assistance please Contact IPORT Tech Support via Online chart or through our help desk.
– IPORT Team
Whats in box:
1 – IPORT CONNECT Case
1 – IPORT Security tool – 1.5mm hex key
1 – Info Card
Product Info Page – www.iportproducts.com/cpcase
Glossary of Terms:
- Case – The fully assembled CONNECT PRO CASE.
- Case Top – The Short removable portion of the chase including the locking portion of the Case.
- IPORT Security Tool – The orange handled 1.5mm hex tool used for locking and unlocking IPORT Products.
- Station Interface Module – The main electronics portion of the new IPORT Connect Platform consisting of the Round electronic components.
- Dock Interface Module – The secondary linear electronics found on the IPORT CONNECT Case.
1. Remove case from the box and place on a table.
2. Remove the short Case Top.
3. Slide iPad into the case making sure the lighting cable is snugly inserted into the iPad.
4. Reinstall the case top onto the lower half if the case and iPad.
5. Use the provided IPORT tool, insert the tool into the top of the case and slide the tool towards the lock position icon.
• For added security rotate the IPORT tool clockwise to tighten the setscrew in place holding the lock secure
6. Place the IPORT Connect Pro Case onto a BaseStation or WallStation for charing

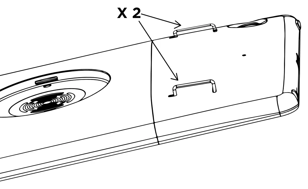
Hand Strap Install – (Sold Separate)
1. Insert the metal strap loops with the flat end pointing towards the left or right side of the case.
2. Rotate the strap clip towards the bottom of the case and insert into the hole until the strap clip snaps into place. 
3. Repeat for the second clip.
4. Insert the IPORT Connect Hand Strap under both strap loops with the Velcro facing out from the case, fold over the Hand Strap and attach to the Velcro. Adjust hand strap to a snug but comfortable fit around the top of your hand.
• NOTE Case Top and Bottom MUST be locked together to properly secure the iPad and Connect Pro Case together.
Hand Strap Removal
1. Unlock the Connect Pro Case Top from the Case Bottom. See step 5 of installing the Case.
2. Remove the Case Top from the Case Bottom.
3. On the inside of the Case Top, locate the small oval hole and inserter the IPORT Connect Security tool. Pivot the IPORT Security tool toward the top of the Case top freeing the Strap loop. Rotate the Strap loop 90 degrees left or right to remove the Strap Loop from the Case Top.
4. Repeat for the second strap loop. 















