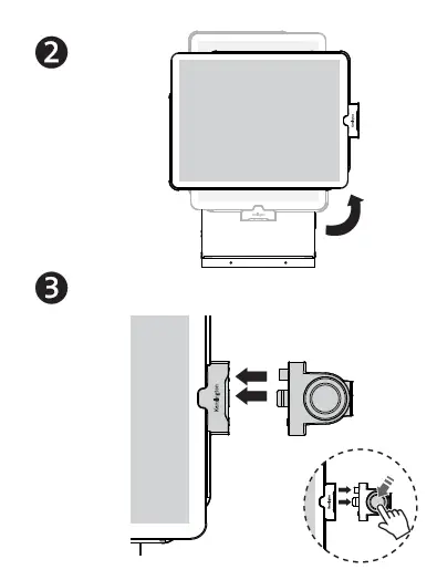
Home » Blog » Kensington Studiodock Ipad Docking Station Instruction Manual Kensington Studiodock Ipad Docking Station Instruction Manual Contents hide1 Kensington StudioDock iPad Docking Station2 Instruction3 How to Use4 Assemble5 Documents / Resources6 Related PostsKensington StudioDock iPad Docking StationInstructionHow to UseAssemble Documents / Resouces Download manual Here you can download full pdf version of manual, it may contain additional safety instructions, warranty information, FCC rules, etc. To access the pdf donwload links, solve the captcha. Related Manuals Iroom Io Itop Light Tabletop Ipad Docking Station User Manual Kensington Sd6000 Surface Go Docking Station Instruction Manual Iroom Io Itop Onwall Universal Wall Docking Station For Apple Ipads User Manual Kensington Sd4800p Docking Stations Compliance Instructions Kensington Md125u4 Usb4 Portable Docking Station User Manual Startech Com Drive Docking Station Instruction Manual Iiglo 10 I 1 Thunderbolt 3 Docking Station Instruction Manual Viveroo Rev20200619 One Kiosk Ipad Docking Darksteel User Manual Startech Usb3sdockhd Laptop Docking Station User Manual Kramer Kdock-5 Usb-c 8 In 1 Docking Station Instruction Manual Amazon Basics B081zdby82 Usb 3.1 Type-c Docking User Manual Amazon Basics Chauvetb081tdgr1x Aluminum Type-c Docking Instruction Manual Hama 00135764 Usb-c Docking Station Instruction Manual Amazon Basics B081td1wv5 Aluminum Type-c Docking User Manual Icy Box Ib-dk2261ac Docking Station User Manual Icy Box Ib-dk2408-c Usb Type-c Notebook Docking Station Instruction Manual Kensington Uh1440p Usb-c Mobile Dock Instruction Manual Kensington Uh1450p Usb-c Mobile Dock Instruction Manual Kramer Kdock-6 Usb-c 8-in-1 Docking And Laptop Stand Instruction Manual Kensington Sd5760t Thunderbolt 4 Dual 4k Docking Station Instruction Manual