LG MFL70501029 Window Type Air Conditioner Owner’s
SAFETY INSTRUCTIONS
READ ALL INSTRUCTIONS BEFORE USE
Your safety and the safety of others are very important.
We have provided many important safety messages in this manual and on your appliance. Always read and follow all safety messages.
This is the safety alert symbol.
This symbol alerts you to potential hazards that can kill or injure you and others.
All safety messages will follow the safety alert symbol and either the word WARNING or CAUTION.
These words mean:
WARNING
You may be killed or seriously injured if you do not follow instructions.
CAUTION
You may be injured or cause damage to the product if you do not follow instructions.
All safety messages will tell you what the potential hazard is, tell you how to reduce the chance of injury, and tell you what may happen if the instructions are not followed.
The following symbols are displayed on units.
- This symbol indicates that this appliance uses a flammable refrigerant. If the refrigerant is is leaked and exposure to an external ignition source, there is a risk of fire.
- This symbol indicates that the Operation Manual should be read carefully.
- This symbol indicates that a service personnel should be handling this equipment with reference to the Installation Manual.
- This symbol indicates that information is available such as the Operating Manual or Installation Manual.
IMPORTANT SAFETY INSTRUCTIONS
INSTALLATION
- Before use, the appliance must be properly installed as described in this manual.
- Contact the authorized service technician for repair or maintenance of this unit.
- Contact the installer for installation of this unit.
- The air conditioner is not intended for use by young children or invalids without supervision.
- Keep any required ventilation openings clear of obstruction.
- Compliance with national gas regulations shall be observed.
- When the power cord is to be replaced, replacement work shall be performed by authorized personnel only using only genuine replacement parts. and authorized personnel only.
- Connect to a properly rated, protected, and sized power circuit to avoid electrical overload.
- Always plug into a grounded outlet.
- Do not under any circumstances, cut or remove the third (ground) prong from the power cord.
- When installing or moving the appliance, be careful not to pinch, crush, or damage the power cord.
- Plug in the power plug properly.
- Do not modify or extend the power cord.
- Do not start/stop operation by plugging/unplugging the power cord.
- Do not turn on the circuit breaker or power under condition that front grille, cabinet, control box are removed or opened. Otherwise, it may cause fire, electric shock, explosion or death.
- If the supply cord is damaged, it must be replaced by the manufacturer, its service agent or similarly qualified person in order to avoid a hazard.
- Use a dedicated circuit.
- Do not disassemble or modify the product.
- Adhere to all industry recommended safety procedures including the use of long-sleeved gloves and safety glasses.
- Use care when unpacking and installing. The edges of the product may be sharp.
- Disconnect the power cord or circuit breaker before installing or servicing the appliance.
- Keep packaging materials out of the reach of children. These materials can pose a suffocation risk to children.
- Store and install the product where it will not be exposed to temperatures below freezing or exposed to outdoor weather conditions. other appliance.
OPERATION
- Use this appliance only for its intended purpose.
- Never attempt to operate this appliance if it is damaged, malfunctioning, partially disassembled, or has missing or broken parts, including a damaged cord or plug.
- Repair or immediately replace all power cords that have become frayed or otherwise damaged. Do not use a cord that shows cracks or abrasion damage along its length or at either end.
- Do not run cord under carpets or mats where it could be stepped on and damaged.
- Keep the cord out from under heavy objects like tables or chairs.
- Do not place the power cord near a heat source.
- Do not use an adaptor or plug the product into a shared outlet.
- Do not tamper with controls.
- If you detect a strange sound, a chemical or burning smell, or smoke coming from the appliance, unplug it immediately, and contact an LG Electronics Customer Information Center.
straight out from the outlet. - Do not grasp the power cord or touch the appliance controls with wet hands.
- If water enters the product, turn off the power at the main circuit, then unplug the product and call for service.
- If the product has been submerged, contact the LG Electronics Customer Information Center for instructions before resuming use.
- Unplug the product when unused for long periods.
- Unplug the product before cleaning.
- In the event of a gas leak (propane gas, etc.) do not operate this or any other appliance. Open a window or door to ventilate the area immediately.
- This appliance is not intended for use by persons (including children) with reduced physical, sensory or mental capabilities, or lack of experience and knowledge, unless they have been given supervision or instruction concerning the use of the appliance by a person responsible for their safety. Children should be supervised to ensure that they do not play with the appliance.
- The interior of the product must only be cleaned by a LG Electronics Customer Information Center or a dealer.
- Do not use solvent-based detergent on the product. Doing so can cause corrosion or damage,
GROUNDING INSTRUCTIONS
- The power cord of this appliance is equipped with a three-prong (grounding) plug. Use this with a standard three-slot (grounding) wall power outlet to minimize the hazard of electric shock. The sure the receptacle is properly grounded. DO NOT CUT OR REMOVE THE THIRD (GROUND) PRONG FROM THE POWER PLUG.
- Situations when the appliance will be disconnected occasionally; Because of potential safety hazards, we strongly discourage the use of an adapter plug.
- Attaching the adapter ground terminal to the wall receptacle cover screw does not ground the appliance unless the cover screw is metal, and not insulated, and the wall receptacle is grounded to make sure the receptacle is properly grounded.
- Disconnect the power cord from the adapter, using one hand on each. Otherwise, the adapter ground terminal might break. Do not use the appliance with a broken adapter plug.
- Situations when the appliance will be disconnected often; Do not use an adapter plug in these situations. Unplugging the power cord frequently can lead to an eventual breakage of the ground terminal. The wall power outlet should be replaced by a three-slot (grounding) outlet instead.
CAUTION
To reduce the risk of minor or moderate injury to persons, malfunction, or damage to the product or property when using this product, follow basic precautions, including the following:
- Take care when installing the product that exhaust or condensation does not damage nearby property.
- Follow installation instructions exactly to avoid excessive vibration or water leakage.
- Do not install the appliance in an area where it is directly exposed to sea air (salt spray).
- Saline conditions are a cause of corrosion. (Particularly, corrosion of the condenser and evaporator can damage the appliance or impair its performance.)
- Set up windbreak in front of the outdoor unit if installing it in coastal areas.
- Avoid direct exposure to salt winds.
- Install a firm and stiff concrete-wind shield that can withstand salt winds.
OPERATION
- This appliance is not intended for use as a precision refrigeration system. Do not use it for special purposes such as maintaining pets, food, precision machinery, or art objects.
- When installing or moving the appliance, be careful not to pinch, crush, or damage the power cord.
- Make sure the air inlet and outlet are free from obstructions.
- Use a soft cloth to clean the appliance. Do not use waxes, thinners, or harsh detergents.
- Do not step on or place heavy objects on top of the appliance.
- Do not drink water drained from the appliance.
- Remove the batteries if the remote control is not to be used for an extended period of time.
- Never mix different types of batteries, or old and new batteries for the remote control.
- Do not recharge or disassemble the batteries.
MAINTENANCE
- Never use strong cleaning agents or solvents when cleaning the air conditioner or spray water. Use a smooth cloth.
WARNING
- Do not use means to accelerate the defrosting process or to clean, other than those recommended by the manufacturer.
- The appliance shall be stored in a room without continuously operating open flames (for example an operating gas appliance) and ignition sources (for example an operating electric heater).
- The appliance shall be stored in a well-ventilated area where the room size corresponds to the room area as specified for operation.
- The appliance shall be stored so as to prevent mechanical damage from occurring.
Technical Safety
- Any person who is involved with working on or breaking into a refrigerant circuit should hold a current valid certificate from an industry-accredited assessment authority, which authorises their competence to handle refrigerants safely in accordance with an industry recognised assessment specification.
- Servicing shall only be performed as recommended by the equipment manufacturer. Maintenance and repair requiring the assistance of other skilled personnel shall be carried out under the supervision of the person competent in the use of flammable refrigerants.
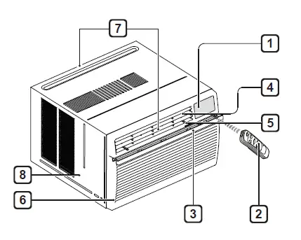
PRODUCT OVERVIEW
Exterior Parts
- Control Panel
- Remote Control
- Air Filter
- Vertical Air Deflector (Horizontal Louver)
- Horizontal Air Deflector (Vertical Louver)
- Front GrilleAir Outlet
- Air Outlet
- Cabinet
Interior Parts
- Evaporator
- Air Guide
- Brace
- Compressor
- Condenser
- Base Pan
- Power Cord
INSTALLATION
Circuit Breaker Installation
Read thoroughly and follow all directions provided.
A circuit breaker must be installed between the power source and the unit if the plug is not used (see illustration below).
NOTE
- Use 15 A circuit breaker.
Installation Overview
Tools Needed
How to Install the Unit
- Measure the space for installation to assure a good fit. The air conditioner must be installed firmly into place to prevent vibration and noise.’
- Avoid exposure to direct sunlight.
- Remove all obstacles from the rear of the unit. There must be at least 50 cm (20 in.) of cleared space around the rear of the unit. Obstacles restricting the airflow may reduce the cooling efficiency of the unit.
- The unit should be installed with a slight tilt towards the outside to allow condensed water to drain. (About 10~15 mm or 1/4 bubble with Level)

CAUTION
The external grille must be exposed outside for air discharge.
Preparation of the Cabinet
- Remove 4 screws which fasten the cabinet at both sides and at the back. (Keep the screws for later use.)
- Slide the unit from the cabinet by gripping the base pan handle and pulling forward while bracing the cabinet.
CAUTION
- The unit is heavy. To prevent injury, use proper lifting techniques when pulling unit forward from cabinet. Obtain assistance from another person if possible.
Drainage (Optional)
The base-pan may overflow due to high humidity. To drain the excess water, remove the drain cap from the base pan of the unit and secure the Drain Pan.
- Remove the rubber cap from the hole under the base-pan.
- Install the drain pan over the corner of the cabinet with 2-4 screws.
- Connect the drain hose to the outlet located on the bottom of the drain pan. (You can purchase the drain hose or tubing locally to satisfy your particular needs. Drain hose is not supplied)
Installation of the Cabinet
- Prepare the hole in the wall so that the bottom of the cabinet is well supported, the top has minimum clearace and the air inlet louveres have clearance as shown. Holes from the outside through to the cavity should be sealed. The cabinet should slope down towards the rear by about 10~15 mm to allow water formed during operation to drain.

- Install the cabinet into the wall and secure. Ensure the foam seals are not damaged. Flash, seal or fill gaps around the inside and outside to provide satisfactory appearance and protection against the weather, insects and rodents.

NOTE
- Unit may be supported by a solid frame from below or by a hanger from a solid overhead support.
Space for Outside Air Flow
Installations of the unit into the Cabinet
- Slide the air conditioner into the case. Reinstall the 2 screws removed earlier on each side of the case.

CAUTION- The unit is heavy. Use an assistant to help lift the unit and set it in place. Lifting and maneuvering the unit by yourself could result in injury.
- Stuff the foam around the unit to prevent air and insects from getting into the room.

- Before installing the front grille, pull out the vent control lever located above the unit control knobs, as shown. (for some models)
- Connect the wire harness from the front grille assembly to the air conditioner.
- Attach the front grille assembly to the cabinet by inserting the grille tabs into the slots on the front of the cabinet. Push the grille in until it snaps into place.
NOTE- Carefully guide the vent control lever through the grille as you push the grille in.

- Carefully guide the vent control lever through the grille as you push the grille in.
- Remove air filter from the front grille by pulling the filter forward and then up slightly.

Insert 2 screws (L:10 mm) through the front grille.
Control Panel and Remote Control
NOTE
The feature may be changed according to the type of model.
- Power
Press to turn the air conditioner ON or OFF.
- Fan Speed
Press to set the fan speed to Low (F1), Medium (F2), or High (F3).
- Delay ON/OFF Timer
Delay ON – When the air conditioner is off, set it to automatically turn on from 1 to 24 hours later, at its previous mode and fan settings.
Delay OFF – When the air conditioner is on, set it to automatically turn off from 1 to 24 hours later.
NOTE- Each press of the Timer button advances the timer by 1 hour. After the last press the display returns to the temperature setting.

- Each press of the Timer button advances the timer by 1 hour. After the last press the display returns to the temperature setting.
- Operation Mode
Press the Mode button to cycle between 4 types of air conditioner operation: Energy Saver / Cool / Fan / Dry.- Energy Saver – In this mode the compressor and fan turn off when the set temperature is achieved. Approximately every 3 minutes the fan turns on to allow the unit sensor to accurately determine if more cooling is needed.
- Cool – This mode is ideal on hot days to cool and dehumidify the room quickly. Use the Temp buttons to set the desired room temperature and use the Fan Speed button to set the desired fan circulation speed.
- Fan – In this mode the fan circulates air but the compressor does not run. Use the Fan Speed button to set fan speed to High, Medium or Low. In this mode, you cannot adjust the set temperature.
- Dry – This mode is ideal for rainy and damp days to dehumidify the room rather removed from the room by the combination of compressor operation and the fan speed off once the set temperature is reached. Fan speed cannot be adjusted in Dry mode.

- Clean Filter
The Clean Filter LED lights up to notify you Temp and together on the control panel to turn off the Clean Filter light.
NOTE- This feature is a reminder to clean the air light turns on after 250 hours of operation.
- Temperature Control
The thermostat monitors room temperature to maintain the desired temperature.
The thermostat can be set between 60 °F–86 °F (16 °C–30 °C). Press or arrows to increase or decrease temperature setting.
NOTE
- Auto Restart: If the air conditioner turns off due to a power outage, it will restart automatically once the power is restored, with the same settings as were set before the unit turned off.
- Energy Saver: The unit defaults to the Energy Saver mode each time the unit is switched on except in Fan mode or when power is restored after an electrical power outage.
- The remote control will not function properly if the AC infrared sensor is exposed to direct light or if there are obstacles between the remote control and the air conditioner.
Wireless Remote Control

Inserting Battery
- Push out the cover on the back of the remote control with your thumb.
- With the plus and minus poles facing as marked, insert one new AAA 1.5 V battery.
- Reattach the cover.
NOTE
- One new battery is supplied with the air conditioner for use in the remote control.
- Do not use a rechargeable battery. Make sure that the battery is new.
- In order to prevent discharge, remove the battery from the remote control if the air conditioner is not going to be used for an extended period of time.
- Keep the remote control away from extremely hot or humid places.
- To maintain optimal operation of the remote control, the remote sensor should not be exposed to direct sunlight.
Ventilation
Push the ventilation lever in to the closed position to maintain the best cooling performance. Pull the ventilation lever out to open the vent and draw fresh air into the room.
Air Direction
Airflow can be adjusted by changing the direction of the air conditioner’s louvers.
Adjusting Horizontal Airflow Direction
The horizontal airflow is adjusted by moving the levers of the vertical louvers to the left or right.
Adjusting Vertical Airflow
Direction
Touch the horizontal louvers to adjust the airflow up or down.
NOTE
When the weather is extremely hot, the unit may turn off automatically to protect the compressor.
Slinger Fan
This air conditioner is equipped with a slinger fan. (See drawing.) The fan’s outer ring picks up the condensed water from the base pan if the water level gets high enough. The water is then picked up by the fan and expelled through the condenser, making the air conditioner more efficient.
MAINTENANCE
WARNING
Before cleaning or performing maintenance, disconnect the power supply and wait until the fan stops.
Air Filter
if cleaning is necessary. Trapped particles in the cooling capacity and causing an accumulation of frost on the evaporator.
Cleaning the Air Filter
- Remove the air filter from the front grille by pulling the filter forward and then up slightly.
- Wash the filter using lukewarm water below 40 °C (104 °F).
- Gently shake the excess water from the filter and replace.
Cleaning the Air Conditioner
- Wipe the front grille and inlet grille with a cloth dampened in a mild detergent solution.
- Wash the cabinet with mild soap or detergent and lukewarm water, then polish using liquid appliance wax.
NOTE
- To ensure continued peak efficiency, the condenser coils (outside of unit) should be checked periodically and cleaned if clogged with soot or dirt from outside air. For repair and maintenance, contact a
- LG Electronics Customer Information Center. See the warranty card for details. Have your model number and serial number available.
TROUBLESHOOTING
Before Calling for Service The appliance is equipped with an automatic error-monitoring system to detect and diagnose problems at an early stage. If the appliance does not function properly or does not function at all, check the following before you call for service. Normal Sounds You May Hear
- High Pitched Chatter
Today’s high efficiency compressors may have a high pitched chatter during the cooling cycle - Sound of Rushing Air
At the front of the unit, you may hear the sound of rushing air being moved by the fan. - Gurgle/Hiss
Gurgling or hissing noise may be heard due to refrigerant passing through evaporator during normal operation. - Vibration
Unit may vibrate and make noise because of poor wall or window construction or incorrect installation. - Pinging or Swishing
Droplets of water hitting condenser during normal operation may cause pinging or swishing sounds.
| Problem | Possible Causes & Corrective Action |
|
Air conditioner does not start. | The air conditioner is unplugged. · Make sure the air conditioner plug is pushed completely into the outlet. |
| The fuse is blown/circuit breaker is tripped. · Check the house fuse/circuit breaker box and replace the fuse or reset the breaker. | |
| Power failure. · If power failure occurs, turn the mode control to off. When power is restored, wait 3 minutes to restart the air conditioner to prevent ng of the compressor overload. | |
|
Air conditioner does not cool as it should. | Airflow is restricted. · Make sure there are no curtains, blinds, or furniture blocking the front of the air conditioner. |
| The temp control may not be set correctly. · Set the desired temperature to a level lower than the current temperature. | |
| The air filter is dirty. · Clean the filter at least every 2 weeks. See the ‘MAINTENANCE (Cleaning the Air Filter)’ section. | |
| The room may have been hot. · When the air conditioner is first turned on, you need to allow time for the room to cool down. | |
| Cold air is escaping. · Check for open fumace floor registers and cold air returns. | |
| Cooling coils have iced up. · See ‘Air conditioner freezing up’ below. | |
| Air conditioner freezing up. | The cooling coils are iced over. · Ice may block the air flow and obstruct the air conditioner from properly cooling the room. Set the Fan Speed High at Fan or Cool mode. |
| Water drips outside. | Hot, humid weather. · This is normal. |
| Problem | Possible Causes & Corrective Action |
| Water drips indoors. | The air conditioner is not tilted to the outside. · For proper water disposal, make sure the air conditioner slants slightly from the cabinet front to the rear. |
| Water collects in base pan. | Moisture removed from air and drains into base pan. · This is normal for a short period in areas with little humidity; normal for a longer period in very humid areas. |
| Air conditioner turns on and off rapidly. | Dirty air filter – air restricted. · Clean air filter. |
| Outside temperature extremely hot. · Refer to installation instructions or check with installer. | |
| Noise when unit is cooling. | Air movement sound. · This is normal. If too loud, set to lower FAN Speed. |
| Window vibration – poor installation. · Refer to installation instructions or check with installer. | |
| Room too cold. | Set temperature too low. · Increase set temperature. |
LG MFL70501029 Window Type Air Conditioner Owner’s














The thermostat can be set between 60 °F–86 °F (16 °C–30 °C). Press or arrows to increase or decrease temperature setting.





















