LG MFL71407578 Air Conditioner Owner’s Manual
Please read this installation manual completely before installing the product. Installation work must be performed in accordance with the national wiring standards by authorized personnel only.
Please retain this installation manual for future reference after reading it thoroughly.
![]()
Original instruction
[Manufacturer] LG Electronics Tianjin Appliances co.,Ltd.
No.09,Jinwei Road,Beichen District,Tianjin,China.
This manual is the simplified version of original manual.
You can obtain the original manual from website.
Airborne Noise Emission
The A-weighted sound pressure emitted by this product is below 70 dB.
The noise level can vary depending on the site.
The figures quoted are emission level and are not necessarily safe working levels.
Whilst there is a correlation between the emission and exposure levels, this cannot be used reliably to determine whether or not further precautions are required.
Factor that influence the actual level of exposure of the workforce include the characteristics of the work room and the other sources of noise, i.e. the number of equipment and other adjacent processes and the length of time for which an operator exposed to the noise. Also, the permissible exposure level can vary from country to country.
This information, however, will enable the user of the equipment to make a better evaluation of the hazard and risk.
Limiting concentration
Limiting concentration is the limit of Freon gas concentration where immediate measures can be taken without hurting human body when refrigerant leaks in the air. The limiting concentration shall be described in the unit of kg/m3 (Freon gas weight per unit air volume) for facilitating calculation.
Limiting concentration: 0.44 kg/m3 (R410A)
Refrigerant concentration(kg/m3)
Total amount of replenished refrigerant in refrigerant facility (kg)
Capacity of smallest room where indoor unit is installed (m3 )
SAFETY INSTRUCTIONS
The following safety guidelines are intended to prevent unforeseen risks or damage from unsafe or incorrect operation of the appliance. The guidelines are separated into ‘WARNING’ and ‘CAUTION’ as described below.
This symbol is displayed to indicate matters and operations that can cause risk. Read the part with this symbol carefully and follow the instructions in order to avoid risk.
WARNING
This indicates that the failure to follow the instructions can cause serious injury or death.
CAUTION
This indicates that the failure to follow the instructions can cause the minor injury or damage to the product.
WARNING
- Installation, repairs or breakdown made by unqualified persons can result in hazards to you and others.
- The information contained in the manual is intended for use by a qualified service technician familiar with safety procedures and equipped with the proper tools and test instruments.
- Failure to carefully read and follow all instructions in this manual can result in equipment malfunction, property damage, personal injury and/or death.
Installation
- Have all electric work done by a licensed electrician according to “Electric Facility Engineering Standard” and “Interior Wire Regulations” and the instructions given in this manual and always use a special circuit.
- If the power source capacity is inadequate or electric work is performed improperly, electric shock or fire may result.
- Ask the dealer or an authorized technician to install the air conditioner.
- Improper installation by the user may result in water leakage, electric shock, or fire.
- Always ground the product.
- There is risk of fire or electric shock.
- Always install a dedicated circuit and breaker.
- Improper wiring or installation may cause fire or electric shock.
- For re-installation of the installed product, always contact a dealer or an Authorized Service Center.
- There is risk of fire, electric shock, explosion, or injury.
- Do not install, remove, or re-install the unit by yourself (customer).
- There is risk of fire, electric shock, explosion, or injury.
- Do not store or use flammable gas or combustibles near the air conditioner.
- There is risk of fire or failure of product.
- Use the correctly rated breaker or fuse.
- There is risk of fire or electric shock.
- Prepare for strong wind or earthquake and install the unit at the specified place.
- Improper installation may cause the unit to topple and result in injury.
- Do not install the product on a non-parallel or defective installation stand.
- It may cause injury, accident, or damage to the product.
- Use a vacuum pump or Inert(nitrogen) gas when doing leakage test or air purge. Do not compress air or Oxygen and do not use Flammable gases. Otherwise, it may cause fire or explosion.
- There is the risk of death, injury, fire or explosion.
- When installing and moving the air conditioner to another site, do not charge it with a different refrigerant from the refrigerant specified on the unit.
- If a different refrigerant or air is mixed with the original refrigerant, the refrigerant cycle may malfunction and the unit may be damaged.
- Do not reconstruct to change the settings of the protection devices.
- If the pressure switch, thermal switch, or other protection device is shorted and operated forcibly, or parts other than those specified by LGE are used, fire or explosion may result.
- Ventilate before operating air conditioner when gas leaked out.
- It may cause explosion, fire, and burn.
- Securely install the cover of control box and the panel.
- If the cover and panel are not installed securely, dust or water may enter the outdoor unit and fire or electric shock may result.
- If the air conditioner is installed in a small room, measures must be taken to prevent the refrigerant concentration from exceeding the safety limit when the refrigerant leaks.
- Consult the dealer regarding the appropriate measures to prevent the safety limit from being exceeded. Should the refrigerant leak and cause the safety limit to be exceeded, hazards due to lack of oxygen in the room could result.
Operation
- Do not damage or use an unspecified power cord.
- There is risk of fire, electric shock, explosion, or injury.
- Use a dedicated outlet for this appliance.
- There is risk of fire or electrical shock.
- Be cautious that water could not enter the product.
- There is risk of fire, electric shock, or product damage.
- Do not touch the power switch with wet hands.
- There is risk of fire, electric shock, explosion, or injury.
- When the product is soaked (flooded or submerged), contact an Authorized Service Center.
- There is risk of fire or electric shock.
- Be cautious not to touch the sharp edges when installing.
- It may cause injury.
- Take care to ensure that nobody could step on or fall onto the outdoor unit.
- This could result in personal injury and product damage.
- Do not open the inlet grille of the product during operation. (Do not touch the electrostatic filter, if the unit is so equipped.)
- There is risk of physical injury, electric shock, or product failure.
CAUTION
Installation
- Always check for gas (refrigerant) leakage after installation or repair of product.
- Low refrigerant levels may cause failure of product.
- Do not install the product where the noise or hot air from the outdoor unit could damage the neighborhoods.
- It may cause a problem for your neighbors.
- Keep level even when installing the product.
- To avoid vibration or water leakage.
- Do not install the unit where combustible gas may leak.
- If the gas leaks and accumulates around the unit, an explosion may result.
- Use power cables of sufficient current carrying capacity and rating.
- Cables that are too small may leak, generate heat, and cause a fire.
- Do not use the product for special purposes, such as preserving foods, works of art, etc. It is a consumer air conditioner, not a precision refrigeration system.
- There is risk of damage or loss of property.
- Keep the unit away from children. The heat exchanger is very sharp.
- It can cause the injury, such as cutting the finger. Also the damaged fin may result in degradation of capacity.
- When installing the unit in a hospital, communication station, or similar place, provide sufficient protection against noise.
- The inverter equipment, private power generator, high-frequency medical equipment, or radio communication equipment may cause the air conditioner to operate erroneously, or fail to operate. On the other hand, the air conditioner may affect such equipment by creating noise that disturbs medical treatment or image broadcasting.
- Do not install the product where it is exposed to sea wind (salt spray) directly.
- It may cause corrosion on the product. Corrosion, particularly on the condenser and evaporator fins, could cause product malfunction or inefficient operation.
- This appliance is intended to be used by expert or trained users in shops, in light industry and on farms, or for commercial use by lay persons.
- Means for disconnection must be incorporated in the fixed wiring in accordance with the wiring rules.
- If anyone other than a licensed Professional installs, repairs, or alters LG Electronics Air Conditioning Products, the warranty is voided.
- All costs associated with repair are then the full responsibility of the owner.
- Use the deoxidized copper as piping materials to install.
- Do not insert a drain hose in drain or soil pipe.
- Bad smells can occur and it results in a corrosion of a heat exchanger or pipe.
- Do not install the outdoor unit near the septic tank, drain or toilet exhaust duct.
- It results in a corrosion of a heat exchanger or pipe.
- Do not install the unit in potentially explosive atmospheres.
Operation
- Do not use the air conditioner in special environments.
- Oil, steam, sulfuric smoke, etc. can significantly reduce the performance of the air conditioner or damage its parts.
- Do not block the inlet or outlet.
- It may cause failure of appliance or accident.
- Make the connections securely so that the outside force of the cable may not be applied to the terminals.
- Inadequate connection and fastening may generate heat and cause a fire.
- Be sure the installation area does not deteriorate with age.
- If the base collapses, the air conditioner could fall with it, causing property damage, product failure, or personal injury.
- Install and insulate the drain hose to ensure that water is drained away properly based on the installation manual.
- A bad connection may cause water leakage.
- Be very careful about product transportation.
- Only one person should not carry the product if it weighs more than 20 kg.
- Some products use PP bands for packaging. Do not use any PP bands for a means of transportation. It is dangerous.
- Do not touch the heat exchanger fins. Doing so may cut your fingers.
- When transporting the outdoor unit, suspending it at the specified positions on the unit base. Also support the outdoor unit at four points so that it cannot slip sideways.
- Safely dispose of the packing materials.
- Packing materials, such as nails and other metal or wooden parts, may cause stabs or other injuries.
- Tear apart and throw away plastic packaging bags so that children may not play with them. If children play with a plastic bag which was not torn apart, they face the risk of suffocation.
- Turn on the power at least 6 hours before starting operation.
- Starting operation immediately after turning on the main power switch can result in severe damage to internal parts. Keep the power switch turned on during the operational season.
- Do not touch refrigerant pipe and water pipe or any internal parts while the unit is operating or immediately after operation.
- It can cause a burn or frostbite.
- Do not operate the air conditioner with the panels or guards removed.
- Rotating, hot, or high-voltage parts can cause injuries.
- Do not directly turn off the main power switch after stopping operation.
- Wait at least 5 minutes before turning off the main power switch. Otherwise it may result in water leakage or other problems.
- Auto addressing should be done in condition of connecting the power of all indoor and outdoor units. Auto addressing should also be done in case of changing the indoor unit PCB.
- Use a firm stool or ladder when cleaning or maintaining the air conditioner.
- Be careful and avoid personal injury.
- Do not insert hands or other objects through the air inlet or outlet while the air conditioner is plugged in.
- There are sharp and moving parts that could cause personal injury.
- This appliance can be used by children aged from 8 years and above and persons with reduced physical, sensory or mental capabilities or lack of experience and knowledge if they have been given supervision or instruction concerning use of the appliance in a safe way and understand the hazards involved. Children shall not play with the appliance. Cleaning and user maintenance shall not be made by children without supervision.
- If the supply cord is damaged, it must be replaced by the manufacturer, its service agent or similarly qualified persons in order to avoid a hazard.
- Appliance shall be disconnected from its power source during service and when replacing parts.
- This appliance is not intended for use by persons (including children) with reduced physical, sensory or mental capabilities, or lack of experience and knowledge, unless they have been given supervision or instruction concerning use of the appliance by a person responsible for their safety.
- Children should be supervised to ensure that they do not play with the appliance.
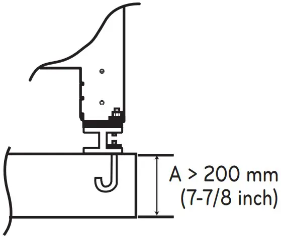
INSTALLATION SPACE
- There should not be any heat source or steam near the unit.
- There should not be any obstacles to the air circulation.
- A place where air circulation in the room will be good.
- A place where drainage can be easily obtained.
- A place where noise prevention is taken into consideration.
- Do not install the unit near the door way.
- Ensure the spaces indicated by arrows from the wall, ceiling, or other obstacles.
- The indoor unit must have the maintenance space.
- For more information, refer to installation manual.

- The feature may be changed according to the type of model.
- Chassis : U60A, U36A, U80A

U60A, U36A U80A ‘a’ 150 350 - Chassis : UXA, UXB

[Unit : mm (inch)
| Case 1 (10 (13/32) ≤ Side Space ≤ 49 (13/14)) | Case 2 (Side Space ≥ 49 (13/14)) |
| A ≥ 10 (13/32) B ≥ 300 (11-13/16) C ≥ 10 (13/32) D ≥ 300 (11-13/16) E ≥ 20 (25/32) F ≥ 500 (19-11/16) | A ≥ 50 (1-13/32) B ≥ 100 (3-15/16) C ≥ 50 (1-31/32) D ≥ 100 (3-15/16) E ≥ 100 (3-15/16) F ≥ 500 (19-11/16) |
LIFTING METHOD
- When carrying the suspended, unit pass the ropes under the unit and use the two suspension points each at the front and rear.
- Always lift the unit with ropes attached at four points so that impact is not applied to the unit.
- Attach the ropes to the unit at an angle of 40 ° or less
CAUTION
- Do not have only one person carry product if it is more than 20 kg.
- PP bands are used to pack some products. Do not use them as a mean for transportation because they are dangerous.
- Do not touch heat exchanger fins with your bare hands. Otherwise you may get a cut in your hands.
- Tear plastic packaging bag and scrap it so that children cannot play with it. Otherwise plastic packaging bag may suffocate children to death.
- When carrying in Outdoor Unit, be sure to support it at four points. Carrying in and lifting with 3-point support may make Outdoor Unit unstable, resulting in a fall.
- Use 2 belts of at least 8 m long.
- Place extra cloth or boards in the locations where the casing comes in contact with the sling to prevent damage.
- Hoist the unit making sure it is being lifted at its center of gravity.
INSTALLATION PROCESS

CAUTION
- The above list indicates the order in which the individual work operations are normally carried out but this order may be varied where local conditions warrants such change.
- The thickness of the piping should comply with the relevant local and national regulations for the designed pressure 3.8 MPa.
- Since R410A is a mixed refrigerant, the required additional refrigerant must be charged in its liquid state.(If the refrigerant is charged in its gaseous state, its composition changes and the system will not work properly.)
ELECTRICAL WIRING
- Follow ordinance of your governmental organization for technical standard related to electrical equipment, wiring regulations and guidance of each electric power company.
WARNING
Be sure to have authorized electrical engineers do the electric work using special circuits in accordance with regulations and installation manual.
If power supply circuit has a lack of capacity or electric work deficiency, it may cause an electric shock or fire.
- Install the Outdoor Unit communication cable away from the power source wiring so that it is not affected by electric noise from the power source. (Do not run it through the same conduit.)
- Be sure to provide designated grounding work to Outdoor Unit.
CAUTION
Be sure to correct the outdoor unit to earth. Do not connect ground wire to any gas pipe, liquid pipe, lightening rod or telephone earth line. If earth is incomplete, it may cause an electric shock.
- Give some allowance to wiring for electrical part box of Indoor and Outdoor Units, because the box is sometimes removed at the time of service work.
- Never connect the main power source to terminal block of communication cable. If connected, electrical parts will be burnt out.
- Use 2-core shield cable for communication cable.( mark in the figure below) If communication cable of different systems are wired with the same multiple core cable, the resultant poor transmitting and receiving will cause erroneous operations. ( mark in the figure below)
- Only the communication cable specified should be connected to the terminal block for Outdoor Unit communication.
- Supply and communication cable of appliances shall not be lighter than polychloroprene sheathed. (code designation 60245 IEC 57)
2-Core Shield Cable
Multi-Core Cable

CAUTION
- Use the 2-core shield cables for communication cables. Never use them together with power cables.
- The conductive shielding layer of cable should be grounded to the metal part of both units.
- Never use multi-core cable
- As this unit is equipped with an inverter, to install a phase leading capacitor not only will deteriorate power factor improvement effect, but also may cause capacitor abnormal heating. Therefore, never install a phase leading capacitor.
- Make sure that the power unbalance ratio is not greater than 2 %.
If it is greater the units lifespan will be reduced.
Electric Characteristics
- Recommended circuit breaker is ELCB
- MFA is used to select the circuit breaker and ground fault circuit interrupter
- Refer to the PDB about detail electric characteristics
ELCB : Earth Leakage Circuit Breaker
MFA : Maximum Fuse Amperes(A)
PDB : Product Data Book
| Rated Current (A) | Sectional Area (mm2) |
| ≤ 0.2 | Tinsel cord |
| > 0.2 and ≤3 | 0.5 |
| > 3 and ≤6 | 0.75 |
| > 6 and ≤10 | 1 |
| > 10 and ≤16 | 1.5 |
| > 16 and ≤25 | 2.5 |
| > 25 and ≤32 | 4 |
| > 32 and ≤40 | 6 |
| > 40 and ≤63 | 10 |


























