LG Air Conditioner

SAFETY INSTRUCTIONS
The following safety guidelines are intended to prevent unforeseen risks or damage from unsafe or incorrect operation of the appliance. The guidelines are separated into ‘WARNING’ and ‘CAUTION’ as described below.
This symbol is displayed to indicate matters and operations that can cause risk. Read the part with this symbol carefully and follow the instructions in order to avoid risk.
WARNING: This indicates that the failure to follow the instructions can cause serious injury or death.
CAUTION: This indicates that the failure to follow the instructions can cause the minor injury or damage to the product.
The following symbols are displayed on indoor and outdoor units. (for R32)
This symbol indicates that this appliance uses a flammable refrigerant. If the refrigerant is leaked and exposure to an external ignition source, there is a risk of fire. This symbol indicates that the Operation Manual should be read carefully.
This symbol indicates that a service personnel should be handling this equipment with reference to the Installation
Manual.
This symbol indicates that information is available such as the Operating Manual or Installation Manual.
IMPORTANT SAFETY INSTRUCTIONS
WARNING
To reduce the risk of explosion, fire, death, electric shock, injury or scalding to persons when using this product, follow basic precautions, including the following:
- The information contained in the manual is intended for use by a qualified service technician who is familiar with the safety procedures and equipped with the proper tools and test instruments.
- The appliance shall be installed in accordance with national wiring regulations.
- Compliance with national gas regulations shall be observed.
- Means for disconnection must be incorporated in the fixed wiring in accordance with the wiring rules.
- If the supply cord is damaged, it must be replaced by the manufacturer or its service agents or similarly qualified person in order to avoid a hazard.
- Appliance shall be disconnected from its power source during service and when replacing parts.
- Failure to read and follow all instructions in this manual can result in equipment malfunction, property damage, personal injury and/or death.
- Check that the appliance’s voltage level is 90 % or higher than the rated voltage. To check it, refer to the label attached to the side of the appliance.
- Do not install the appliance on an unstable surface or in a place where there is danger of it falling.
- This appliance must be grounded. In the event of malfunction or breakdown, grounding will reduce the risk of electric shock by providing a path of least resistance for electric current.
- Improper connection of the equipment-grounding conductor can result in risk of electric shock. Check with a qualified electrician or service personnel if you are in doubt as to whether the appliance is properly grounded.
- If the power supply cable is damaged or the cable connection is loose, do not use the power supply cable and contact an authorized service center.
- Do not connect the ground wire to a gas pipe, a lightning rod, or a telephone ground wire.
- Do not share the power supply for this unit with other appliances or devices, it must be a dedicated power source for this appliance.
- Do not modify or extend the power cable.
- Ensure the power cable is secure so that it does not come out while the appliance is operating.
- Do not touch the power plug or the appliance controls with wet hands.
- Cut the power during a severe thunderstorm or lightening or when not in use for a long period of time.
- Do not grab the power cable when removing the plug, but rather hold the power plug tightly.
- Do not bend the power cable excessively or place a heavy object on it.
- Do not turn on the circuit breaker or power when covers are removed or opened.
- Make sure that the pipe and the power cable connecting the indoor and outdoor units are not pulled too tight when installing the appliance.
- Install dedicated electric outlet and circuit breaker for the appliance.
- Make sure to close the cover of the control box after connecting the wiring to the appliance.
- Loose connections may cause electrical sparks, injury, and death.
- Do not install the appliance in a place where flammable liquids or gases such as gasoline, propane, paint thinner, etc., are stored.
- Only use the refrigerant designated on the label, do not put any foreign substances into the appliance.
- Any person who is involved with working on or breaking into a refrigerant circuit should hold a current valid certificate from an industry-accredited assessment authority regard of flammable refrigerants, which authorizes their competence to handle refrigerants safely in accordance with an industry recognized assessment specification.
- Servicing shall only be performed as recommended by the equipment manufacturer. Maintenance and repair requiring the assistance of other skilled personnel shall be carried out under the supervision of the person competent in the use of flammable refrigerants.
- Keep any required ventilation openings clear of obstruction.
- Refrigerant tubing shall be protected or enclosed to avoid damage.
- Flexible refrigerant connectors (such as connecting lines between the indoor and outdoor unit) that may be displaced during normal operations shall be protected against mechanical damage.
- Mechanical connections shall be accessible for maintenance purposes.
- A brazed, welded, or mechanical connection shall be made before opening the valves to permit refrigerant to flow between the refrigerating system parts.
- Use non-flammable gas (nitrogen) to check for leak and to purge air.
- Use only refrigerant grade pipe specific for R32 refrigerant. Do Not Use R22 products, which have lower pressure ratings and can result in excessive pressure, explosion and injury.
- Inert gas (oxygen free nitrogen) should be used when you checking for leaks, cleaning or repairs of pipes etc. If you are using combustible gases including oxygen, appliance may have the risk of fires and explosions.
- Do not use copper pipes which are deformed. Otherwise, the expansion valve or capillary tube may become blocked with contaminants.
- Ducts connected to an appliance shall not contain an ignition source.
- The installation of pipe-work shall be kept to a minimum.
- When installing or relocating the appliance, consult with a qualified technician to set up the appliance. The appliance should not be installed by someone without proper qualifications.
- Operating the appliance while it is disconnected to the pipe could result in explosion and damage. Use the appliance after connecting it to the pipe once the appliance has been relocated and the refrigerant circuit repaired.
- Do not place a heater or other heating appliances near the power cable.
CAUTION
To reduce the risk of minor injury to persons, malfunction, or damage to the product or property when using this product, follow basic precautions, including the following:
- Install at places where it can endure the weight and vibration/noise of the outdoor unit.
- Install the appliance in a place where the noise from the outdoor unit or the exhaust air will not inconvenience the neighbors. Failure to do so may result in conflict with the neighbors.
- Ensure the appliance is installed level. Otherwise, it may cause vibration or water leakage.
- Install the drain hose properly for the smooth drainage of water condensation.
- Do not touch the leaking refrigerant during installation or repair.
- Do not discharge the refrigerant into the atmosphere.
- If refrigerant leaks, ventilate the room.
- Always check for gas (refrigerant) leakage after installation or repair of appliance.
- Be cautious not to get injured by the sharp edges while installing the appliance or taking it out of its packaging.
- Ensure that you carry by the chassis when you lift the unit.
- This appliance should only be transported by two or more people holding the appliance securely.
- Safely dispose of packing materials such as screws, nails or batteries using proper packaging after installation or repair.
- To avoid nitrogen entering the refrigerant system in a liquid state, the top of the cylinder must be higher than its bottom when you pressurize the system.
- The tubing shall be protected to the extent that it will not be handled or used for carrying during moving of the appliance.
- Ventilation system have to be installed in the space when appliance with R32 is using for cooling of electric equipment.
- Do not use the appliance for special purposes, such as preserving foods, works of art, and etc. It is an appliance for consumer purposes, not a precision refrigerant system. There is risk of damage or loss of property.
- Do not install the unit in potentially explosive atmospheres.
Refrigerant (for R32 Only)
WARNING
- The appliance shall be stored in a well-ventilated area where the room size corresponds to the room area as specified for operation!
- The appliance shall be stored in a room without continuously operating open flames (for example an operating gas appliance) and ignition sources (for example an operating electric heater).
- The appliance shall be stored so as to prevent mechanical damage from occurring.
- Do not use means to accelerate the defrosting process or to clean, other than those recommended by the manufacturer.
- Do not pierce or burn.
- Be aware that refrigerants may not contain an odour.
- Pipe-work shall be protected from physical damage and shall not be installed in an unventilated space, if that space is smaller than the minimum floor area.
Minimum Floor Area
| m (kg) | Minimum Floor Area (m2) | ||
| Floor Standing | Wall Mounted | Ceiling Mounted | |
| < 1.224 | – | – | – |
| 1.224 | 12.90 | 1.43 | 0.956 |
| 1.2 | 12.36 | 1.37 | 0.92 |
| 1.4 | 16.82 | 1.87 | 1.25 |
| 1.6 | 21.97 | 2.44 | 1.63 |
| 1.8 | 27.80 | 3.09 | 2.07 |
| 2.0 | 34.32 | 3.81 | 2.55 |
| 2.2 | 41.53 | 4.61 | 3.09 |
| 2.4 | 49.42 | 5.49 | 3.68 |
- Total refrigerant amount in the system
- Total refrigerant amount: Factory refrigerant charge + Additional refrigerant amount.
INTRODUCTION
Features

The feature can be changed according to type of model.
NOTE: When mechanical connectors are reused indoors, sealing parts shall be renewed.
INSTALLATION PARTS 
Screws for fixing panels are attached to decoration panel. When Indoor unit (5.0/6.6 kW) is connected to the Multi Outdoor unit, use the connector.
INSTALLATION TOOLS
INSTALLATION MAP
- The feature can be changed according a type of model.
- Work to the vinyl tape should up from below.
NOTE:
- You should purchase the installation parts. (lt can be changed according to market)
- Pipes and wires should be purchased separately for installation of the product.
INSTALLATION
Select the best Location
- There should not be any heat or steam near the unit.
- Select a place where there are no obstacles around of the unit.
- Make sure that condensation drainage can be conveniently routed away.
- Do not install near a doorway.
- Ensure that the interval between a wall and the left (or right) of the unit is more than 100mm. The unit should be installed as high as possible on the wall, allowing a minimum of 200 mm from ceiling.
- Use a metal detector to locate studs to prevent unnecessary damage to the wall.

UV-C Model Only. The feature can be changed according to type of model.
NOTE: The gap between the indoor unit and ceiling is needed more than 200 mm for disassemble the air filter.
- Do not use nails and/or screws to attach indoor units to sheetrock, drywall, plasterboard, tile, plywood, or similar material types without proper anchors. Indoor units must be securely, and properly mounted and anchored or damage and/or injury may result from improper installation.

| Anchor | Screw |
| mm | mm |
| 6 x 30 | 4 x 50 |
Outdoor unit
- If an awning is built over the unit to prevent direct sunlight or rain exposure, make sure that heat radiation from the condenser is not restricted.
- Ensure that the space around the back and sides is more than 300 mm. The space in front of the unit should be more than 700 mm of space.
- Do not place animals and plants in the path of the warm air.
- Take the weight of the air conditioner into account and select a place where noise and vibration are minimum.
- Select a place where the warm air and noise from the air conditioner do not disturb neighbors.

The feature can be changed according to type of model.
Fixing Installation Plate
The wall you select should be strong and solid enough to prevent vibration
- Mount the installation plate on the wall with type “A” screws. If mounting the unit on a concrete wall, use anchor bolts.
- Mount the installation plate horizontally by aligning the centerline using Horizontal meter.

- Mount the installation plate horizontally by aligning the centerline using Horizontal meter.
- Measure the wall and mark the centerline. It is also important to use caution concerning the location of the installation plate. Routing of the wiring to power outlets is through the walls typically. Drilling the hole through the wall for piping connections must be done safely.

Drill a Hole in the Wall
- Drill the piping hole with a ø65mm hole core drill. Drill the piping hole at either the right or the left with the hole slightly slanted to the outdoor side.

Flaring Work
Main cause for gas leakage is due to defect of flaring work. Carry out correct flaring work in the following procedure.
Cut the pipes and the cable
- Use the piping kit accessory or the pipes purchased locally.
- Measure the distance between the indoor and the outdoor unit.
- Cut the pipes a little longer than measured distance.
- Cut the cable 1.5 m longer than the pipe length.

NOTE: Use the deoxidised copper as piping materials to install.
Burrs removal
- Completely remove all burrs from the cut cross section of pipe/tube.
- While removing burrs put the end of the copper tube/pipe in a downward direction while removing burrs location is also changed in order to avoid dropping burrs into the tubing.

Putting nut on
- Remove flare nuts attached to indoor and outdoor unit, then put them on pipe/tube having completed burr removal. (not possible to put them on after finishing flare work)

Flaring work
- Firmly hold copper pipe in a bar with the dimension shown in below table.
- Carry out flaring work with the flaring tool.
| Pipe diameter Inch (mm) | A inch (mm) | |
| Wing nut type | Clutch type | |
| Ø 1/4 (Ø 6.35) | 0.04~0.05(1.1~1.3) |
0~0.02 (0~0.5) |
| Ø 3/8 (Ø 9.52) | 0.06~0.07(1.5~1.7) | |
| Ø 1/2 (Ø 12.7) | 0.06~0.07(1.6~1.8) | |
| Ø 5/8 (Ø 15.88) | 0.06~0.07(1.6~1.8) | |
| Ø 3/4 (Ø 19.05) | 0.07~0.08(1.9~2.1) | |
NOTE: Temper grade of pipe: Annealed.

Check
- Compare the flared work with the figure by.
- If a flared section is defective, cut it off and do flaring work again.

NOTE: When flared joints are reused indoors, the flare part shall be re-fabricated.
Connecting the Piping
- Pull the cover at the bottom of the indoor unit. Pull the cover ①→②.
- Remove the cover from the indoor unit.

- Pull back the tubing holder.
- Remove pipe port cover and positioning the tubing.

The feature can be changed according to type of model.
Assembly of chassis cover
- Insert 4 hooks of the chassis cover into gap of the chassis certainly.

- Push the 6 point hook to assemble chassis cover. Push the chassis cover ①→②.
NOTE: To protect the chassis cover bended, assembly chassis cover correctly.
Good case
- Press on the tubing cover and unfold the tubing to downward slowly. And then bend to the left side slowly.

- The feature can be changed according to type of model.
Bad case
Following bending case from right to left directly may cause damage to the tubing.
The feature can be changed according to type of model.
NOTE: Installation Information. For right piping. Follow the instruction above
Installation of Indoor Unit
- Hook the indoor unit onto the upper portion of the installation plate.( engage the three hooks at the top of the indoor unit with the upper edge of the installation plate) Ensure that the hooks are properly seated on the installation plate by moving it left and right.

- Unlock the tubing holder from the chassis and mount between the chassis and installation plate in order to separate the bottom side of the indoor unit from the wall.

- The feature can be changed according to the type of model.
Piping
- Insert the connecting cable through the bottom side of indoor unit and connect the cable (You can see detail contents in ‘Connecting the cables’ section.


- Secure the cable onto the control board with the cable retainer.
- Tape the tubing pipe, drain hose and the connection cable. Be sure that the drain hose is located at the lowest side of the bundle. Locating at the upper side can cause overflow from the drain pan through the inside of the unit.
Connecting the installation pipe and drain hose to the indoor unit.
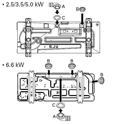
- Align the center of the pipes and sufficiently tighten the flare nut by hand
When Indoor unit (6.6 kW) is connected to the Multi Outdoor unit, use the connector. - Tighten the flare nut with a wrench.
Outside Diameter Torque mm inch kgf.cm N.m Ø6.35 1/4 180~250 17.6~24.5 Ø9.52 3/8 340~420 33.3~41.2 Ø12.7 1/2 550~660 53.9~64.7 Ø15.88 5/8 630~820 61.7~80.4 
- When needed to extend the drain hose of indoor unit, assembly the drain pipe as shown on the drawing.

Wrap the insulation material around the connecting portion.
- Overlap the connection pipe insulation material and the indoor unit pipe insulation material. Bind them together with vinyl tape so that there may be no gap.

- Set the tubing cutting line upward. Wrap the area which accommodates the rear piping housing section with vinyl tape.

- For left rear piping, bundle the piping and drain hose together by wrapping them cloth tape over the range within which they fit into the rear piping housing section.

Wrap the piping of the indoor unit that are visible from the outside with vinyl tape.
Outdoor unit
- Remove the tubing cover from the unit by loosening the screw.

- Align the center of the pipings and sufficiently tighten the flare nut by hand.
When Indoor unit(5.0/6.6 kW) is connected to the Multi Outdoor unit, use the connector shown above. - Finally, tighten the flare nut with torque wrench until the wrench clicks.
- When tightening the flare nut with torque wrench, ensure the direction for tightening follows the arrow on the wrench.

- The feature can be changed according a type of model.
Outside Diameter Torque mm inch kgf.cm N.m Ø6.35 1/4 180~250 17.6~24.5 Ø9.52 3/8 340~420 33.3~41.2 Ø12.7 1/2 550~660 53.9~64.7 Ø15.88 5/8 630~820 61.7~80.4
- When tightening the flare nut with torque wrench, ensure the direction for tightening follows the arrow on the wrench.
Connecting the Cables
Indoor unit
Connect the cable to the indoor unit by connecting the wires to the terminals on the control board individually according to the outdoor unit connection. (Ensure that the color of the wires of the outdoor unit and the terminal No. are the same as those of the indoor unit.) Insert the connecting cable through the bottom side of indoor unit and connect the cable.
- Open the Decor
- Unscrew the screw of C/Box
- Slide up the Metal Plate Cover
- Connect the connecting cable
- After complete connect the cables, should assemble the Metal Plate Cover by screw.

The feature can be changed according a type of model.
CAUTION
- The circuit diagram is a subject to change without notice.
- The earth wire should be longer than the common wires.
- When installing, refer to the circuit diagram on the chassis cover.
- Connect the wires firmly so that they may not be pulled out easily.
- Connect the wires according to color codes, referring to the wiring diagram.
- Use a recognized circuit breaker between the power source and the unit. A disconnecting device to adequately disconnect all supply lines must be fitted.
Circuit Breaker(A)
Grade 2.5/3.5 kW 5.0 kW 6.6 kW 15 20 25 
NOTE: Provide the circuit breaker between power source and the unit as shown by
NOTE
The power cord connected to unit should be selected according to the following national wiring regulations. The supply cords of parts of appliances for outdoor use shall not be lighter than polychloroprene sheathed flexible cord. (code designation 60245 IEC 57, H05RN-F)
| NOMINAL CROSS SECTlONAL AREA | Grade | ||
| 2.5/3.5 kW | 5.0 kW | 6.6 kW | |
| 1.0 | 1.5 | 2.5 | |
The power connecting cable with indoor and outdoor unit should be selected according to the following national wiring regulations. The supply cords of parts of appliances for outdoor use shall not be lighter than polychloropren sheathed flexible cord. (code designation 60245 IEC 57, H05RN-F)
| NOMINAL CROSS SECTlONAL AREA | Grade |
| 1.5/2.1/2.5/3.5/4.2/5.0/6.6 kW | |
| 1.0 |
- Connect the wires to the terminals on the control board individually.
- Secure the cable onto the control board with the cord clamp.
- Use a recognized circuit breaker between the power source and the unit. A disconnecting device to adequately disconnect all supply lines must be fitted.
Circuit Breaker(A)
Grade 2.5/3.5 kW 5.0 kW 6.6 kW 15 20 25
Use round pressure terminals for connections to the power terminal block.
CAUTION
According to the confirmation of the above conditions, prepare the wiring as follows.
- Never fail to have an individual power circuit specifically for the air conditioner. As for the method of wiring, be guided by the circuit diagram posted on the inside of control cover.
- The screw which fasten the wiring in the casing of electrical fittings are liable to come loose from vibrations to which the unit is subjected during the course of transportation. Check them and make sure that they are all tightly fastened. (If they are loose, it could cause burn-out of the wires.)
- Specification of power source.
- Confirm that electrical capacity is sufficient.
- See that the starting voltage is maintained at more than 90 percent of the rated voltage marked on the name plate.
- Confirm that the cable thickness is as specified in the power source specification. (Particularly note the relation between cable length and thickness.)
- Always install an earth leakage circuit breaker in a wet or moist area.
- The following would be caused by voltage drop.
- Vibration of a magnetic switch, which will damage the contact point, fuse breaking, disturbance of the normal function of the overload.
- The means for disconnection from a power supply shall be incorporated in the fixed wiring and have an air gap contact separation of at least 3 mm in each active(phase) conductors.
- Open the terminal cover block before connecting the indoor side wire.
Finishing the indoor unit installation
- Mount the tubing holder in the original position.
- Ensure that the hooks are properly seated on the installation plate by moving it left and right.
- Press the lower left and right sides of the unit against the installation plate until the hooks engage into their slots (clicking sound).
- Finish the assembly by screwing the unit to the installation plate by using two pieces of type “C” screws. And assemble a chassis cover.

- The feature can be changed according to type of model.
CAUTION
The indoor unit can be dropped from the wall, the indoor unit is not screwed correct position on the install plate. To avoid the gap between the indoor unit and wall , screw the indoor unit to the install plate correctly.
Checking the Drainage
To check the drainage.
- Pour a glass of water on the evaporator.
- Ensure the water flows through the drain hose of the indoor unit without any leakage and goes out the drain exit.

The feature can be changed according to type of model.
Drain piping
- The drain hose should point downward for easy drain flow.

- Do not make drain piping like the following.
The feature can be changed according to type of model
Installing drain piping of the outdoor unit
Depending on installation site, it may be required to install drain plug for drainage (Supplied with the unit). In cold areas, do not use a drain hose with the outdoor unit. Otherwise, drain water may freeze, impairing the heating performance.
- See the figure below for installation of the drain plug.
A Drain nipple
B Drain cap
C Drain washer - Connect a field supplied vinyl hose to the drain nipple (A). If the hose is too long and hangs down, fix it carefully to prevent kinks.

The feature can be changed according to type of model.
Forming the Piping
Form the piping by wrapping the connecting portion of the indoor unit with insulation material and secure it with two kinds of vinyl tapes.
- If you want to connect an additional drain hose, the end of the drain outlet should be routed above the ground. Secure the drain hose appropriately.

In cases where the outdoor unit is installed below the indoor unit perform the following.
- Tape the piping, drain hose and connecting cable from down to up.
- Secure the tapped piping along the exterior wall using saddle or equivalent.

The feature can be changed according to type of model.
In cases where the Outdoor unit is installed above the Indoor unit perform the following.
- Tape the piping and connecting cable from down to up.
- Secure the taped piping along the exterior wall. Form a trap to prevent water entering the room.
- Fix the piping onto the wall using saddle or equivalent.

Air Purging
The air and moisture remaining in the refrigerant system have undesirable effects as indicated below.
- Pressure in the system rises.
- Operating current rises.
- Cooling(or heating) efficiency drops.
- Moisture in the refrigerant circuit may freeze and block capillary tubing.
- Water may lead to corrosion of parts in the refrigeration system.
Therefore, after evacuating the system, take a leak test for the piping and tubing between the indoor and outdoor unit.
Air purging with vacuum pump
- Preparation
- Check that each tube(both liquid and gas side tubes) between the indoor and outdoor units have been properly connected and all wiring for the test run has been completed. Remove the service valve caps from both the gas and the liquid side on the outdoor unit. Note that both the liquid and the gas side service valves on the outdoor unit are kept closed at this stage.
- Leak test
- Connect the manifold valve(with pressure gauges) and dry nitrogen gas cylinder to this service port with charge hoses.
NOTE: Be sure to use a manifold valve for air purging. If it is not available, use a stop valve for this purpose. The knob of the 3-way valve must always be kept close.
- Pressurize the system to maximum 17.6 kg/cm2G (R22 model) or 28.1 kg/cm2G (R410A model) with dry nitrogen gas and close the cylinder valve when the gauge reading reaches 17.6 kg/cm2G (R22 model) or 28.1 kg/cm2G (R410A model). Next step is leak test with liquid soap.
CAUTION: To avoid nitrogen entering the refrigerant system in a liquid state, the top of the cylinder must be higher than its bottom when you pressurize the system. Usually, the cylinder is used in a vertical standing position.
WARNING: There is a risk of fire and explosion. Inert gas (nitrogen) should be used when you check plumbing leaks, cleaning or repairs of pipes etc. If you are using combustible gases including oxygen, product may have the risk of fires and explosions.
- Do a leak test of all joints of the tubing(both indoor and outdoor) and both gas and liquid side service valves. Bubbles indicate a leak. Be sure to wipe off the soap with a clean cloth.
- After the system is found to be free of leaks, relieve the nitrogen pressure by loosening the charge hose connector at the nitrogen cylinder. When the system pressure is reduced to normal, disconnect the hose from the cylinder.

Soap water method
- Remove the caps from the 2-way and 3-way valves.
- Remove the service-port cap from the 3-way valve.
- Apply a soap water or a liquid neutral detergent on the indoor unit connection or outdoor unit connections by a soft brush to check for leakage of the connecting points of the piping.
- If bubbles come out, the pipes have leakage
Evacuation
- Connect the charge hose end described in the preceding steps to the vacuum pump to evacuate the tubing and indoor unit. Confirm the “Lo” knob of the pressure Gauge is open. Then, run the vacuum pump. The operation time for evacuation varies with tubing length and capacity of the pump. The following table shows the time required for evacuation.
NOTE: for R32 Only
- Electronic leak detectors shall be used to detect flammable refrigerants, but the sensitivity may not be adequate, or may need recalibration. (Detection equipment shall be calibrated in a refrigerant-free area.)
- Leak detection equipment shall be set at a percentage of the LFL (Lower flammable limit) of the refrigerant and shall be calibrated to the refrigerant employed and the appropriate percentage of gas (25 % maximum) is confirmed.
- Leak detection fluids are suitable for use with most refrigerants but the use of detergents containing chlorine shall be avoided as the chlorine may react with the refrigerant and corrode the copper pipe-work.
- If a leak is suspected, all naked flames shall be removed/extinguished.
- If a leakage of refrigerant is found which requires brazing, all of the refrigerant shall be recovered from the system, or isolated (by means of shut off valves) in a part of the system remote from the leak.
- Oxygen free nitrogen (OFN) shall be purged through the system both before and during the brazing process.
Required time for evacuation when 30 gal/h vacuum pump is used If tubing length is less than 10 m (33 ft) If tubing length is longer than 10 m (33 ft) 10 min. or more 15 min. or more - When the desired vacuum is reached, close the knob of the 3-way valve and stop the vacuum pump.
Finishing the Job
- With a service valve wrench, turn the valve of liquid side counter-clockwise to fully open the valve
- Turn the valve of gas side counter-clockwise to fully open the valve
- Loosen the charge hose connected to the gas side service port slightly to release the pressure, then remove the hose.
- Replace the flare nut and its bonnet on the gas side service port and fasten the flare nut securely with an adjustable wrench. This process is very important to prevent leakage from the system
- Replace the valve caps at both gas and liquid side service valves and fasten them tight. This completes air purging with a vacuum pump.
- Replace the pipe cover to the outdoor unit by one screw. Now the air conditioner is ready for test run.

The feature can be changed according a type of model.
Settlement of outdoor unit
- Fix the outdoor unit with a bolt and nut (ø10 mm) tightly and horizontally on a concrete or rigid mount.
- When installing on the wall, roof or rooftop, anchor the mounting base securely with a nail or wire assuming the influence of wind and earthquake.
- If the vibration of the unit is transmitted to the pipe, secure the unit with an anti-vibration rubber

Evaluation of the performance
Operate the unit for 15~20 minutes, then check the system refrigerant charge:
- Measure the pressure of the gas side service valve.
- Measure the air temperature from inlet and outlet of air conditioner.
- Ensure the difference between the inlet and outlet temperature is more than 8 °C.
- For reference; the gas side pressure at optimum condition is shown on table (cooling)
The air conditioner is now ready to use.
The feature can be changed according a type of model.
for R410A
| Outdoor Temperature | Pressure of Service Valve (Gas) |
| 35 °C (95 °F) | 8.5~9.5 kgf/cm2 G (120~135 psi) |
for R32
| Outdoor Temperature | Pressure of Service Valve (Gas) |
| 20 °C (68 °F) ~ 35 °C (95 °F) | 8.4~9.5 kgf/cm2 G (120~135 psi) |
| 35 °C (95 °F) ~ 40 °C (104 °F) | 9.5~10.5 kgf/cm2 G (135~150 psi) |
| 40 °C (104 °F) ~ 45 °C (113 °F) | 10.5~11.6 kgf/cm2 G (150~165 psi) |
| 45 °C (113 °F) ~ 48 °C (118 °F) | 11.6~12.3 kgf/cm2 G (165~175 psi) |
Test Running
- Check that all tubing and wiring are properly connected.
- Check that the gas and liquid side service valves are fully open.
Prepare remote controller
- Remove the battery cover by pulling it according to the arrow direction.
- Insert new batteries making sure that the (+) and (–) of battery are installed correctly.
- Reattach the cover by pushing it back into position

NOTE:
- Use 2 AAA(1.5 V) batteries. Do not use rechargeable batteries.
- Remove the batteries from the remote controller if the system is not used for a long time.
Test operation
- If you press and hold the On/Off button for 3 – 5 seconds instead of 6 seconds, the unit will switch to the test operation.
- In the test operation, the unit blows out strong air for cooling for 18 minutes and then returns to the factory default settings.
NOTE: If the actual pressure is higher than shown, the system is most likely overcharged, and charge should be removed. If the actual pressure are lower than shown, the system is most likely undercharged, and charge should be added.
Pump Down: This is performed when the unit is relocated or the refrigerant circuit is serviced. Pump Down means collecting all refrigerant into the outdoor unit without the loss of refrigerant.
WARNING: It may cause explosion or injury. After pump down, power must be turned off before removing the pipe. When operating this product without connecting the pipe, there will be high pressure insidce the compressor due to the entry of air, possibly causing explosion or injury.
Pump Down Procedure
- Connect a low-pressure gauge manifold hose to the charge port on the gas side service valve.
- Open the gas side service valve halfway and purge the air in the manifold hose using the refrigerant.
- Close the liquid side service valve(all the way).
- Turn on the unit’s operating switch and start the cooling operation.
- When the low-pressure gauge reading becomes 1 to 0.5 kg/cm2 G(14.2 to 7.1 P.S.I.G.), fully close the gas side valve and then quickly turn off the unit. Now Pump Down procedure is completed, and all refrigerant is collected into the outdoor unit.
Heating Only Mode
Heating Only Mode switching function setup
- Supply the power to the unit with no functions active.
- Enter the Installer Code and set the code to 47.
- Press to select the code No.47 then, check if buzzer beeps.
- Cut the power to the unit.
- Turn back on the power to the unit after 30 seconds
Heating Only Mode switching function disable setup
- Supply the power to the unit with no functions active.
- Enter the Installer Code and set the code to 48.
- Press to select the code No.48 then, check if buzzer beeps.
- Cut the power to the unit.
- Turn back on the power to the unit after 30 seconds.
How to enter the installer mode
Press Reset Button and ‘A’ Button
How to set the code
Set the code you want by pressing TEMP button ( _ ) and press.
NOTE
- Once the function is set up, Cooling, Dehumidification Auto Change over cannot be used.
- Once the function is disable it will return to its normal state.
- Code cannot be entered when it is in operation mode. It must be OFF state to enter code.
- Even if able to enter code in ON state, it won’t function if the code is not entered in OFF state.
- At Heating Only Mode, if the product gets turned off while the wireless remote control is set at other than heating / blowing, the product will not get turned back on. Turn off the product after the wireless remote control is set at heating / blowing and then turn back on.
How to enter the installer mode
Press Reset Button and ‘A’ Button ( A )
How to set the code
Set the code you want by pressing TEMP button ( _ ) and press.
SMART DIAGNOSIS
Diagnosis of operating information
- Enter the Installer Code and set the code to 57.
- Click the “Receive” button on the main screen of LG AC Smart Diagnosis App on your smart phone.
- Press and hold your smart phone close to the indoor unit.
- Receive the buzzer beeps from indoor unit with your smart phone.
- The diagnosis of operating information will be displayed on the screen of your smart phone.
Diagnosis of error information
- Enter the Installer Code and set the code to 58.
- Click the “Receive” button on the main screen of LG AC Smart Diagnosis App on your smart phone.
- Press and hold your smart phone close to the indoor unit.
- Receive the buzzer beeps from indoor unit with your smart phone.
- The diagnosis of operating information will be displayed on the screen of your smart phone.
NOTE:
- Be sure to keep ambient noise to a minimum or the smart phone may not correctly receive the buzzer beeps from the indoor unit.
- Initialization of diagnosis data may take approximately 1 minute after supplying the AC power .
- The code No. 57 is used for confirming the diagnosis data which is updated on while the indoor unit is operating
- The code No. 58 is used for confirming the diagnosis data which is the occurred time of Error Code.
Installation guide at the seaside
CAUTION:
- Air conditioners should not be installed in areas where corrosive gases, such as acid or alkaline gas, are produced.
- Do not install the product where it could be exposed to sea wind (salty wind) directly. It can result corrosion on the product. Corrosion, particularly on the condenser and evaporator fins, could cause product malfunction or inefficient performance.
- If outdoor unit is installed close to the seaside, it should avoid direct exposure to the sea wind. Otherwise it needs additional anticorrosion treatment on the heat exchanger.
Selecting the location (Outdoor Unit)
If the outdoor unit is to be installed close to the seaside, then direct exposure to the sea wind should be avoided. Install the outdoor unit on the opposite side of the sea wind direction.
In case of installing the outdoor unit on the sea side, setup a windbreak to prevent sea wind.
- It should be strong enough like concrete to prevent the sea wind from the sea.
- The height and width should be more than 150% of the outdoor unit.
- Keep more than 70 cm of space between outdoor unit and the windbreak for easy air flow.
Select a well-drained place.
- If you can’t meet above guide line in the seaside installation, please contact LG Electronics for the additional anticorrosion treatment.
- Periodic ( more than once/year ) cleaning of the dust or salt particles stuck on the heat exchanger by using water
- Do not use seawater when you clean up the heat exchanger.
Piping Length and Elevation
Single Split Model
| Capacity (kW) | Pipe Size | Standard Length (m) | Max. Length Ⓐ (m) | Max. Elevation Ⓑ (m) | Additional Re- frigerant (g/m) | |||
| GAS | LIQUID | |||||||
| mm | inch | mm | inch | |||||
| 2.5/3.5 | Ø9.52 | 3/8 | Ø6.35 | 1/4 | 7.5 | 20 | 10 | 20 |
| 5.0 | Ø12.7 | 1/2 | Ø6.35 | 1/4 | 7.5 | 20 | 10 | 20 |
| 6.6 | Ø15.88 | 5/8 | Ø6.35 | 1/4 | 7.5 | 30 | 15 | 30 |
During the installation and binding of Multi model, refer to Multi outdoor unit installation manual.
Multi Model
| Capacity (kW) | Pipe Size | |||
| GAS | LIQUID | |||
| mm | inch | mm | inch | |
| 1.5/2.1/2.5/3.5/4.2 | Ø9.52 | 3/8 | Ø6.35 | 1/4 |
| 5.0/6.6 | Ø12.7 | 1/2 | Ø6.35 | 1/4 |

CAUTION: Capacity is based on standard length and maximum allowable length is on the basis of reliability. Additional refrigerant must be charged after 12.5 m (2.5/3.5 kW Model) / 7.5 m (5.0/6.6 kW Model.
Operation ranges
The table below indicates the temperature ranges the air conditioner can be Operated within.
| Capacity | Mode | Indoor temperature | Outdoor temperature |
| 2.5/3.5 kW | Cooling | 18 °C ~ 32 °C | -15 °C ~ 48 °C |
| Heating | 16 °C ~ 30 °C | -15 °C ~ 24 °C | |
| 5.0/6.6 kW | Cooling | 18 °C ~ 32 °C | -15 °C ~ 48 °C |
| Heating | 16 °C ~ 30 °C | -10 °C ~ 24 °C |
Manual the decor, air filter Assembly & Disassembly
Disassemble the decor
- Turn off the power and unplug the power cord.
- Pull the decor at the bottom of the indoor unit.

- Remove the decor from the indoor unit.

Assemble the decor
- Turn off the power and unplug the power cord.
- Insert 3 or 4 hooks of the decor into gap of the indoor unit certainly.

- Push the nooks to assemble the decor.
CAUTION: The air filter can be broken when it is bended.
Disassemble the air filter
- Turn off the power and unplug the power cord.
- Hold the knob of the air filter, Lift it up slightly.

- Hold the knob of the air filter, lift it up slightly and remove it from the unit.

Assemble the air filter
- Turn off the power and unplug the power cord.
- Insert the hooks of the air filter into the front grille.

- Push down hooks to assemble the air filter.

- Check side of the front grille for the air filter assembled correctly.
NOTE: If the air filter is not assembled correctly, Dust and other substance come into the indoor unit. If look at the indoor unit from higher than it, can assemble the air filter easily.
Precautions about installation in regions with extreme snowfall and cold temperatures
To ensure the outdoor unit operates properly, certain measures are required in locations where there is a possibility of heavy snowfall or severe wind chill or cold :
- Prepare for severe winter wind chills and heavy snowfall, even in areas of the country where these are unusual phenomena.
- Position the outdoor unit so that its airflow fans are not buried by direct, heavy snowfall. If snow piles up and blocks the airflow, the system may malfunction.
- Remove any snow that has accumulated 100 mm or more on the top of the outdoor unit.
- Place the outdoor unit on a raised platform at least 500 mm higher than the aver- age annual snowfall for the area. If the frame width is wider than the outdoor unit, snow may accumulate.
- Install a snow protection hood.
- To prevent snow and heavy rain from entering the outdoor unit, install the suction and dis- charge ducts facing away from direct winds.
- Additionally, the following conditions should be taken into consideration when the unit operates in defrost mode:
- If the outdoor unit is installed in a highly humid environment (near an ocean, lake, etc.), ensure that the site is well-ventilated and has a lot of natural light. (Example: Install on a rooftop.)
TIPS FOR SAVING ENERGY
Here are some tips that will help you minimize the power consumption when you use the air conditioner. You can use your air conditioner more efficiently by referring to the instructions below:
- Do not cool excessively indoors. This may be harmful for your health and may consume more electricity.
- Block sunlight with blinds or curtains while you are operating the air conditioner.
- Keep doors or windows closed tightly while you are operating the air conditioner.
- Adjust the direction of the air flow vertically or horizontally to circulate indoor air.
- Speed up the fan to cool or warm indoor air quickly, in a short period of time.
- Open windows regularly for ventilation as the indoor air quality may deteriorate if the air conditioner is used for many hours.
- Clean the air filter once every 2 weeks. Dust and impurities collected in the air filter may block the air flow or weaken the cooling / dehumidifying functions.
For your records
Staple your receipt to this page in case you need it to prove the date of purchase or for warranty purposes. Write the model number and the serial number here:
Model number :
Serial number :
You can find them on a label on the side of each unit.
Dealer’s name:
Date of purchase:















NOTE: To protect the chassis cover bended, assembly chassis cover correctly.




When Indoor unit (6.6 kW) is connected to the Multi Outdoor unit, use the connector.




When Indoor unit(5.0/6.6 kW) is connected to the Multi Outdoor unit, use the connector shown above.





The feature can be changed according to type of model


































