LG W121CE SL0/W122CE SL0 Window Air Conditioner
SAFETY INSTRUCTIONS
READ ALL INSTRUCTIONS BEFORE USE
Your safety and the safety of others are very important. We have provided many important safety messages in this manual and on your appliance. Always read and follow all safety messages. This is the safety alert symbol. This symbol alerts you to potential hazards that can kill or injure you and others. All safety messages will follow the safety alert symbol and either the word WARNING or CAUTION.
These words mean:
WARNING
You may be killed or seriously injured if you do not follow instructions.
CAUTION
You may be injured or cause damage to the product if you do not follow instructions. All safety messages will tell you what the potential hazard is, tell you how to reduce the chance of injury, and tell you what may happen if the instructions are not followed.
The following symbols are displayed on units.
- This symbol indicates that this appliance uses a flammable refrigerant. If the refrigerant is leaked and exposed to an external ignition source, there is a risk of fire.
- This symbol indicates that the Operation Manual should be read carefully.
- This symbol indicates that service personnel should be handling this equipment with reference to the Installation Manual.
- This symbol indicates that information is available such as the
- Operating Manual or Installation Manual
WARNING
To reduce the risk of explosion, fire, death, electric shock, scalding, or injury to persons when using this product, follow basic precautions, including the following
INSTALLATION
- Before use, the appliance must be properly installed as described in this manual.
- Contact the authorized service technician for repair or maintenance of this unit.
- Contact the installer for the installation of this unit.
- The air conditioner is not intended for use by young children or invalids without supervision.
- Keep any required ventilation openings clear of obstruction.
- Compliance with national gas regulations shall be observed.
- When the power cord is to be replaced, replacement work shall be performed by authorized personnel only using only genuine replacement parts.
- Installation work must be performed in accordance with the National Electric Code by qualified and authorized personnel only.
- Connect to a properly rated, protected, and sized power circuit to avoid electrical overload. Always plug into a grounded outlet.
- Do not under any circumstances, cut or remove the third (ground) prong from the power cord.
- When installing or moving the appliance, be careful not to pinch, crush, or damage the power cord.
- Plug in the power plug properly.
- Do not modify or extend the power cord.
- Do not start/stop operation by plugging/unplugging the power cord.
- Do not turn on the circuit breaker or power under the condition that the front grille, cabinet, or control box are removed or opened. Otherwise, it may cause fire, electric shock, explosion, or death.
- If the supply cord is damaged, it must be replaced by the manufacturer, its service agent, or a similarly qualified person in order to avoid a hazard.
- Use a dedicated circuit.
- Do not disassemble or modify the product.
- Adhere to all industry-recommended safety procedures including the use of long-sleeved gloves and safety glasses.
- Disconnect the power cord or circuit breaker before installing or servicing the appliance.
- Keep packaging materials out of the reach of children. These materials can pose a suffocation risk to children.
- Store and install the product where it will not be exposed to temperatures below freezing or exposed to outdoor weather conditions.
- Do not store or use gasoline or other flammable vapors and liquids in the vicinity of this or any other appliance.
OPERATION
- Use this appliance only for its intended purpose.
- Never attempt to operate this appliance if it is damaged, malfunctioning, partially disassembled or has missing or broken parts, including a damaged cord or plug.
- Repair or immediately replace all power cords that have become frayed or otherwise damaged. Do not use a cord that shows cracks or abrasion damage along its length or at either end.
- Do not run cord under carpets or mats where it could be stepped on and damaged.
- Keep the cord out from under heavy objects like tables or chairs.
- Do not place the power cord near a heat source.
- Do not use an adaptor or plug the product into a shared outlet.
- Do not tamper with controls.
- If you detect a strange sound, a chemical or burning smell, or smoke coming from the appliance, unplug it immediately, and contact the LG Electronics Customer Information Center.
- Never unplug the appliance by pulling on the power cord. Always grip the plug firmly and pull it straight out from the outlet.
- Do not grasp the power cord or touch the appliance controls with wet hands.
- If water enters the product, turn off the power at the main circuit, then unplug the product and call or service.
- If the product has been submerged, contact the LG Electronics Customer Information Center for instructions before resuming use.
- Unplug the product when unused for long periods.
- Unplug the product before cleaning.
- In the event of a gas leak (propane gas, etc.) do not operate this or any other appliance. Open a window or door to ventilate the area immediately.
- This appliance is not intended for use by persons (including children) with reduced physical, sensory or mental capabilities, or lack of experience and knowledge unless they have been given supervision or instruction concerning the use of the appliance by a person responsible for their safety. Children should be supervised to ensure that they do not play with the appliance.
- The interior of the product must only be cleaned by an authorized service center or a dealer.
- Do not use solvent-based detergent on the product. Doing so can cause corrosion or damage, product failure, electrical shock, or fire.
GROUNDING INSTRUCTIONS
- The power cord of this appliance is equipped with a three-prong (grounding) plug. Use this with a standard three-slot (grounding) wall power outlet to minimize the hazard of electric shock. The customer should have the wall receptacle and circuit checked by a qualified electrician to make sure the receptacle is properly grounded. DO NOT CUT OR REMOVE THE THIRD (GROUND) PRONG FROM THE POWER PLUG.
- Situations when the appliance will be disconnected occasionally; Because of potential safety hazards, we strongly discourage the use of an adapter plug.
- Attaching the adapter ground terminal to the wall receptacle cover screw does not ground the appliance unless the cover screw is metal, and not insulated, and the wall receptacle is grounded through the house wiring. The customer should have the circuit checked by a qualified electrician to make sure the receptacle is properly grounded.
- Disconnect the power cord from the adapter, using one hand on each. Otherwise, the adapter ground terminal might break. Do not use the appliance with a broken adapter plug.
- Situations when the appliance will be disconnected often; Do not use an adapter plug in these situations. Unplugging the power cord frequently can lead to an eventual breakage of the ground terminal. The wall power outlet should be replaced by a three-slot (grounding) outlet instead.
CAUTION
To reduce the risk of minor or moderate injury to persons, malfunction, or damage to the product or property when using this product, follow basic precautions, including the following:
INSTALLATION
- Take care when installing the product that exhaust or condensation does not damage nearby property.
- Follow installation instructions exactly to avoid excessive vibration or water leakage.
- Do not install the appliance in an area where it is directly exposed to sea air (salt spray).
- Saline conditions are a cause of corrosion. (Particularly, corrosion of the condenser and
evaporator can damage the appliance or impair its performance.)
- Saline conditions are a cause of corrosion. (Particularly, corrosion of the condenser and
- Set up a windbreak in front of the outdoor unit if installing it in coastal areas.
- Avoid direct exposure to salt winds.
- Install a firm and stiff concrete-wind shield that can withstand salt winds.
- Wear gloves and use caution when unpacking and installing the appliance. Screws or sharp edges can cause injuries.
OPERATION
- This appliance is not intended for use as a precision refrigeration system. Do not use it for special purposes such as maintaining pets, food, precision machinery, or art objects.
- When installing or moving the appliance, be careful not to pinch, crush, or damage the power cord.
- Make sure the air inlet and outlet are free from obstructions.
- Use a soft cloth to clean the appliance. Do not use waxes, thinners, or harsh detergents.
- Do not step on or place heavy objects on top of the appliance.
- Do not operate the appliance without the filter securely installed.
- Do not drink water drained from the appliance.
- Be sure to ventilate sufficiently when the air conditioner and a heating appliance such as a heater are used simultaneously.
- Being exposed to direct airflow for an extended period of time could be hazardous to your health.
- Remove the batteries if the remote control is not to be used for an extended period of time.
- Never mix different types of batteries or old and new batteries for the remote control.
- Stop using the remote control if there is a fluid leak in the battery. If your clothes or skin are exposed to the leaking battery fluid, wash off with clean water.
- If the leaking battery fluid has been swallowed, rinse the inside of the mouth thoroughly and consult a doctor.
- Do not recharge or disassemble the batteries.
MAINTENANCE
- Clean the filter every two weeks.
- Never touch the metal parts of the air conditioner when removing the air filter.
- Never use strong cleaning agents or solvents when cleaning the air conditioner or spraying water. Use a smooth cloth.
IMPORTANT WARNING
Checks to the area
- Prior to beginning work on systems containing flammable refrigerants, safety checks are necessary to ensure that the risk of ignition is minimized. For repair to the refrigerating system, the following precautions shall be complied with prior to conducting work on the system.
Work procedure
- Work shall be undertaken under a controlled procedure so as to minimize the risk of flammable gas or vapor being present while the work is being performed.
General work area
- All maintenance staff and others working in the local area shall be instructed on the nature of the work being carried out. Work in confined spaces shall be avoided. The area around the workspace shall be sectioned off. Ensure that the conditions within the area have been made safe by control of flammable material.
Checking for the presence of refrigerant
- The area shall be checked with an appropriate refrigerant detector prior to and during work, to ensure the technician is aware of potentially flammable atmospheres. Ensure that the leak detection equipment being used is suitable for use with flammable refrigerants, i.e. non-sparking, adequately sealed, or intrinsically safe.
Presence of a fire extinguisher
- If any hot work is to be conducted on the refrigeration equipment or any associated parts, appropriate fire extinguishing equipment shall be available to hand. Have a dry powder or CO2 fire extinguisher adjacent to the charging area.
No ignition sources
- No person carrying out work in relation to a refrigeration system that involves exposing any pipe work that contains or has contained flammable refrigerant shall use any sources of ignition in such a manner that it may lead to the risk of fire or explosion. All possible ignition sources, including cigarette smoking, should be kept sufficiently far away from the site of installation, repairing, removal, and disposal, during which flammable refrigerant can possibly be released to the surrounding space. Prior to work taking place, the area around the equipment is to be surveyed to make sure that there are no flammable hazards or ignition risks. “No Smoking” signs shall be displayed.
Ventilated area
- Ensure that the area is in the open or that it is adequately ventilated before breaking into the system or conducting any hot work. A degree of ventilation shall continue during the period that the work is carried out. The ventilation should safely disperse any released refrigerant and preferably expel it externally into the atmosphere.
Checks to the refrigeration equipment
- Where electrical components are being changed, they shall be fit for the purpose and to the correct specification. At all times the manufacturer’s maintenance and service guidelines shall be followed. If in doubt consult the manufacturer’s technical department for assistance.
- The following checks shall be applied to installations using flammable refrigerants:
- The actual refrigerant charge is in accordance with the room size within which the refrigerant-containing parts are installed.
- The ventilation machinery and outlets are operating adequately and are not obstructed.
- If an indirect refrigerating circuit is being used, the secondary circuit shall be checked for the presence of refrigerant.
- The marking of the equipment continues to be visible and legible. Markings and signs that are illegible shall be corrected.
- Refrigeration pipes or components are installed in a position where they are unlikely to be exposed to any substance which may corrode refrigerant-containing components unless the components are constructed of materials that are inherently resistant to being corroded or are suitably protected against being so corroded.
Checks to electrical devices
- Repair and maintenance of electrical components shall include initial safety checks and component inspection procedures. If a fault exists that could compromise the safety, then no electrical supply shall be connected to the circuit until it is satisfactorily dealt with. If the fault cannot be corrected immediately but it is necessary to continue operation, an adequate temporary solution shall be used. This shall be reported to the owner of the equipment so all parties are advised.
Initial safety checks shall include:
- Capacitors are discharged: this shall be done in a safe manner to avoid the possibility of sparking.
- No live electrical components and wiring are exposed while charging, recovering, or purging the system.
- Continuity of earth bonding.
Repairs to sealed components
- During repairs to sealed components, all electrical supplies shall be disconnected from the equipment being worked upon prior to any removal of sealed covers, etc.
- If it is absolutely necessary to have an electrical supply to equipment during servicing, then a permanently operating form of leak detection shall be located at the most critical point to warn of a potentially hazardous situation.
- Particular attention shall be paid to the following to ensure that by working on electrical components, the casing is not altered in such a way that the level of protection is affected.
- This shall include damage to cables, an excessive number of connections, terminals not made to original specification, damage to seals, incorrect fitting of glands, etc.
- Ensure that the apparatus is mounted securely.
- Ensure that seals or sealing materials have not degraded such that they no longer serve the purpose of preventing the ingress of flammable atmospheres.
- Replacement parts shall be in accordance with the manufacturer’s specifications.
Repair to intrinsically safe components
- Do not apply any permanent inductive or capacitance loads to the circuit without ensuring that this will not exceed the permissible voltage and currently permitted for the equipment in use.
- Intrinsically safe components are the only types that can be worked on while living in the presence of a flammable atmosphere.
- The test apparatus shall be at the correct rating.
- Replace components only with parts specified by the manufacturer.
- Other parts may result in the ignition of refrigerant in the atmosphere from a leak
Cabling Check
- Cabling will not be subject to wear, corrosion, excessive pressure, vibration, sharp edges, or any other adverse environmental effects. The check shall also take into account the effects of aging or continual vibration from sources such as compressors or fans.
Detection of flammable refrigerants
- Under no circumstances shall potential sources of ignition be used in the searching for or detection of refrigerant leaks. A halide torch (or any other detector using a naked flame) shall not be used.
Leak detection methods
- The following leak detection methods are deemed acceptable for systems containing flammable refrigerants.
- Electronic leak detectors shall be used to detect flammable refrigerants, but the sensitivity may not be adequate or may need re-calibration. (Detection equipment shall be calibrated in a refrigerant-free area.) Ensure that the detector is not a potential source of ignition and is suitable for the refrigerant used.
- Leak detection equipment shall be set at a percentage of the LFL of the refrigerant and shall be calibrated to the refrigerant employed and the appropriate percentage of gas (25 % maximum) is confirmed. chlorine shall be avoided as the chlorine may react with the refrigerant and corrode the copper pipework.
- If a leak is suspected, all naked flames shall be removed/extinguished. If leakage of refrigerant is found which requires brazing, all of the refrigerants shall be recovered from the system, or isolated (by means of shut-off valves) in a part of the system remote from the leak. Oxygen-free nitrogen (OFN) shall then be purged through the system both before and during the brazing process.
Removal and evacuation
- When breaking into the refrigerant circuit to make repairs or for any other purpose conventional procedures shall be used. However, it is important that best practice is followed since flammability is a consideration. The following procedure shall be adhered to:
- Remove refrigerant
- Purge the circuit with inert gas
- Evacuate
- Purge again with inert gas
- Open the circuit by cutting or brazing.
- The refrigerant charge shall be recovered into the correct recovery cylinders. The system shall be “flushed” with OFN to render the unit safe. This process may need to be repeated several times. Compressed air or oxygen shall not be used for this task. Flushing shall be achieved by breaking the vacuum in the system with OFN and continuing to fill until the working pressure is achieved, then venting to the atmosphere, and finally pulling down to a vacuum. This process shall be repeated until no refrigerant is within the system. When the final OFN charge is used, the system shall be vented down to atmospheric pressure to enable work to take place. This operation is absolutely vital if brazing operations on the pipe-work are to take place. Ensure that the outlet for the vacuum pump is not close to any ignition sources and there is ventilation available.
Charging procedures
- In addition to conventional charging procedures, the following requirements shall be followed.
- Ensure that contamination of different refrigerants does not occur when using charging equipment.
- Hoses or lines shall be as short as possible to minimize the amount of refrigerant contained in them.
- Cylinders shall be kept upright.
- Ensure that the refrigeration system is earthed prior to charging the system with refrigerant.
- Label the system when charging is complete (if not already).
- Extreme care shall be taken not to overfill the refrigeration system. Prior to recharging the system, it shall be pressure tested with OFN. The system shall be leak tested on completion of charging prior to commissioning. A follow-up leak test shall be carried out prior to leaving the site.
Decommissioning
- Before carrying out this procedure, it is essential that the technician is completely familiar with the equipment and all its detail. It is recommended good practice that all refrigerants are recovered safely. Prior to the task being carried out, an oil and refrigerant sample shall be taken in case analysis is required prior to re-use of reclaimed refrigerant. It is essential that electrical power is available before the task is commenced.
a) Become familiar with the equipment and its operation.
b) Isolate system electrically.
c) Before attempting the procedure ensure that: - mechanical handling equipment is available, if required, for handling refrigerant cylinders;
- all personal protective equipment is available and being used correctly;
- the recovery process is supervised at all times by a competent person;
- recovery equipment and cylinders conform to the appropriate standards.
d) Pump down the refrigerant system, if possible.
e) If a vacuum is not possible, make a manifold so that refrigerant can be removed from various parts of the system.
f) Make sure that the cylinder is situated on the scales before recovery takes place.
g) Start the recovery machine and operate in accordance with the manufacturer’s instructions.
h) Do not overfill cylinders. (No more than 80 % volume liquid charge).
i) Do not exceed the maximum working pressure of the cylinder, even temporarily
j) When the cylinders have been filled correctly and the process completed, make sure that the cylinders and the equipment are removed from the site promptly and all isolation valves on the equipment are closed off.
k) Recovered refrigerant shall not be charged into another refrigeration system unless it has been cleaned and checked.
Labeling
- Equipment shall be labeled stating that it has been de-commissioned and emptied of refrigerant.
- The label shall be dated and signed. Ensure that there are labels on the equipment stating the equipment contains flammable refrigerant
Recovery
- When removing refrigerants from a system, either for servicing or decommissioning, it is recommended good practice that all refrigerants are removed safely.
- When transferring refrigerant into cylinders, ensure that only appropriate refrigerant recovery cylinders are employed. Ensure that the correct number of cylinders for holding the total system charge are available. All cylinders to be used are designated for the recovered refrigerant and labeled for that refrigerant (i.e. special cylinders for the recovery of refrigerant). Cylinders shall be complete with a pressure relief valve and associated shut-off valves in good working order. Empty recovery cylinders are evacuated and, if possible, cooled before recovery occurs. The recovery equipment shall be in good working order with a set of instructions concerning the equipment that is at hand and shall be suitable for the recovery of flammable refrigerants. In addition, a set of calibrated weighing scales shall be available and in good working order. Hoses shall be complete with leak-free disconnect couplings and in good condition. Before using the recovery machine, check that it is in satisfactory working order, has been properly maintained, and that any associated electrical components are sealed to prevent ignition in the event of a refrigerant release. Consult the manufacturer if in doubt. The recovered refrigerant shall be returned to the refrigerant supplier in the correct recovery cylinder, and the relevant Waste Transfer Note arranged. Do not mix refrigerants in recovery units and especially not in cylinders. If compressors or compressor oils are to be removed, ensure that they have been evacuated to an acceptable level to make certain that flammable refrigerant does not remain within the lubricant. The evacuation process shall be carried out prior to returning the compressor to the suppliers. Only electric heating to the compressor body shall be employed to accelerate this process. When oil is drained from a system, it shall be carried out safely
REFRIGERANT (FOR R32 ONLY)
WARNING
- Do not use means to accelerate the defrosting process or to clean, other than those recommended by the manufacturer.
- The appliance shall be stored in a room without continuously operating open flames (for example an operating gas appliance) and ignition sources (for example an operating electric heater).
- Do not pierce or burn. Be aware that flammable refrigerants may not contain an odor.
- The appliance shall be stored in a well-ventilated area where the room size corresponds to the room area as specified for operation.
- The appliance shall be stored so as to prevent mechanical damage from occurring.
Technical Safety
- Any person who is involved with working on or breaking into a refrigerant circuit should hold a currently valid certificate from an industry-accredited assessment authority, which authorizes their competence to handle refrigerants safely in accordance with an industry-recognized assessment specification.
- Servicing shall only be performed as recommended by the equipment manufacturer. Maintenance and repair requiring the assistance of other skilled personnel shall be carried out under the supervision of the person competent in the use of flammable refrigerants
PRODUCT OVERVIEW

- Control Panel 1 Evaporator
- Remote Control 2 Air Guide
- Air Filter 3 Brace
- Vertical Air Deflector (Horizontal Louver) 4 Compressor
- Horizontal Air Deflector (Vertical Louver) 5 Condenser
- Front Grille 6 Base Pan
- Air Outlet 7 Power Cord
- Cabinet
INSTALLATION
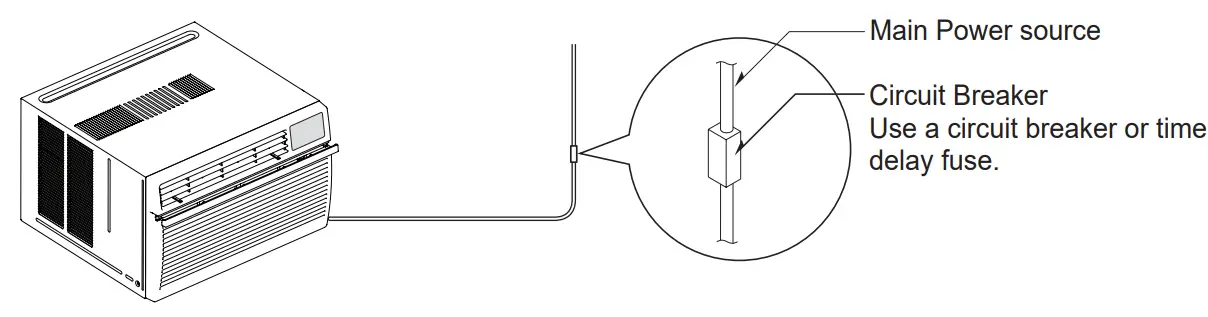
Circuit Breaker Installation
Read thoroughly and follow all directions provided. A circuit breaker must be installed between the power source and the unit if the plug is not used (see illustration below).
NOTE
| Model | Voltage | Frequency | Circuit Breaker |
| W121CE SL0 | 115 V~ | 60 Hz | 20 A |
| W122CE SL0 | 220 V~ | 60 Hz | 15 A |
Installation Overview

Tools Needed

How to Install the Unit
- Measure the space for installation to assure a good fit. The air conditioner must be installed firmly into place to prevent vibration and noise.
- Avoid exposure to direct sunlight.
- Remove all obstacles from the rear of the unit. There must be at least 50 cm (20 in.) of cleared space around the rear of the unit. Obstacles restricting the airflow may reduce the cooling efficiency of the unit.
- The unit should be installed with a slight tilt towards the outside to allow condensed water to drain. (About 10~15 mm or 1/4 bubble with Level)

CAUTION
- The external grille must be exposed outside for air discharge.
Preparation of the Cabinet
- Remove 4 screws that fasten the cabinet on both sides and at the back. (Keep the screws for later use.)

- Slide the unit from the cabinet by gripping the base pan handle and pulling forward while bracing the cabinet

CAUTION
- The unit is heavy. To prevent injury, use proper lifting techniques when pulling the unit forward from the cabinet. Obtain assistance from another person if possible. Drainage (Optional) The base pan may overflow due to high humidity. To drain the excess water, remove the drain cap from the base pan of the unit and secure the
Drain Pan
- Remove the rubber cap from the hole under the base-pan

- Install the drain pan over the corner of the cabinet with 2-4 screws.
- Connect the drain hose to the outlet located on the bottom of the drain pan. (You can purchase the drain hose or tubing locally to satisfy your particular needs. Drain hose is not supplied.)

Installation of the Cabinet
- Prepare the hole in the wall so that the bottom of the cabinet is well supported, the top has minimum clearance and the air inlet louvers have clearance as shown. Holes from the outside through to the cavity should be sealed. The cabinet should slope down towards the rear by about 10~15 mm to allow water formed during operation to drain.
- Install the cabinet into the wall and secure it. Ensure the foam seals are not damaged. Flash, seal, or fill gaps around the inside and outside to provide a satisfactory appearance and protection against the weather, insects, and rodents.
NOTE
- The unit may be supported by a solid frame from below or by a hanger from a solid overhead support.

Space for Outside Air Flow

Installations of the unit into the Cabinet
- Slide the air conditioner into the case. Reinstall the 2 screws removed earlier on each side of the case
CAUTION
The unit is heavy. Use an assistant to help lift the unit and set it in place. Lifting and maneuvering the unit by yourself could result in injury.
- Stuff the foam around the unit to prevent air and insects from getting into the room

- Connect the wire harness from the front grille assembly to the air conditioner

- Attach the front grille assembly to the cabinet by inserting the grille tabs into the slots on the front of the cabinet. Push the grille in until it snaps into place

- Remove the air filter from the front grille by pulling the filter forward and then up slightly.
Insert 2 screws (L:10 mm) through the front grille.
OPERATION
Control Panel and Remote Control

NOTE
- The feature may be changed according to the type of model
- Power
Press to turn the air conditioner ON or OFF. - Fan Speed
Press to set the Fan Speed (Nivel Vent.) to Low (Bajo) (F1), Medium (Medio) (F2) or High (Alto) (F3). - Delay ON/OFF Timer
- Delay ON – When the air conditioner is off, set it to automatically turn on from 1 to 24 hours later, at its previous mode and fan settings.
- Delay OFF – When the air conditioner is on, set it to automatically turn off from 1 to 24 hours later.
NOTE
- Operation Mode
Press the Mode (Modo) button to cycle between 4 types of air conditioner operation: Energy Saver (Ahorro Energía) / Cool (Frío) / Fan (Vent.) / Dry (Deshum)- Energy Saver– In this mode the compressor and fan turn off when the set temperature is achieved. Approximately every 3 minutes the fan turns on to allow the unit sensor to accurately determine if more cooling is needed.
- Cool– This mode is ideal on hot days to cool and dehumidify the room quickly. Use the Temp buttons to set the desired room temperature and use the Fan Speed (Nivel Vent.) button to set the desired fan circulation speed.
- Fan– In this mode the fan circulates air but the compressor does not run. Use the Fan Speed (Nivel Vent.) button to set the fan speed to High, Medium, or Low. In this mode, you cannot adjust the set temperature.
- Dry– This mode is ideal for rainy and damp days to dehumidify the room rather than cool it significantly. Humidity is removed from the room by the combination of compressor operation and the fan speed fixed at Low. The compressor and fan turn off once the set temperature is reached. Fan speed cannot be adjusted in Dry (Deshum) mode.
- Temperature Control
The thermostat monitors room temperature to maintain the desired temperature. The thermostat can be set between 16 °C–30 °C (60 °F–86 °F). Press or arrows to increase or decrease the temperature setting. - Remote Control Sensor
- Clean Filter
The Clean Filter (Limpieza Filtro) LED lights up to notify you that the filter needs to be cleaned. After cleaning the filter, press Temp and together on the control panel to turn off the Clean Filter (Limpieza Filtro) light.
NOTE
- The filter reset must be done using the control panel, not the remote control.
- This feature is a reminder to clean the air filter for more efficient operation. The LED light turns on after 250 hours of operation.
NOTE
- Auto Restart: If the air conditioner turns off due to a power outage, it will restart automatically once the power is restored, with the same settings as were set before the unit turned off.
- Energy Saver: The unit defaults to the Energy Saver (Ahorro Energía) mode each time the unit is switched on except in Fan (Vent.) mode or when power is restored after an electrical power outage.
- The remote control will not function properly if the AC infrared sensor is exposed to direct light or if there are obstacles between the remote controller and the air conditioner.
Wireless Remote Control
Inserting Batteries
- Push out the cover on the back of the remote control with your thumb.

- With the plus and minus poles facing as marked, insert two new AAA 1.5 V batteries.

- Reattach the cover.
NOTE
- New batteries are supplied with the air conditioner for use in the remote control.
- Do not use a rechargeable battery. Make sure that the battery is new.
- In order to prevent discharge, remove the battery from the remote control if the air conditioner is not going to be used for an extended period of time.
- Keep the remote control away from extremely hot or humid places.
- To maintain the optimal operation of the remote control, the remote sensor should not be exposed to direct sunlight.
Air Direction
Airflow can be adjusted by changing the direction of the air conditioner’s louvers.
- Adjusting Horizontal Airflow Direction: The horizontal airflow is adjusted by moving the levers of the vertical louvers to the left or right.

- Adjusting Vertical Airflow Direction: Touch the horizontal louvers to adjust the airflow up or down.

NOTE
- When the weather is extremely hot, the unit may turn off automatically to protect the compressor.
Slinger Fan
This air conditioner is equipped with a slinger fan. (See drawing.) The fan’s outer ring picks up the condensed water from the base pan if the water level gets high enough. The water is then picked up by the fan and expelled through the condenser, making the air conditioner more efficient.
MAINTENANCE
WARNING
- Before cleaning or performing maintenance, disconnect the power supply and wait until the fan stops.
Air Filter
Check the air filter at least twice a month to see if cleaning is necessary. Trapped particles in the filter can build up and block the airflow, reducing cooling capacity and causing an accumulation of frost on the evaporator.
Cleaning the Air Filter
- Remove the air filter from the front grille by pulling the filter forward and then up slightly.

- Wash the filter using lukewarm water below 40 °C (104 °F).

- Gently shake the excess water from the filter.
- Dry the filter in the shade.
- Insert the filter into the Front grille.
Cleaning the Air Conditioner
- Wipe the front grille and inlet grille with a cloth dampened in a mild detergent solution.
- Wash the cabinet with mild soap or detergent and lukewarm water, then polish using liquid appliance wax.

NOTE
- To ensure continued peak efficiency, the condenser coils (outside of the unit) should be checked periodically and cleaned if clogged with soot or dirt from the outside air.
- For repair and maintenance, contact an LG Electronics Customer Information Center. See the warranty card for details or call – 5321-1919. Have your model number and serial number available.
TROUBLESHOOTING
Before Calling for Service
The appliance is equipped with an automatic error-monitoring system to detect and diagnose problems at an early stage. If the appliance does not function properly or does not function at all, check the following before you call for service.
Normal Sounds You May Hear

- High Pitched Chatter
Today’s high-efficiency compressors may have a high-pitched chatter during the cooling cycle. - Sound of Rushing Air
At the front of the unit, you may hear the sound of rushing air being moved by the fan. - Gurgle/Hiss
Gurgling or hissing noise may be heard due to refrigerant passing through the evaporator during normal operation. - Vibration
The unit may vibrate and make noise because of poor wall or window construction or incorrect installation. - Pinging or Swishing
Droplets of water hitting condenser during normal operation may cause pinging or swishing
| Problem | Possible Causes & Corrective Action |
|
Air conditioner does not start. | The air conditioner is unplugged. · Make sure the air conditioner plug is pushed completely into the outlet. |
| The fuse is blown/circuit breaker is tripped. · Check the house fuse/circuit breaker box and replace the fuse or reset the breaker. | |
| Power failure. · If power failure occurs, turn the mode control to off. When power is restored, wait 3 minutes to restart the air conditioner to prevent tripping of the compressor overload. | |
|
Air conditioner does not cool as it should. | Airflow is restricted. · Make sure there are no curtains, blinds, or furniture blocking the front of the air conditioner. |
| The temp control may not be set correctly. · Set the desired temperature to a level lower than the current temperature. | |
| The air filter is dirty. · Clean the filter at least every 2 weeks. See the ‘MAINTENANCE (Cleaning the Air Filter)’ section. | |
| The room may have been hot. · When the air conditioner is first turned on, you need to allow time for the room to cool down. | |
| Cold air is escaping. · Check for open furnace floor registers and cold air returns. | |
| Cooling coils have iced up. · See ‘Air conditioner freezing up below. | |
| The air conditioner freezing up. | The cooling coils are iced over. · Ice may block the airflow and obstruct the air conditioner from properly cooling the room. Set the Fan Speed to High at Fan or Cool mode. |
| Water drips outside. | Hot, humid weather. · This is normal. |
| Problem | Possible Causes & Corrective Action |
| Water drips Indoors. | The air conditioner is not tilted to the outside. · For proper water disposal, make sure the air conditioner slants slightly from the cabinet front to the rear. |
| Water collects in base pan. | Moisture removed from air and drains into base pan. · This is normal for a short period in areas with little humidity; normal for a longer period in very humid areas. |
| Air conditioner turns on and off rapidly. | Dirty air filter – air restricted. · Clean air filter. |
| Outside temperature extremely hot. · Refer to installation instructions or check with installer. | |
| Noise when unit is cooling. | Air movement sound. · This is normal. If too loud, set to lower FAN Speed. |
| Window vibration – poor installation. · Refer to installation instructions or check with the installer. | |
| Room too cold. | Set temperature too low. · Increase set temperature. |
| Remote sensing deactivating prematurely. | Remote control not located within range. · Place remote control within 6.1 m & 120° radius of the front of the unit. |
| Remote control signal obstructed. · Remove obstruction. |
NOTE: If you see “CH” in the display, please call 55-5321-1919
| Model | Voltage | Frequency | Cooling | Heating | ||
| Power | Current | Power | Current | |||
| W121CE SL0 | 115 V~ | 60 Hz | Nor. 1,040 W Max. 1,760 W | Nor. 9.7 A Max.15.1 A | – | – |
| W122CE SL0 | 220 V~ | 60 Hz | Nor. 1,040 W Max. 1,530 W | Nor. 4.8 A Max. 7.6 A | – | – |

![LG-W121CE-SL0W122CE-SL0-Window-Air-Conditioner-PRODUCT]](https://static-data1.manualsee.com/1/img/478/3795186/2022/07/LG-W121CE-SL0W122CE-SL0-Window-Air-Conditioner-PRODUCT.png)





CAUTION


Insert 2 screws (L:10 mm) through the front grille.


























