OWNER’S MANUAL
AIR CONDITIONER
TYPE : WINDOW
LW8023HR
LW8023HRSM
LW8023HRSM Window Air Conditioner
Read this owner’s manual thoroughly before operating the appliance and keep it handy for reference at all times.
SAFETY INSTRUCTIONS
READ ALL INSTRUCTIONS BEFORE USE
Your safety and the safety of others are very important.
We have provided many important safety messages in this manual and on your appliance. Always read and follow all safety messages.
This is the safety alert symbol.
This symbol alerts you to potential hazards that can kill or injure you and others.
All safety messages will follow the safety alert symbol and either the word WARNING or CAUTION.
These words mean:
WARNING
You may be killed or seriously injured if you do not follow instructions.
CAUTION
You may be injured or cause damage to the product if you do not follow instructions.
All safety messages will tell you what the potential hazard is, tell you how to reduce the chance of injury, and tell you what may happen if the instructions are not followed.
The following symbols are displayed on units.
This symbol indicates that this appliance uses a flammable refrigerant. If the refrigerant is leaked and exposure to an external ignition source, there is a risk of fire.
This symbol indicates that the Operation Manual should be read carefully.
This symbol indicates that a service personnel should be handling this equipment with reference to the Installation Manual.
This symbol indicates that information is available such as the Operating Manual or Installation Manual.
IMPORTANT SAFETY INSTRUCTIONS
WARNING
To reduce the risk of explosion, fire, death, electric shock, scalding or injury to persons when using this product, follow basic precautions, including the following:
INSTALLATION
- Before use, the appliance must be properly installed as described in this manual.
- Contact the authorized service technician for repair or maintenance of this unit.
- Contact the installer for installation of this unit.
- Young children should be supervised to ensure that they do not play with the air conditioner.
- When the power cord is to be replaced, replacement work shall be performed by authorized personnel only using only genuine replacement parts.
- Installation work must be performed in accordance with the National Electric Code by qualified and authorized personnel only.
- Connect to a properly rated, protected, and sized power circuit to avoid electrical overload.
- Always plug into a grounded outlet.
- Do not under any circumstances, cut or remove the third (ground) prong from the power cord.
- When installing or moving the appliance, be careful not to pinch, crush, or damage the power cord.
- Plug in the power plug properly.
- Do not modify or extend the power cord.
- Do not start/stop operation by plugging/unplugging the power cord.
- If the cord/plug is damaged, have it replaced by an authorized service person using authorized replacement parts.
- Use a dedicated circuit.
- Do not disassemble or modify the product.
- Adhere to all industry recommended safety procedures including the use of long-sleeved gloves and safety glasses.
- Disconnect the power cord or circuit breaker before installing or servicing the appliance.
- Keep packaging materials out of the reach of children. These materials can pose a suffocation risk to children.
- Store and install the product where it will not be exposed to temperatures below freezing or exposed to outdoor weather conditions.
- Do not store or use gasoline or other flammable vapors and liquids in the vicinity of this or any other appliance.
- Do not install the unit in potentially explosive atmospheres.
OPERATION
- Use this appliance only for its intended purpose.
- Never attempt to operate this appliance if it is damaged, malfunctioning, partially disassembled, or has missing or broken parts, including a damaged cord or plug.
- Repair or immediately replace all power cords that have become frayed or otherwise damaged. Do not use a cord that shows cracks or abrasion damage along its length or at either end.
- Do not run cord under carpets or mats where it could be stepped on and damaged.
- Keep the cord out from under heavy objects like tables or chairs.
- Do not place the power cord near a heat source.
- Do not use an adaptor or plug the product into a shared outlet.
- Do not tamper with controls.
- If you detect a strange sound, a chemical or burning smell, or smoke coming from the appliance, unplug it immediately, and contact the LG Electronics Customer Information Center.
- Never unplug the appliance by pulling on the power cord. Always grip the plug firmly and pull straight out from the outlet.
- Do not grasp the power cord or touch the appliance controls with wet hands.
- If water enters the product, turn off the power at the main circuit, then unplug the product and call for service.
- If the product has been submerged, contact the LG Electronics Customer Information Center for instructions before resuming use.
- Unplug the product when unused for long periods.
- Unplug the product before cleaning.
- In the event of a gas leak (propane gas, etc.) do not operate this or any other appliance. Open a window or door to ventilate the area immediately.
- This appliance is not intended for use by persons (including children) with reduced physical, sensory or mental capabilities, or lack of experience and knowledge, unless they have been given supervision or instruction concerning the use of the appliance by a person responsible for their safety.
- The interior of the product must only be cleaned by an authorized service center or a dealer.
- Do not use solvent-based detergent on the product. Doing so can cause corrosion or damage, product failure, electrical shock, or fire.
GROUNDING INSTRUCTIONS
- The power cord of this appliance is equipped with a three-prong (grounding) plug. Use this with a standard three-slot (grounding) wall power outlet to minimize the hazard of electric shock. The customer should have the wall receptacle and circuit checked by a qualified electrician to make sure the receptacle is properly grounded. DO NOT CUT OR REMOVE THE THIRD (GROUND) PRONG FROM THE POWER PLUG.
− Situations when the appliance will be disconnected occasionally; Because of potential safety hazards, we strongly discourage the use of an adapter plug. However, if you wish to use an adapter, a TEMPORARY CONNECTION may be made. Use UL-listed adapter, available from most local hardware stores. The large slot in the adapter must be aligned with the large slot in the receptacle to assure a proper polarity connection. - Attaching the adapter ground terminal to the wall receptacle cover screw does not ground the appliance unless the cover screw is metal, and not insulated, and the wall receptacle is grounded through the house wiring. The customer should have the circuit checked by a qualified electrician to make sure the receptacle is properly grounded.
- Disconnect the power cord from the adapter, using one hand on each. Otherwise, the adapter ground terminal might break. Do not use the appliance with a broken adapter plug.
− Situations when the appliance will be disconnected often; Do not use an adapter plug in these situations. Unplugging the power cord frequently can lead to an eventual breakage of the ground terminal. The wall power outlet should be replaced by a three-slot (grounding) outlet instead.
CAUTION
To reduce the risk of minor or moderate injury to persons, malfunction, or damage to the product or property when using this product, follow basic precautions, including the following:
INSTALLATION
- Take care when installing the product that exhaust or condensation does not damage nearby property.
- Follow installation instructions exactly to avoid excessive vibration or water leakage.
- Wear gloves and use caution when unpacking and installing the appliance. Screws or sharp edges can cause injuries.
OPERATION
- This appliance is not intended for use as a precision refrigeration system. Do not use it for special purposes such as maintaining pets, food, precision machinery, or art objects.
- When installing or moving the appliance, be careful not to pinch, crush, or damage the power cord.
- Make sure the air inlet and outlet are free from obstructions.
- Use a soft cloth to clean the appliance. Do not use waxes, thinners, or harsh detergents.
- Do not step on or place heavy objects on top of the appliance.
- Do not operate the appliance without the filter securely installed.
- Do not drink water drained from the appliance.
- Be sure to ventilate sufficiently when the air conditioner and a heating appliance such as a heater are used simultaneously.
- Do not expose people, animals, or plants to the cold or hot wind from the air conditioner for extended periods of time.
- Remove the batteries if the remote control is not to be used for an extended period of time.
- Never mix different types of batteries, or old and new batteries for the remote control.
- Stop using the remote control if there is a fluid leak in the battery. If your clothes or skin are exposed to the leaking battery fluid, wash off with clean water.
- If the leaking battery fluid has been swallowed, rinse the inside of the mouth thoroughly and consult a doctor.
- Do not recharge or disassemble the batteries.
MAINTENANCE
- Clean the filter every two weeks.
- Never touch the metal parts of the air conditioner when removing the air filter.
- Never use strong cleaning agents or solvents when cleaning the air conditioner or spray water.
Use a smooth cloth.
REFRIGERANT (FOR R32 ONLY)
WARNING
- Do not use means to accelerate the defrosting process or to clean, other than those recommended by the manufacturer.
- The appliance shall be stored in a room without continuously operating open flames (for example an operating gas appliance) and ignition sources (for example an operating electric heater).
- Do not pierce or burn. Be aware that flammable refrigerants may not contain an odor.
- The installation of pipe-work shall be kept to a minimum.
- National gas regulations shall be observed.
- Mechanical connections shall be accessible for maintenance purpose.
- The appliance shall be stored in a well-ventilated area where the room size corresponds to the room area as specified for operation.
CAUTION
- This unit contains flammable refrigerant and has special safety precautions not normally associated with older units. Please follow all precautions and advisories.
- Use caution while handling and prevent damage to unit. Do not put any holes into product for any reason. This can cause damage to product and prevent unit from cooling.
- Maintenance and cleaning of unit should be performed by trained personnel. Failure to properly clean unit can result in damage to the refrigeration system and or the electrical system.
- Make certain that all the air circulation/ventilation openings are free from obstruction.
- Service should only be performed by technicians properly trained and certified in the use of flammable refrigerants. Any service performed by unauthorized servicers/individuals will void all warranties.
- When storing the appliance, do not put in a room with any open flame appliance, such as gas water heaters or furnaces. Also keep away from electric heaters. Damaged units should be repaired before storage.
- Any person who is involved with working on or breaking into a refrigerant circuit should hold a current valid certificate from an industry-accredited assessment authority, which authorizes their competence to handle refrigerants safely in accordance with an industry recognized assessment specification.
- Servicing shall only be performed as recommended by the equipment manufacturer.
Maintenance and repair requiring the assistance of other skilled personnel shall be carried out under the supervision of the person competent in the use of flammable refrigerants. - The appliance shall be stored so as to prevent mechanical damage from occurring.
- The refrigerant and insulation blowing gas used in the appliance require special disposal procedures. Consult a service agent or a similarly qualified person before disposing of them.
SAVE THESE INSTRUCTIONS
PRODUCT OVERVIEW
| Exterior Parts | Interior Parts |
![]() | ![]() |
| 1 Control Panel 2 Remote Control 3 Air Filter 4 Vertical Air Deflector (Horizontal Louver) 5 Horizontal Air Deflector (Vertical Louver) 6 Front Grille 7 Air Outlet 8 Cabinet | 1 Evaporator 2 Air Guide 3 Brace 4 Compressor 5 Condenser 6 Base Pan 7 Power Cord 8 Electric Heater |
INSTALLATION
Electrical Data
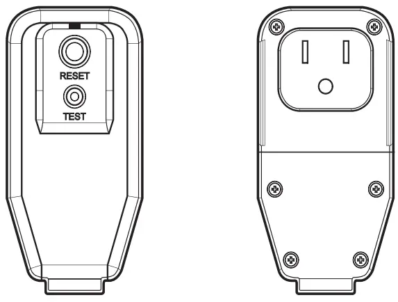
Power cord may include a current interrupter device. TEST and RESET buttons are provided on the plug case. The device should be tested on a periodic basis by first pressing the TEST button and then the RESET button. If the TEST button does not trip or if the RESET button will not stay engaged, discontinue use of the air conditioner
and contact a qualified service technician.
for 120 V
| Use Wall Receptacle | Power Supply |
Standard 120 V, 3-wire grounding receptacle rated15 A / 120 VAC/ 60 Hz | Use 15 A, time delay fuse or 15 A, circuit breaker. |
WARNING
- This appliance should be installed in accordance with the National Electrical Code.
- Use of extension cords could cause serious injury or death.
− Do not use an extension cord with this window air conditioner.
− Do not use surge protectors or multi-outlet adapters with this window air conditioner. - Never push the TEST button during operation.
Doing so can damage the plug.
− Do not remove, modify, or immerse this plug. If this device trips, the cause should be corrected before further use.
CAUTION
• The conductors inside this cord are surrounded by shields, which monitor leakage current.
These shields are not grounded. Periodically examine the cord for any damage. Do not use this product in the event the shields become exposed. Avoid shock hazard. This unit cannot be user-serviced. Do not open the tamper resistant sealed portion. All warranties and performance will be voided. This unit is not intended to be used as an ON/OFF switch.
Parts Included (Appearance May Vary)
Tools Needed

How to Install the Unit
- To prevent vibration and noise, make sure the unit is installed securely and firmly.
- Install the unit out of direct sunlight.
- There should be no obstacles, such as a fence or wall, within 20” from the back of the cabinet because it will prevent heat radiation of the condenser. Restriction of outside air will greatly reduce the cooling efficiency of the air conditioner.

CAUTION
• DO NOT cover or block any of the side and top louvers. All side louvers of the cabinet must remain exposed to the outside of the structure and unobstructed. - Install the unit slightly tilted so the back is slightly lower than the front (about 1/2”). This will force condensed water to flow to the outside.
- Install the unit with the bottom between 30”~ 60” above the floor level.
Window Requirements
- This unit is designed for installation in standard double hung windows with actual opening widths from 22” to 36”.
The top and bottom window sashes must open sufficiently to allow a clear vertical opening of 14” from the bottom of the upper sash to the inside sill.
NOTE
- All supporting parts should be secured to firm wood, masonry, vinyl, fiberglass, or metal.
- This product is a window air conditioner. As such, a standard single-hung or double-hung window is required for proper installation. Nonwindowed installations, including using sleeves or wall openings, and other installation methods are not recommended.
Storm Window Requirements
- Windows that include a storm window frame may prevent the air conditioner from tilting down toward the outside to drain properly. For proper drainage, attach a 2” x 2” piece of wood to the inner sill, trimmed to a length which fits inside the window frame. The top of the wood shim must be at least 1 1/4” higher than the top of the storm window frame. Attach the wood securely to the sill with nails or screws.
- If necessary, attach another 2” x 2” wood strip flush against the back of the inner sill.
Wood Strip Mounted
Preparation of Cabinet
- Remove 4 screws which fasten the cabinet at both sides and at the back. (Keep the screws for later use.)

- Slide the unit from the cabinet by gripping the base pan handle and pulling forward while bracing the cabinet.

CAUTION
• The unit is heavy. To prevent injury, use proper lifting techniques when pulling unit forward from cabinet. Obtain assistance from another person if possible. - Cut the window sash seals (Foam-PE) to the proper length. Peel off the backing and attach the adhesive-backed foam to the underside of the window sash and the bottom of the window frame.

- Insert the hooks on the lower panel guides into the slots on the bottom of the cabinet. Make sure that the flanges on the lower panel guides will face toward the inside of the room.

- Insert the top and bottom rails of the curtain panels into the upper and lower panel guides.

CAUTION
• The lower panel guides are easily broken. Be careful with them when installing the cabinet. - Fasten the curtain panels to the unit with 8 type A screws.
Fasten the screws behind the curtain panel.
NOTE
- Use a long screwdriver to make installing the screws easier.
Cabinet Installation
- Open the window. Mark a line on the center of the inside sill. Carefully place the cabinet in the window and align the center hole on the cabinet bottom front with the center line on the sill.

- Pull the bottom window sash down behind the upper guide until It meets the cabinet.
NOTE
• Do not pull the window sash down so tightly that the movement of the curtain panels is restricted. - Loosely assemble each sill support.
NOTE
• If the distance to the outer window sill is not that deep, you may not need the bolt and nut. - Use 2 type A screws to attach a sill support to the cabinet track holes on one side. Use the cabinet track holes that will place the sill support nearest to the outer edge of the sill. The longer side of the sill support should be facing outside the window. Repeat with the second sill support on the opposite side of the cabinet.

- Install the cabinet with a slight tilt (about 1/2”) downward on the outside.
Use the bolt and nut to adjust the tilt of the cabinet.
CAUTION
• Do not drill a hole in the bottom pan.
The product is designed to operate with approximately 1/2” of water in the bottom pan. There is no need to add water if the pan is dry. - Mount the cabinet to the window sill using 3 type B screws in the holes on the front angle.

- Pull each curtain panel out until it meets the window sash track.

- Use a screwdriver or power drill to attach the curtain panels to the window sashes by inserting type C screws into the sashes through the cabinet holes shown in the figure below.

Unit Installation
- With the aid of an assistant, slide the unit into the cabinet. Do not push on the controls or the finned coils. Reinstall the screws removed from the cabinet sides in step 1 of preparation of cabinet.
CAUTION
• The unit is heavy. Use an assistant to help lift the unit and set it in place. Lifting and maneuvering the unit by yourself could result in injury.
• Hold the unit firmly in place until the window frame is lowered to meet the top surface of the unit directly behind the upper guide. If the unit falls from the window, it could cause personal injury or property damage. - Cut the non-adhesive foam strip to the proper length and insert it between the upper window sash and the lower window sash.

- To prevent broken glass or damage to windows, on vinyl or other similarly constructed windows, attach the window locking bracket with a type C screw.

- Attach the front grille to the cabinet by inserting the tabs on the grille into the slots on the front top of the cabinet. Push the grille in until it snaps into place.

- Lift the inlet grille and secure it with a type A screw through the front grille.
NOTE
• See the ‘Electrical Data’ section for information on attaching the power cord to an electrical outlet.
OPERATION
Control Panel and Remote Control
NOTE
- The feature may be changed according to the type of model.
- Power
Press to turn the air conditioner ON or OFF. - Fan Speed
Press to set the Fan Speed to Low (F1), High (F2). - Delay ON/OFF Timer
Delay ON – When the air conditioner is off, set it to automatically turn on from 1 to 24 hours later, at its previous mode and fan settings.
Delay OFF – When the air conditioner is on, set it to automatically turn off from 1 to 24 hours later.
NOTE
• Each press of the Timer button advances the timer by 1 hour. After the last press the display returns to the temperature setting. - Operation Mode
Press the Mode button to cycle between 4 types of air conditioner operation: Energy Saver / Cool / Fan / Heat.
Energy Saver – In this mode the compressor and fan turn off when the set temperature is achieved. Approximately every 3 minutes the fan turns on to allow the unit sensor to accurately determine if more cooling is needed.
Cool – This mode is ideal on hot days to cool and dehumidify the room quickly. Use the Temp
buttons to set the desired room temperature and use the Fan Speed button to set the desired fan circulation speed.
Fan – In this mode the fan circulates air but the compressor does not run. Use the Fan Speed button to set fan speed to High, Medium or
Low. In this mode, you cannot adjust the set temperature.
Heat – This mode is ideal on cold days to heat the room quickly. Use the Temp
buttons to set desired room temperature and use the Fan Speed button to set the desired fan circulation speed. - Wi-Fi (Wi-Fi Model Only)
Enables connection of the air conditioner to the home Wi-Fi.
NOTE
• Follow instructions on ThinQ application on how to connect to your unit. - Clean Filter
The Clean Filter LED lights up to notify you that the filter needs to be cleaned. After cleaning the filter, press Temp and together on the control panel to turn off the Clean Filter light.
NOTE
• The filter reset must be done using the control panel, not the remote control.
• This feature is a reminder to clean the air filter for more efficient operation. The LED light turns on after 250 hours of operation. - Temperature Control
The thermostat monitors room temperature to maintain the desired temperature. The thermostat can be set between 60 °F–86 °F (16 °C–30 °C).
Press or arrows to increase
or
decrease temperature setting.
NOTE
- A slight heat odor may come from the unit when first switching to HEAT after the cooling season is over. This odor, caused by fine dust particles on the heater, will dissipate quickly.
- Auto Restart : If the air conditioner turns off due to a power outage, it will restart automatically once the power is restored, with the same settings as were set before the unit turned off.
- Energy Saver : The unit defaults to the Energy Saver mode each time the unit is switched on except in Fan mode or when power is restored after an electrical power outage.
- The remote control will not function properly if the AC infrared sensor is exposed to direct light or if there are obstacles between the remote controller and the air conditioner.
Wireless Remote Control
Inserting Batteries
- Push out the cover on the back of the remote control with your thumb.

- With the plus and minus poles facing as marked, and insert two new AAA 1.5 V batteries.

- Reattach the cover.
NOTE
- Two new batteries are supplied with the air conditioner for use in the remote control.
- Do not use a rechargeable battery. Make sure that the battery is new.
- In order to prevent discharge, remove the battery from the remote control if the air conditioner is not going to be used for an extended period of time.
- Keep the remote control away from extremely hot or humid places.
- To maintain optimal operation of the remote control, the remote sensor should not be exposed to direct sunlight.
Air Direction
Airflow can be adjusted by changing the direction of the air conditioner’s louvers.
Adjusting Horizontal Airflow Direction
The horizontal airflow is adjusted by moving the levers of the vertical louvers to the left or right.

Adjusting Vertical Airflow Direction
Touch the horizontal louvers to adjust the airflow up or down.

NOTE
- When the weather is extremely hot, the unit may turn off automatically to protect the compressor.
Additional Features
Slinger Fan
This air conditioner is equipped with a slinger fan. (See drawing.)
The fan’s outer ring picks up the condensed water from the base pan if the water level gets high enough. The water is then picked up by the fan and expelled through the condenser, making the air conditioner more efficient.

Drain Pipe
In humid weather, excess water may cause the base pan to overflow. To drain the water, remove the drain cap and secure the drain pipe to the rear hole of the base pan.
Press the drain pipe into the hole by pushing down and away from the fins to avoid injury.

CAUTION
- Be careful when inserting the drain pipe. Push away from the sharp fin area to avoid slipping injuring yourself.
SMART FUNCTIONS
LG ThinQ Application
This feature is only available on models with the
or ThinQ logo
The LG ThinQ application allows you to communicate with the appliance using a smartphone.
LG ThinQ Application Features
Communicate with the appliance from a smartphone using the convenient smart features.
Smart Diagnosis
If you experience a problem while using the appliance, this smart diagnosis feature will help you diagnose the problem.
Settings
Allows you to set various options on the appliance and in the application.
NOTE
- If you change your wireless router, internet service provider, or password, delete the registered appliance from the LG ThinQ application and register it again.
- The application is subject to change for appliance improvement purposes without notice to users.
- Functions may vary by model.
Before Using LG ThinQ Application
- Check the distance between the appliance and the wireless router (Wi-Fi network).
• If the distance between the appliance and the wireless router is too far, the signal strength becomes weak. It may take a long time to register or installation may fail. - Turn off the Mobile data or Cellular Data on your smartphone.

- Connect your smartphone to the wireless router.

NOTE
- To verify the Wi-Fi connection, check that
icon on the control panel is lit. - The appliance supports 2.4 GHz Wi-Fi networks only. To check your network frequency, contact your Internet service provider or refer to your wireless router manual.
- LG ThinQ is not responsible for any network connection problems or any faults, malfunctions, or errors caused by network connection.
- If the appliance is having trouble connecting to the Wi-Fi network, it may be too far from the router. Purchase a Wi-Fi repeater (range extender) to improve the Wi-Fi signal strength.
- The Wi-Fi connection may not connect or may be interrupted because of the home network environment.
- The network connection may not work properly depending on the Internet service provider.
- The surrounding wireless environment can make the wireless network service run slowly.
- The appliance cannot be registered due to problems with the wireless signal transmission. Unplug the appliance and wait about a minute before trying again.
- If the firewall on your wireless router is enabled, disable the firewall or add an exception to it.
- The wireless network name (SSID) should be a combination of English letters and numbers. (Do not use special characters.)
- Smartphone user interface (UI) may vary depending on the mobile operating system (OS) and the manufacturer.
- If the security protocol of the router is set to WEP, you may fail to set up the network. Please change it to other security protocols (WPA2 is recommended) and register the product again.
Installing the LG ThinQ Application
Search for the LG ThinQ application from the Google Play Store or Apple App Store on a smartphone. Follow instructions to download and install the application.
Open Source Software Notice Information
To obtain the source code under GPL, LGPL, MPL, and other open source licenses that have the obligations to disclose source code, that is contained in this product, and to access all referred license terms, copyright notices and other relevant documents please visit https://opensource.lge.com.
LG Electronics will also provide open source code to you on CD-ROM for a charge covering the cost of performing such distribution (such as the cost of media, shipping, and handling) upon email request to [email protected].
This offer is valid to anyone in receipt of this information for a period of three years after our last shipment of this product.
Smart Diagnosis
This feature is only available on models with the cord logo.
Use this feature to help you diagnose and solve problems with your appliance.
NOTE
- For reasons not attributable to LGE’s negligence, the service may not operate due to external factors such as, but not limited to, Wi-Fi unavailability, Wi-Fi disconnection, local app store policy, or app unavailability.
- The feature may be subject to change without prior notice and may have a different form depending on where you are located.
Using LG ThinQ to Diagnose Issues
If you experience a problem with your Wi-Fi equipped appliance, it can transmit troubleshooting data to a smartphone using the LG ThinQ application.
- Launch the LG ThinQ application and select the Smart Diagnosis feature in the menu. Follow the instructions provided in the LG ThinQ application.
FCC Notice
This following notice cover the transmitter module contained in this product.
This equipment has been tested and found to comply with the limits for a Class B digital device, pursuant to Part 15 of the FCC Rules. These limits are designed to provide reasonable protection against harmful interference in a residential installation. This equipment generates, uses, and can radiate radio frequency energy and, if not installed and used in accordance with the instructions, may cause harmful interference to radio communications. However, there is no guarantee that interference will not occur in a particular installation. If this equipment does cause harmful interference to radio or television reception, which can be determined by turning the equipment off and on, the user is encouraged to try to correct the interference by one or more of the following measures:
- Reorient or relocate the receiving antenna.
- Increase the separation between the equipment and the receiver.
- Connect the equipment into an outlet on a circuit different from that to which the receiver is connected.
- Consult the dealer or an experienced radio/TV technician for help.
This device complies with part 15 of the FCC Rules. Operation is subject to the following two conditions:
- This device may not cause harmful interference and
- This device must accept any interference received, including interference that may cause undesired operation.
Any changes or modifications in construction of this device which are not expressly approved by the party responsible for compliance could void the user’s authority to operate the equipment.
FCC RF Radiation Exposure Statement
This equipment complies with FCC radiation exposure limits set forth for an uncontrolled environment. This transmitter must not be collocated or operating in conjunction with any other antenna or transmitter.
This equipment should be installed and operated with a minimum distance of 20 cm (7.8 inches) between the antenna and your body. Users must follow the specific operating instructions for satisfying RF exposure compliance.
Wireless LAN Module Specifications
| Frequency Range | 2412 MHz – 2462 MHz |
| Output Power (Max) | < 30 dBm |
MAINTENANCE
WARNING
- Before cleaning or performing maintenance, disconnect the power supply and wait until the fan stops.
Air Filter
Check the air filter at least twice a month to see if cleaning is necessary. Trapped particles in the filter can build up and block the airflow, reducing cooling capacity and causing an accumulation of frost on the evaporator.
Cleaning the Air Filter
- Remove the air filter from the front grille by pulling the filter forward and then up slightly.

- Wash the filter using lukewarm water below 40 °C (104 °F).

- Gently shake the excess water from the filter and replace.
Cleaning the Air Conditioner
- Wipe the front grille and inlet grille with a cloth dampened in a mild detergent solution.
- Wash the cabinet with mild soap or detergent and lukewarm water, then polish using liquid appliance wax.

NOTE
- To ensure continued peak efficiency, the condenser coils (outside of unit) should be checked periodically and cleaned if clogged with soot or dirt from outside air.
- For repair and maintenance, contact an Authorized Service Center. See the warranty page for details or call 1-800-243-0000.
Have your model number and serial number available. They can be found on the side of the cabinet. Record them on page 28 for future reference.
TROUBLESHOOTING
Before Calling for Service
The appliance is equipped with an automatic error-monitoring system to detect and diagnose problems at an early stage. If the appliance does not function properly or does not function at all, check the following before you call for service.
Normal Sounds You May Hear

- High Pitched Chatter
Today’s high efficiency compressors may have a high pitched chatter during the cooling cycle. - Sound of Rushing Air
At the front of the unit, you may hear the sound of rushing air being moved by the fan. - Gurgle/Hiss
Gurgling or hissing noise may be heard due to refrigerant passing through evaporator during normal operation. - Vibration
Unit may vibrate and make noise because of poor wall or window construction or incorrect installation. - Pinging or Swishing
Droplets of water hitting condenser during normal operation may cause pinging or swishing sounds.
| Problem | Possible Causes & Corrective Action |
| Air conditioner does not start. | The air conditioner is unplugged. • Make sure the air conditioner plug is pushed completely into the outlet. |
| The fuse is blown/circuit breaker is tripped. • Check the house fuse/circuit breaker box and replace the fuse or reset the breaker. | |
| Power failure. • If power failure occurs, turn the mode control to off. When power is restored, wait 3 minutes to restart the air conditioner to prevent tripping of the compressor overload. | |
| The current interrupter device is tripped. • Press the RESET button located on the power cord plug. If the RESET button will not stay engaged, discontinue use of the air conditioner and contact a qualified service technician. | |
| Air conditioner does not cool as it should. | Airflow is restricted. • Make sure there are no curtains, blinds, or furniture blocking the front of the air conditioner. |
| The temp control may not be set correctly. • Set the desired temperature to a level lower than the current temperature. | |
| The air filter is dirty. • Clean the filter at least every 2 weeks. See the ‘MAINTENANCE’ section. | |
| The room may have been hot. • When the air conditioner is first turned on, you need to allow time for the room to cool down. | |
| Cold air is escaping. • Check for open fumace floor registers and cold air returns. | |
| Cooling coils have iced up. • See ‘Air conditioner freezing up’ below. | |
| Air conditioner freezing up. | The cooling coils are iced over. • Ice may block the air flow and obstruct the air conditioner from properly cooling the room. Set the mode control at High Fan or High Cool. |
| Water drips outside. | Hot, humid weather. • This is normal. |
| Problem | Possible Causes & Corrective Action |
| Water drips Indoors. | The air conditioner is not tilted to the outside. • For proper water disposal, make sure the air conditioner slants slightly from the cabinet front to the rear. |
| Water collects in base an | Moisture removed from air and drains into base pan. • This is normal for a short period in areas with little humidity; normal for a longer period in very humid areas. |
| Air conditioner turns on and off rapidly. | Dirty air filter – air restricted. • Clean air filter. |
| Outside temperature extremely hot. • Refer to installation instructions or check with installer. | |
| Noise when unit is cooling. | Air movement sound. • This is normal. If too loud, set to lower FAN Setting. |
| Window vibration – poor installation. • Refer to installation instructions or check with installer. | |
| Room too cold. | Set temperature too low. • Increase set temperature. |
| Remote sensing deactivating prematurely. | Remote control not located within range. • Place remote control within 20 feet & 120° radius of the front of the unit. |
| Remote control signal obstructed. • Remove obstruction. | |
| Can’t connect the LG Thing App. to the air conditioner. | Air conditioner is turned off. • Turn the air conditioner on. |
| Wireless router is turned off. • Turn the router on. | |
| The air conditioner is not connecting to the Wi-Fi. | The Wi-Fi router is too far from the air conditioner. • Move the router closer to the air conditioner or purchase and install a Wi-Fi repeater (signal booster). |
| You do not have permission to use the router or it is incompatible. • Make sure you are selecting the correct wireless router from the list. The router must be set to 2.4 GHz. |
| Problem | Possible Causes & Corrective Action |
| Trouble connecting appliance and smartphone to Wi-Fi network. | The password for the Wi-Fi network was entered incorrectly. • Delete your home Wi-Fi network and begin the registration process again. |
| Mobile data for your smartphone is turned on. • Turn off the Mobile data of your smartphone before registering the appliance. | |
| The wireless network name (SSID) is set incorrectly. • The wireless network name (SSID) should be a combination of English letters and numbers. (Do not use special characters.) | |
| The router frequency is not 2.4 GHz. • Only a 2.4 GHz router frequency is supported. Set the wireless router to 2.4 GHz and connect the appliance to the wireless router. To check the router frequency, check with your Internet service provider or the router manufacturer. | |
| The appliance is too far from the router. • If the appliance is too far from the router, the signal may be weak and the connection may not be configured correctly. Move the router closer to the appliance or purchase and install a Wi-Fi repeater. |
NOTE
- If you see “CH” in the display, please call 1-800-243-0000.
WARRANTY
ARBITRATION NOTICE: THIS LIMITED WARRANTY CONTAINS AN ARBITRATION PROVISION THAT REQUIRES YOU AND LG TO RESOLVE DISPUTES BY BINDING ARBITRATION INSTEAD OF IN COURT, UNLESS YOU CHOOSE TO OPT OUT. IN ARBITRATION, CLASS ACTIONS AND JURY
TRIALS ARE NOT PERMITTED. PLEASE SEE THE SECTION TITLED “PROCEDURE FOR RESOLVING DISPUTES” BELOW.
WHAT THIS WARRANTY COVERS:
LG Electronics U.S.A., Inc. (“LG”) warrants your LG Room Air Conditioner (“product”) against defect in materials or workmanship under normal household use, during the warranty period set forth below, LG will, at its option, repair or replace the product. This limited warranty is valid only to the original retail purchaser of the product, is not assignable or transferrable to any subsequent purchaser or user, and applies only when the product is purchased through an LG authorized dealer or distributor and used within the United States (“U.S.”) including U.S. Territories.
NOTE
- Replacement products and repair parts may be new or factory-remanufactured and are warranted for the remaining portion of the original unit’s warranty period or ninety (90) days, whichever is longer. Please retain dated receipt or delivery ticket as evidence of the Date of Purchase for proof of warranty (you may be required to submit a copy to LG or authorized representative).
WARRANTY PERIOD:
1 year from the Date of Purchase: Any internal/ functional Parts and Labor
HOW SERVICE IS HANDLED: In-Home Service
In-home service will be provided during the warranty period subject to availability within the United States. In-home service may not be available in all areas. To receive in-home service, the product must be unobstructed and accessible to service personnel. If during in-home service repair cannot be completed, it may be necessary to remove, repair and return the product. If in-home service is unavailable, LG may elect, at our option, to provide for transportation of our choice to and from a LG authorized service center.
THIS LIMITED WARRANTY DOES NOT COVER:
- Service trips to deliver, pick up, or install the product or for instruction on product use.
- Replacing house fuses or resetting of circuit breakers, correction of house wiring or plumbing, or correction of product installation.
- Damage or failure caused by leaky / broken / frozen water pipes, restricted drain lines, inadequate or interrupted water supply or inadequate supply of air.
- Damage or failure caused by accidents, pets and vermin, lightning, wind, floods or acts of God.
- Damage or failure resulting from misuse, abuse, improper installation, repair or maintenance. Improper repair includes use of parts not approved or specified by LG.
- Damage or failure caused by unauthorized modification or alteration to the product.
- Damage or failure caused by incorrect electrical current, voltage, or plumbing codes.
- Cosmetic damage, including scratches, dents, chips or other damage to finish of the product, unless such damage results from defects in materials or workmanship and is reported to LG within seven (7) calendar days from the date of delivery.
- Damage or missing items to any display, open box, discounted, or refurbished product.
- Product where the original factory serial numbers have been removed, defaced or changed in any way.
- Repairs when product is used in other than normal and usual household use (e.g. rental, commercial use, offices, or recreational facilities) or contrary to the instructions outlined in the owner’s manual.
- The removal and reinstallation of the Product if it is installed in an inaccessible location.
THIS WARRANTY IS IN LIEU OF ANY OTHER WARRANTY, EXPRESS OR IMPLIED, INCLUDING AND WITHOUT LIMITATION TO, ANY WARRANTY OF MERCHANTABILITY OR FITNESS FOR A PARTICULAR PURPOSE. TO THE EXTENT ANY IMPLIED WARRANTY IS REQUIRED BY LAW, THIS WARRANTY IS LIMITED IN DURATION TO THE TERM PERIOD EXPRESSED ABOVE. REPAIR OR REPLACEMENT AS PROVIDED UNDER THIS WARRANTY IS THE EXCLUSIVE REMEDY FOR THE CUSTOMER. NEITHER THE MANUFACTURER NOR ITS U.S. DISTRIBUTOR SHALL BE LIABLE FOR ANY INCIDENTAL, CONSEQUENTIAL, INDIRECT, SPECIAL, OR PUNITIVE DAMAGES OF ANY NATURE, INCLUDING AND WITHOUT LIMITATION TO, LOST REVENUES OR PROFITS, OR ANY OTHER DAMAGE, WHETHER BASED IN CONTRACT, TORT, OR OTHERWISE.
Some states do not allow the exclusion or limitation of incidental or consequential damages or limitations on how long an implied warranty lasts, so the above exclusion or limitation may not apply to you. This warranty gives you specific legal rights and you may also have other rights that vary from state to state.
HOW TO OBTAIN WARRANTY SERVICE & ADDITIONAL INFORMATION:
Call 1-800-243-0000 or visit our website at www.lg.com.
Mail to: LG Customer Information Center (ATTN: CIC)
201 James Record Road, Huntsville, AL 35824
FOR YOUR RECORDS
Write the model and serial numbers here:
Model No……………….
Serial No……………….
• This information is located on a label on the side of the unit.
Dealer’s Name……………….
Date Purchased……………….
• Staple your receipt to this page in the event you need it to prove date of purchase or for warranty issues.
PROCEDURE FOR RESOLVING DISPUTES:
ALL DISPUTES BETWEEN YOU AND LG ARISING OUT OF OR RELATING IN ANY WAY TO THIS LIMITED WARRANTY OR THE PRODUCT SHALL BE RESOLVED EXCLUSIVELY THROUGH BINDING ARBITRATION, AND NOT IN A COURT OF GENERAL JURISDICTION. BINDING ARBITRATION MEANS THAT YOU AND LG ARE EACH WAIVING THE RIGHT TO A JURY TRIAL AND TO BRING OR PARTICIPATE IN A CLASS ACTION.
Definitions. For the purposes of this section, references to “LG” mean LG Electronics U.S.A., Inc., its parents, subsidiaries and affiliates, and each of their officers, directors, employees, agents, beneficiaries, predecessors in interest, successors, assigns and suppliers; references to “dispute” or “claim” shall include any dispute, claim or controversy of any kind whatsoever (whether based in contract, tort, statute, regulation, ordinance, fraud, misrepresentation or any other legal or equitable theory) arising out of or relating in any way to the sale, condition or performance of the product or this Limited Warranty.
Notice of Dispute. In the event you intend to commence an arbitration proceeding, you must first notify LG in writing at least 30 days in advance of initiating the arbitration by sending a letter to LG at LG Electronics, USA, Inc. Attn: Legal Department- Arbitration 111 Sylvan Avenue, Englewood Cliffs, NJ 07632. You and LG agree to engage in good faith discussions in an attempt to amicably resolve your claim. The notice must provide your name, address, and telephone number; identify the product that is the subject of the claim; and describe the nature of the claim and the relief being sought. If you and LG are unable to resolve the dispute within 30 days, either party may proceed to file a claim for arbitration.
Agreement to Binding Arbitration and Class Action Waiver. Upon failure to resolve the dispute during the 30 day period after sending written notice to LG, you and LG agree to resolve any claims between us only by binding arbitration on an individual basis, unless you opt out as provided below. Any dispute between you and LG shall not be combined or consolidated with a dispute involving any other person’s or entity’s product or claim. More specifically, without limitation of the foregoing, any dispute between you and LG shall not under any circumstances proceed as part of a class or representative action. Instead of arbitration, either party may bring an individual action in small claims court, but that small claims court action may not be brought on a class or representative basis.
Arbitration Rules and Procedures. To begin arbitration of a claim, either you or LG must make a written demand for arbitration. The arbitration will be administered by the American Arbitration Association (“AAA”) and will be conducted before a single arbitrator under the AAA’s Consumer Arbitration Rules that are in effect at the time the arbitration is initiated (referred to as the “AAA Rules”) and under the procedures set forth in this section. The AAA Rules are available online at www.adr.org/consumer. Send a copy of your written demand for arbitration, as well as a copy of this provision, to the AAA in the manner described in the AAA Rules. You must also send a copy of your written demand to LG at LG Electronics, USA, Inc. Attn: Legal Department- Arbitration 111 Sylvan Avenue, Englewood Cliffs, NJ 07632. If there is a conflict between the AAA Rules and the rules set forth in this section, the rules set forth in this section will govern. This arbitration provision is governed by the Federal Arbitration Act. Judgment may be entered on the arbitrator’s award in any court of competent jurisdiction. All issues are for the arbitrator to decide, except that issues relating to the scope and enforceability of the arbitration provision and to the arbitrability of the dispute are for the court to decide. The arbitrator is bound by the terms of this provision.
Governing Law. The law of the state of your residence shall govern this Limited Warranty and any disputes between us except to the extent that such law is preempted by or inconsistent with applicable federal law.
Fees/Costs. You do not need to pay any fee to begin an arbitration. Upon receipt of your written demand for arbitration, LG will promptly pay all arbitration filing fees to the AAA unless you seek more than $25,000 in damages, in which case the payment of these fees will be governed by the AAA Rules. Except as otherwise provided for herein, LG will pay all AAA filing, administration and arbitrator fees for any arbitration initiated in accordance with the AAA Rules and this arbitration provision. If you prevail in the arbitration, LG will pay your attorneys’ fees and expenses as long as they are reasonable, by considering factors including, but not limited to, the purchase amount and claim amount. Notwithstanding the foregoing, if applicable law allows for an award of reasonable attorneys’ fees and expenses, an arbitrator can award them to the same extent that a court would. If the arbitrator finds either the substance of your claim or the relief sought in the demand is frivolous or brought for an improper purpose (as measured by the standards set forth in Federal Rule of Civil Procedure 11(b)), then the payment of all arbitration fees will be governed by the AAA Rules. In such a situation, you agree to reimburse LG for all monies previously disbursed by it that are otherwise your obligation to pay under the AAA Rules. Except as otherwise provided for, LG waives any rights it may have to seek attorneys’ fees and expenses from you if LG prevails in the arbitration.
Hearings and Location. If your claim is for $25,000 or less, you may choose to have the arbitration conducted solely on the basis of (1) documents submitted to the arbitrator, (2) through a telephonic hearing, or (3) by an in-person hearing as established by the AAA Rules. If your claim exceeds $25,000, the right to a hearing will be determined by the AAA Rules. Any in-person arbitration hearings will be held at a location within the federal judicial district in which you reside unless we both agree to another location or we agree to a telephonic arbitration.
Opt Out. You may opt out of this dispute resolution procedure. If you opt out, neither you nor LG can require the other to participate in an arbitration proceeding. To opt out, you must send notice to LG no later than 30 calendar days from the date of the first consumer purchaser’s purchase of the product by either: (i) sending an e-mail to [email protected], with the subject line: “Arbitration Opt Out” or (ii) calling 1-800-980-2973. You must include in the opt out e-mail or provide by telephone: (a) your name and address; (b) the date on which the product was purchased; (c) the product model name or model number; and (d) the serial number (the serial number can be found (i) on the product; or (ii) online by accessing https://www.lg.com/us/support/repair-service/schedule-repair-continued and clicking on “Find My Model & Serial Number”).
You may only opt out of the dispute resolution procedure in the manner described above (that is, by e-mail or telephone); no other form of notice will be effective to opt out of this dispute resolution procedure. Opting out of this dispute resolution procedure will not affect the coverage of the Limited Warranty in any way, and you will continue to enjoy the full benefits of the Limited Warranty. If you keep this product and do not opt out, then you accept all terms and conditions of the arbitration provision described above.
Copyright © 2022 LG Electronics Inc. All Rights Reserved
LG Electronics Inc.
111 Sylvan Avenue, Englewood Cliffs, NJ 07632
LG Customer Information Center
1-800-243-0000
Register your product Online!
www.lg.com


Standard 120 V, 3-wire grounding receptacle rated








NOTE
NOTE



CAUTION


NOTE
























