mellerware M80 Automatic Pet Feeder



Dear customer,
Many thanks for choosing to purchase a Mellerware brand product.
Thanks to its technology, design and operation and the fact that it exceeds the strictest quality standards, a fully satisfactory use and long product life can be assured.
Safety advice and warnings
- Read these instructions carefully before switching on the appliance and keep them for future reference. Failure to follow and observe these instructions could lead to an accident.
- This appliance can be used by children aged from 8 years and above and persons with reduced physical, sensory or mental capabilities or lack
of experience and knowledge if they have been given supervision or instruction - This appliance is not a toy. Children should be supervised to ensure that they do not play with the appliance.
- Cleaning and user maintenance must not be carried out by children without supervision.
- Unplug from the mains when not in use and before carrying out any cleaning operations.
- Use the appliance only with the specific electrical connector supplied.
- If the power cord is damaged, it must be replaced by the manufacturer, its after-sales service or similar qualified personnel in order to avoid a hazard.
- This appliance is intended for domestic use only, not for professional or industrial use.
- Position the device correctly and prevent the pet from falling on the device or stepping on it. This appliance is only suitable for small and medium pets under 20Kg.
- Ensure that the voltage indicated on the rating label matches the mains voltage before plugging in the appliance.
- Connect the appliance to a base with an earth socket withstanding a minimum of 10 amperes.
mains socket properly. Do not alter the plug. Do not use plug adaptors. - The appliance must be used and placed on a flat, stable surface.
- Do not use the appliance if the cable or plug is damaged.
- If any of the appliance casings breaks, immediately disconnect the appliance from the mains to prevent the possibility of an electric shock. Do not use the appliance if it has visible signs of damage or if it has a leak.
- Do not touch the plug with wet hands.
- Replace the desiccant in the storage cap regularly.
- Keep the food container dry and sealed, and check it regularly to ensure cleanliness of food residues.
- Do not put substances other than dry pet food into the food container. Otherwise, the appliance may not work properly or even cause safety problems for pets.
- To prevent the pet from falling on the appliance, it is recommended to place it in a corner or against the wall. he power cord should be placed as concealed as possible to prevent the pet from damaging the equipment by chewing on the cord.
USE AND CARE
- Fully extend the appliance’ s power cable before each use.
- Do not use the appliance if its accessories are not properly fitted. Do not move the appliance while in use.
- Do not use the appliance if it is tipped up and do not turn it over. Store this appliance out of reach of children and/or persons with physical, sensory or reduced mental or lack of experience and knowledge.
- Check that the lid is perfectly closed before starting the appliance.
- Do not use the appliance with frozen food or bones.
- This appliance is suitable for dry food less than 12mm. It does not admit freeze-dried food.
Service
- Any misuse or failure to follow the instructions for use renders the guarantee and the manufacturer’s liability null and void.
Description
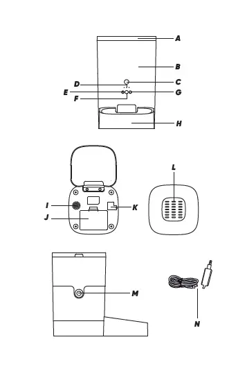
- A – Cover
- B – Dry food tank
- C – Camera
- D – Status indicator
- E – Reset button
- F – Feed button
- G – Record button
- H – Food plate
- I – Speakers
- J – Battery compartment
- K – Connection with cable
- L – Desiccant compartment
- M – Tank removal button
- N – Power cord and adapter
Instructions for use
FIRST USE
- Open the dry food tank cover and remove the adaptor.
- Plug the appliance into the mains, connecting the cable to the bottom of the appliance (K).
- Place the food plate (H) with the main unit.
- Put the dry food in the container (B). Desiccant is placed in the desiccant compartment (L) by default. Replace it regularly for long-term use (do not use cleaning products).
- The device has a compartment for 3 batteries, to be able to feed your pet manually in the event that there is no electricity (optional).
- Connect the device to the Mellerware app to configure the feeding and planning of your pet (see the QUICK GUIDE that you will find on the product page at www.mellerware.com).
The device can also work without having to connect it to the app.
FUNCTIONS
Record button (G)
- To start recording, keep this button pressed and wait for a “beep”, continue with the button pressed to record a sound or phrase.
- When you release the button, the recording will play automatically.
Recordings have a maximum duration of 10 seconds. - This recording will always be played before you start feeding your pet.
Feed button (F)
- Press once to release a serving of food. Pressing this button for 10 seconds locks the appliance.
To unlock the appliance, press the same button again for 10 seconds. If audio was recorded before pressing the power button, it will be played back automatically.
- Press once to release a serving of food. Pressing this button for 10 seconds locks the appliance.
Reset button (E)
- If this button is pressed for 10 seconds (until you hear a “ding dong”), the device resets, which means that all the saved settings are lost and it returns to the factory default mode.
Cleaning
- Disconnect the appliance from the mains and allow it to cool before undertaking any cleaning task. After using this appliance for a long time, the tank and the feeder must be cleaned to prevent the growth of bacteria that could affect the health of your pet.
The following parts are suitable for cleaning with detergent and water: - Top cover
- Feeder
- Food container (remove it from the base of the appliance)
- To remove the food container, press the two side buttons (M) at the same .time and pull upwards.
- Then dry all the parts before assembly and storage.
- Do not use solvents, or products with an acidic or basic pH factor such as bleach, or abrasive products to clean the appliance.
- Do not let water or other liquid enter the appliance to avoid damage to the interior operating parts.
- Do not immerse the appliance in water or any other liquid, or put it under the tap.
- Anomalies and repair
- Take the appliance to an authorised technical support service if product is damaged or other problems arise. Do not attempt to disassemble or repair the appliance yourself as this may be dangerous.
- Disconnect the appliance from the mains and allow it to cool before undertaking any cleaning task. After using this appliance for a long time, the tank and the feeder must be cleaned to prevent the growth of bacteria that could affect the health of your pet.
For EU product versions and/or in case that it is requested in your country:
ECOLOGY AND RECYCLABILITY OF THE PRODUCT
The materials of which the packaging of this appliance consists are included in a recycling system. Should you wish to dispose of them, use the appropriate public recycling bins for each type of material.
The product does not contain concentrations of substances that could be considered harmful to the environment.
- This symbol means that in case you wish to dispose of the product once its working life has ended, take it to an authorised waste agent
for the selective collection of Waste from Electric and Electronic Equipment (WEEE).
This appliance complies with Directive 2014/35/EU on Low Voltage, Directive 2014/30/EU on Electromagnetic Compatibility, Directive 2011/65/EU on the restrictions of the use of certain hazardous substances in electrical and electronic equipment and Directive 2009/125/EC on the ecodesign requirements for energy-related products.
Warranty and technical assistance
This product enjoys the recognition and protection bob the legal guarantee in accordance with current legislation. To enforce your rights or interests you must assistance services.
accessing the following web link: www.mellerware.com.
You can also request related information by contacting us.
You can download this instruction manual and its updates at www.mellerware.com

















