
QUICK
GUIDE

AZBW10000

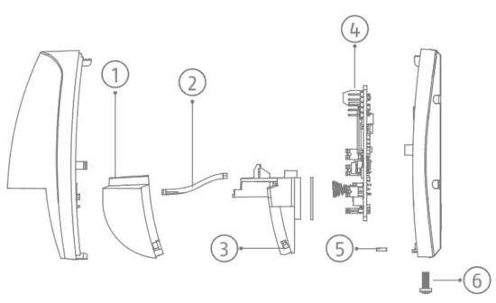
Disassembling the Detector
| Lens | PCB |
| LED Light Pipe | Nut |
| Lens holder | Casing Screw |
Printed Circuit
Board (PCB)
| PIR Sensor | Tamper Spring |
| Tamper Resistor Headers | LED ON/OFF |
| Terminals | Sensitivity Settings |
| Alarm Resistor Headers |
Installation

Detector Backplane Installation
Screw Model: PA_3.5 ×25
Number: 4
Installation Hints

Environmental Class (EC) II
ABUS Security Center
GmbH & Co. KG
Linker Kreuthweg 5
86444 Affing
Germany
abus.com

The Lens
| Detection Range 85.9° 52 zones 4 planes | To use the pet immunity function, please install a pet mask. | ||||||||
| Mounting height range from 1.8 m to 2.4 m. Note: PET immunity is available up to 10 m and at a height that is below the top plane of view | Pet Table
|
Resistor Wiring
The detector has two methods for resistor wiring:
(1) Using headers to select the End of Line resistance (Control panel dependent) on the ALARM/TAMPER header pins.
(2) Select a resistance (Control panel dependent), and add the resistor to the ALARM/TAMPER wiring ports of the detector.
Note: If EOL (End of Line) wiring is not used, leave the headers OFF. If the headers and the header pins do not match, do not force the header, please select method 2 to wire the resistor.
Method 1 and method 2 should not be used on the ALARM/TAMPER at the same time.
![]() | ![]() |
Alarm Resistance: 1K, 2K2, 4K7, 5K6, 8K2
Tamper Resistance: 1K, 2K2, 4K7, 5K6
1
Normally Closed2
3
Double End of Line Wiring
The connection shows the example:
- Normal: 1K
- Alarm: 2K
- Tamper: 0 Kor infinite
4
Choose the Connection Type
| A | B |
| Alarm Control Panel | Detector |
Two Double End of Line Detectors to One Input.
Powering up

Powering up:
After powering on, the indicator flashes rapidly. Once the detector self-test is completed, the LED indicator will go out until the detector detects movement
Dimension and Weight

Technical Specification
| Detection range | 16 m, 85,9° |
| Detection speed | 0.3 ~ 2 m/s |
| Sensitivity | High, Auto, Low |
| Auto sensitivity | Yes |
| Onboard EOL | Yes |
| Digital temperature compensation | Yes |
| Technology | Digital microprocessor-based |
| Sealed optics | Yes |
| Creep zone protection | Yes |
| Tamper protection | Front |
| LED indicators | Blue(alarm) |
| Pet immunity | See PET Table |
| Power supply | 9 to 16 VDC (standard: 12 VDC) |
| Current consumption | 11mA quiescent, 8mA Alarm |
| Operating temperature | -10 °C to 55 °C (14 °F to 131 °F) |
| Storage temperature | -20 °C to 60 °C (-4 °F to 140 °F) |
| Operating humidity | 10% to 90% |
| Mounting height | 1.8 – 2.4m |
| Dimensions (HxWxD) | 86,8 mm x 65,4 mm x 45,5 mm |
| Weight | 68 g |
DECLARATION OF CONFORMITY
ABUS Security-Center hereby declares that the enclosed product(s) comply with the requirements of the following directives: EMC Directive (2014/30/EU) and RoHS Directive (2011/65/EU). The full EU
Declaration of Conformity text can be found at: www.abus.com/product/AZBW10000
It can also be obtained at the following address:
ABUS Security Center
GmbH & Co. KG, Linker Kreuthweg 5, 86444 Affing, GERMANY
Subject to technical modifications and color changes. No liability is assumed for mistakes or printing errors.





















