Panic Button (PB-23)
The Panic Button is used to activate (or deactivate) a panic alarm.
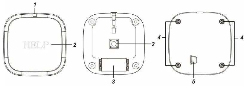
Parts Identification
LED Indicator
The LED indicator will light up briefly when the device is transmitting a signal.- Panic Button
1. Press and hold the button for more than 2 seconds to send a
learn code or activate a panic alarm
2. Press and hold the button for 5 seconds to send a Cancel Code to the Control Panel.
(This function is not compatible with every control panel). - Battery Compartment
- 4 x Cover-Fixing Screws
- Battery Insulator
Battery
- The Panic Button is powered by one CR123A 3V Lithium battery.
- The Panic Button will transmit any detected low battery status along with any regular status signal transmission to the Control Panel for display accordingly.
- When changing the battery, after removing the old battery, press the button twice to fully discharge before inserting the new battery.
Supervisory Signal
- The Panic Button will automatically transmit Supervisory Signals every 30 to 50 minutes.
- If the Control Panel has not received the signal from the Panic Button for a preset period of time control Panel will indicate that the Panic Button is an out-of-signal range or is out of order.
Getting Started
- Pull out the Battery Insulator to power on the Panic Button
- Put Control Panel into learn mode
- Press the button on the Panic Button to transmit a learn-to-code.
- Refer to your Control Panel’s operation manual to complete the learn-in process.
Walk Test
- Place the Control Panel in the walk test mode, then press the button once.
- The Panel will display the RSS (Radio Strength Signal) strength.
Operation
- After the Panic Button is learned successfully, press and hold the button for more than 2 seconds to activate a Panic Alarm.
- Pressing and holding the button for 5 seconds or more will send a Cancel Code to the Control Panel to stop the alarm. (This function is not compatible with all control panels.)
Installation
A Pad is included in the Panic Button as the picture is shown below. The padding helps to avoid pressing the button accidentally when mounting the Panic Button.

There are two ways to deploy the Panic Button: Wall Mounting and Surface Deployment. After successfully installing the Panic Button, please gently remove the Pad.
Wall Mounting
The Panic Button can be wall mounting using Velcro tape provided.
- Clean the wall mounting location and back of the Panic button with a degreaser. Do not mount on the wall with cracking paint or rough surface.
- The Velcro tape can be separated to Hook and Loop sides (Picture 1). Remove the protective cover of the Hook side (Picture 2) and apply to the desired mounting location. (Picture 3)

- Remove the protective cover of the Loop side and apply it to the back of the Panic Button. (Picture 4)
- Hook the Panic Button onto the mounting location. (Picture 5)

Surface Placement
The Panic Button can be deployed on a flat surface without being installed at a fixed location.
- Clean the back of the Panic button with a degreaser.
- Remove the protective cover of the Anti-Slip pad and apply it to the back of the Panic Button. (Picture 6)

- Place the Panic Button at the desired location.
Federal Communication Commission Interference Statement
This equipment has been tested and found to comply with the limits for a Class B digital device, pursuant to Part 15 of the FCC Rules. These limits are designed to provide reasonable protection against harmful interference in a residential installation.
This equipment generates, uses, and can radiate radio frequency energy and, if not installed and used in accordance with the instructions, may cause harmful interference to radio communications. However, there is no guarantee that interference will not occur in a particular installation. If this equipment does cause harmful interference to radio or television reception, which can be determined by turning the equipment off and on, the user is encouraged to try to correct the interference by one of the following
measures:
- Reorient or relocate the receiving antenna.
- Increase the separation between the equipment and receiver.
- Connect the equipment into an outlet on a circuit different from that to which the receiver is connected.
- Consult the dealer or an experienced radio/TV technician for help.
FCC Caution: To assure continued compliance, any changes or modifications not expressly approved by the party responsible for compliance could void the user’s authority to operate this equipment. (Example – use only shielded interface cables when connecting to computer or peripheral devices).
FCC Radiation Exposure Statement
This equipment complies with FCC RF radiation exposure limits set forth for an uncontrolled environment. This equipment should be installed and operated with a minimum distance of 20 centimeters between the radiator and your body.
This transmitter must not be co-located or operating in conjunction with any other antenna or transmitter.
The antennas used for this transmitter must be installed to provide a separation distance of at least 20 cm from all persons and must not be co-located or operating in conjunction with any other antenna or transmitter.
This device complies with Part 15 of the FCC Rules. Operation is subject to the following two conditions:
(1) This device may not cause harmful interference, and (2) This device must accept any interference received, including interference that may cause undesired operation.
LED Indicator



















