
AC136
Panic Button
The AC136 Panic Button is a Z-Wave Plus™ enabled network. The device can be set up in a Z-Wave™ network to communicate directly with other end devices such as lighting controllers, or to report directly a Z-Wave™ controller (usually a gateway).
This product supports the S2 security protocol that uses encrypted Z-Wave™ Plus messages to communicate to other security-enabled Z-Wave™ Plus products. A security-enabled Z-Wave™ Plus Controller must be used in order to fully utilize the security features of this product.
The Panic Button is a portable wireless switch designed to control the Panic/Disarm status of other associated devices thru the Z-Wave™ enabled device and is fully compatible with any Z-Wave™ controller. After receiving the signals emitted by the Panic Button, the Z-Wave™controller can then give commands or operate according to its own settings. Its great compatibility with Z-Wave™ products makes it suitable for smart home cloud-based platforms.
Product Overview

Front View | |||
| 1 | Panic ON?OFF Knob | 2 | Panic ON/OFF Knob |
Inside View | |||
| 3 | Banery companments | 4 | LinK mutton |
| 5 | rear cover Lawn | 6 | LI-w fnüicator |
Rear view | |||
| 7 | reear cover | ||
Adding to Z-Wave™Network
Auto Inclusion
The detector supports the Auto Inclusion feature where it will automatically enter Inclusion mode when first powered up after a factory reset.
- Gently lever the bottom edge of the front cover to detach it from the main body.
- Put a Z-Wave Controller into inclusion mode.
- Insert 2 AAA-size 1.5V alkaline batteries into the battery
compartment with the correct polarity. The LED on the
device should turn ON. - The Inclusion process should be completed when the LED turns off.

Note: If Auto Inclusion fails, refer to the Troubleshooting section regarding Manual Inclusion.
Testing
- For the Panic Button to control other devices on the Z-Wave™controller by 2 seconds long pressing for Panic and 10 seconds long pressing for disarming, a scene needs to be created. Scenes are user-defined elements in the controller that determine what actions to take when an event occurs. The Panic Button creates the event to this Scene which then controls other activation devices such as plugs or dimmers, or perhaps set the alarm to Arm or Disarm mode.
- After binding with the Z-Wave™ controller, the Panic Button will send data about its battery power to the Gateway after about 2 minutes. Subsequently, it will send the data once the button is pressed.
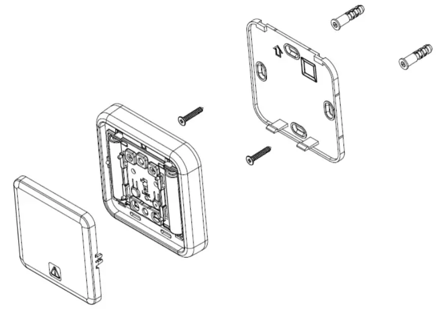
Installation
The Panic Button can be installed on the wall either by using the supplied double-sided tapes or the screws:
1. Using the double-sided tape: first, peel one side of the tape and place the sticky side onto the back of the Panic Button. Then peel the other side of the tape and attach the unit onto a proper location on the wall.

2. Using the screws:
- Detach the rear cover by removing the front cover and then pressing the rear cover latch (see an item in Product Overview).
- Use the rear cover as a template to mark on the wall the positions of two screws. The marks should be in horizontal positions and the distance between the two marks is 60mm.
- Drill the holes using an appropriate size drill bit. Insert the supplied plastic wall plugs first for a cement wall. For a
wooden wall the wall plugs - Position the rear cover on the wall and turn the two screws into the wall (or wall plugs). DO NOT fasten too tightly as the rear cover might be damaged. Then replace the main body and the front cover.

Note: Ensure the unit is installed within the transmission range of the gateway using the test above.
Maintenance
- Do not put the unit in humid or dusty places or facing direct sunlight.
- Do not place the unit near combustible substances or any source of heat, e.g. fires, radiators, boilers, etc.
- The suitable ambient temperature for the unit is -10°C – +40°C.
Low Battery: The Panic Button will inform the Gateway when its battery runs low. Also, if the unit has completed binding with a Gateway and the front cover is detached, you can see the LED flashes once when you press the up/down key to indicate low battery condition.
Programming
Z-Wave Group
The unit supports either one of two Z-Wave Association Groups:
Group 1: Association with 1 Controller node.
Group 2: Association with 4 nodes (i.e. end devices such as smart plugs and other lighting controllers). This allows the On/Off module to receive commands directly from these end devices without the participation of the controller.
Group 1 commands:
- When the unit is powered for the first time, the unit will send a Notification Report to the node of Group 1.
- When device status is changed, the unit will send a Notification command to the node of Grouping 1.
- When the battery level of the unit drops to an unacceptable level, the unit will emit a Battery report to the nodes of Grouping 1.
- Device Reset: When performing Factory Reset the unit will send Device Reset Locally Notification to the node of Group1.
Group 2 commands:
- When the device is pressed by the Up key, the unit will send the BASIC SET command which contains a value that is adjustable, to the nodes of Grouping 2.
When the device is pressed by the Down key, the BASIC_SET command will also be sent to the nodes of Grouping 2.
| Role Type | Node Type | Installer Icon | User Icon |
| Slave Sleeping report | Z-Wave Plus node | Sensor NotificationAPPLIANCE | Sensor Notification APPLIANCE |
version
| Protocol Library | 3 (Slave_Enhance_232_Library) |
| Protocol Version | 4.61 ( 6.71.00) |
Manufacturer
| Manufacturer ID | Product Type | Product ID |
| 0x0060 | 0x000A | 0x0002 |
AGI (Association Group Information) Table
| Group | Profile | Command Class & Command (List) N bytas | Grep Name(UTF-8) |
| 1 | General | Not›hca0on report Battery Report Device Reset LDCBIlg NDtification | Lifeline |
| 2 | CDnkd | Basic Set | Basic Set |
Notification
| Event | Type | Event | Event ParametersLength | Event Parameters |
| Program started | 0x0C | 0x01 | null | |
| Program completed | 0x0C | 0x03 | null | |
| The power is applied for the first time | 0x08 | 0x01 | null |
Battery
| Battery Report (value) | Description |
| 0xFF | Low Battry |
Command Classes
- COMMAND_CLASS_ZWAVEPLUS_INFO_V2
- COMMAND_CLASS_ASSOCIATION_V2 *
- COMMAND_CLASS_ASSOCIATION_GRP_INFO *
- COMMAND_CLASS_TRANSPORT_SERVICE_V2
- COMMAND_CLASS_VERSION_V2 *
- COMMAND_CLASS_MANUFACTURER_SPECIFIC_V2*
- COMMAND_CLASS_DEVICE_RESET_LOCALLY*
- COMMAND_CLASS_POWERLEVEL_V1*
- COMMAND_CLASS_BATTERY*
- COMMAND_CLASS_SECURITY
- COMMAND_CLASS_SECURITY_2
- COMMAND_CLASS_NOTIFICATION_V4*
- COMMAND_CLASS_WAKE_UP_V2*
- COMMAND_CLASS_FIRMWARE_UPDATE_MD_V4 *
- COMMAND_CLASS_SUPERVISION*
*Items marked an asterisk are secure command classes.
Wakeup Command Class
After it has been included in a Z-Wave network, the detector will go to sleep but will send a Wakeup Notification Command periodically at the
Zpreset period to the controller. The detector will stay awake for 10 seconds at least and then go back to sleep to conserve battery life.
The time interval between Wakeup Notification Commands can be set in the Wakeup Command Class based on the range values below:
| Minimum Wake Up Interval | 600s (10 minutes) |
| Maximum Wake Up Interval | 86400s (1 day) |
| Default Wake Up Interval | 14400s (4 hours) |
| Wake Up Interval Step Seconds | 600s (10 minutes) |
Troubleshooting
The table below lists the several steps involved when adding or removing the detector from the Z-Wave network.
| Action/Status | Description | LED indication |
| No node ID | The Z-Wave Controller does not allocate a node ID to the unit. | 2-Secono on. z-second of For 2 minutes |
| Auto Inclusion | The power is applied for the first time no node ID has been stored in the module, or after executing reset. | |
| Manual Inclusion | 1. Put the Z-Wave controller into inclusion mode. |
| 1. Press the link buttons within 1. t› seconds to put the unit into inclusion mode. | ||
| Exclusion | 1. Put the I-Wave anti controller into exclusion mode. | |
| 2. Press the link button times within 1. t› seconds to put the unit into exclusion mode. | ||
| Factory Reset (This procedure should only be used when the controller is inoperable.) | 1. Press the link button times within 1. t› seconds to put the unit into exclusion mode. | |
| z. within 1 second of step 1, press the link button again and hold for 5 seconds. | ||
| 1. Nooe IU is excluded. The device reverts to the factory default state. | I-second on, 2-second ott For 2 minutes | |
| *Failed or successful results in including/excluding the ID can be viewed on the Z-Wave Controller. | ||
Note: If you are connecting this unit to a Z-wave Controller that utilizes the S2 security protocol, you may be asked to enter a 5 digit Device Specific Key (DSK) that is unique to each unit by your controller. This can be found in one of two places:
– on the QR code label on the back of the unit
– on the insert card inside the packaging
The table below lists typical problems encountered:
| Symptom | Possible Cause | recommendation |
| press panic Dutton, LED illuminates, but the receiver(s) have no response |
|
|
Specifications
| Battery Type | Battery x2 |
| Battery Life | 1 year‘ |
| Transmitting Range | Up to 100 meters line of sight |
| frequency Hange | t-U: 868.42HMz US: 908.42 MHz JP: 922.5MHz |
| FCC ID | FUSAC 136 |
| IC | 2J21U-AU Jb |
Specifications are subject to change without notice
*measured at 1 trigger per day



Federal Communication Commission Interference Statement
This device complies with Part 15 of the FCC Rules. Operation is subject to the following two conditions: (1) This device may not cause harmful interference, and (2) this device must accept any interference received, including interference that may cause undesired operation.
This equipment has been tested and found to comply with the limits for a Class B digital device, pursuant to Part 15 of the FCC Rules. These limits are designed to provide reasonable protection against harmful interference in a residential installation. This equipment generates, uses, and can radiate radio frequency energy and, if not installed and used in accordance with the instructions, may cause harmful interference to radio communications. However, there is no guarantee that interference will not occur in a particular installation. If this equipment does cause harmful interference to radio or television reception, which can be determined by turning the equipment off and on, the user is encouraged to try to correct the interference by one of the following measures:
- Reorient or relocate the receiving antenna.
- Increase the separation between the equipment and receiver.
- Connect the equipment into an outlet on a circuit different from that to which the receiver is connected.
- Consult the dealer or an experienced radio/TV technician for help.
FCC Caution: Any changes or modifications not expressly approved by the party responsible for compliance could void the user’s authority to operate this equipment.
This transmitter must not be co-located or operating in conjunction with any other antenna or transmitter.
Radiation Exposure Statement:
This equipment complies with FCC radiation exposure limits set forth for an uncontrolled environment.
This equipment should be installed and operated with a minimum distance of 20cm between the radiator & your body.
Industry Canada statement:
This device complies with ISED’s license-exempt RSS. Operation is subject to the following two conditions: (1) This device may not cause harmful interference, and (2) this device must accept any interference received, including interference that may cause undesired operation.
Radiation Exposure Statement:
This equipment complies with ISED radiation exposure limits set forth for an uncontrolled environment. This equipment should be installed and operated with a minimum distance of 20cm between the radiator & your body.
Warning:
Do not dispose of electrical appliances as unsorted municipal waste, use separate collection facilities. Contact your local government for information regarding the collection systems available.
If electrical appliances are disposed of in landfills or dumps, hazardous substances can leak into the groundwater and get into the food chain, damaging your health and well-being.
When replacing old appliances with new ones, the retailer is legally obligated to take back your old appliance for disposal at least for free of charge.

www.everspring.com
50 Sect. 1 Zhonghua Rd TuchengNewTaipeiCity 236 Taiwan.


















