SEALEY SMS255.V3 255MM Sliding Compound Mitre Saw

Thank you for purchasing a Sealey product. Manufactured to a high standard, this product will, if used according to these instructions, and properly maintained, give you years of trouble free performance.
IMPORTANT: PLEASE READ THESE INSTRUCTIONS CAREFULLY. NOTE THE SAFE OPERATIONAL REQUIREMENTS, WARNINGS & CAUTIONS. USE
THE PRODUCT CORRECTLY AND WITH CARE FOR THE PURPOSE FOR WHICH IT IS INTENDED. FAILURE TO DO SO MAY CAUSE DAMAGE AND/OR
PERSONAL INJURY AND WILL INVALIDATE THE WARRANTY. KEEP THESE INSTRUCTIONS SAFE FOR FUTURE USE.
SAFETY
ELECTRICAL SAFETY
WARNING! It is the user’s responsibility to check the following: Check all electrical equipment and appliances to ensure that they are safe before using. Inspect power supply leads, plugs and all electrical connections for wear and damage. Sealey recommend that an RCD (Residual Current Device) is used with all electrical products. You may obtain an RCD by contacting your local Sealey stockist. if the multi-tool is used in the course of business duties, it must be maintained in a safe condition and routinely PAT (Portable Appliance Test) tested. Electrical safety information. It is important that the following information is read and understood
- Ensure that the insulation on all cables and on the appliance is safe before connecting it to the power supply.
- Regularly inspect power supply cables and plugs for wear or damage and check all connections to ensure that they are secure.
- IMPORTANT: Ensure that the voltage rating on the appliance suits the pow er supply to be used and that the plug is fitted with the
correct fuse – see fuse rating in these instructions. - DO NOT abuse the power cord. NEVER use the cord for carrying, or pulling the saw. Keep cord away from heat, oil, sharp edges or moving parts.
- DO NOT pull the plug from the socket by the cable. Remove the plug fr om the socket by maintaining a firm grip on the plug.
- DO NOT use worn or damaged cables, plugs or connectors. Ensure that any faulty item is repaired or replaced immediately by a qualified electrician
This product is fitted with a BS1363/A 13 Amp 3 pin plug. If the cable or plug is damaged during use, switch off the elect ricity supply and remove from use. Replace a damaged plug with a BS1363/A 13 Amp 3 pin plug. If in doubt contact a qualified electrician. Class II products are wired with live (brown) and neutral (blue) only and are marked with the Class II symbol;
- Connect the BROWN live wire to the live terminal ‘L’.
- Connect the BLUE neutral wire to the neutral terminal ‘N’.
- After wiring, check that there are no bare wires and ensure that all wires have been correctly connected.
- Ensure that the cable outer sheath extends inside the cable restraint and that the restraint is tight.

DO NOT connect either wire to the earth terminal. Sealey recommends that repairs are carried out by a qualified electrician. If an extension reel is used it should be fully unwound before connection. A reel with an RCD fitted is preferred since any appliance plugged into it will be protected. The cable core section is important and should be at least 1.5mm², but to be absolutely sure that the capacity of the reel is suitable for this product and for others that may be used in the other output sockets, we recommend the use of 2.5mm² section cable. If the extension reel is to be used outdoors, ensure it is marked for outdoor use.
GENERAL SAFETY
- Familiarise yourself with the applications, limitations and potential hazards of the saw.
- DO NOT let familiarity gained from frequent use of the saw allow you to become complacent and ignore tool safety principles.
- DANGER! Prevent unintentional starting. Ensure the switch is in the OFF position before connecting to the power source, picking up or carrying the saw.
- Stay alert, watch what you are doing and use common sense when operating the saw.
- WARNING! Disconnect the saw from the mains power before changing accessories, servicing or performing any maintenance.
- The machine must only be serviced by a qualified person or service agent. Contact your Sealey stockist for information.
- Select a work area suitable for the saw and keep the area clean, tidy and free from unrelated materials. Ensure that there is adequate lighting.
- Wood dust can be harmful to health by inhalation and skin contact. Concentrations of small dust particles in the air can form an explosive mixture. Ensure that there is adequate ventilation and that the saw is attached to a dust-extraction unit.
- Maintain the saw in good condition, check moving parts alignment regularly. Keep saw blades clean and sharp. ,
- Replace or repair damaged parts. Use recommended parts only. Unauthorized parts may be dangerous and will invalidate the warranty.
- WARNING! Keep all guards and holding screws in place, tight and in good working order. Check regularly for damaged parts.
- A guard, or any other part, that is damaged should be repaired or replaced before the saw is next used. The safety guard is a mandatory fitting where the saw is used in premises covered by the Health & Safety at Work Act.
- Before commencing work, ensure the saw blade is set to cut in the correct direction, securely fastened, sharp and is compatible with the machine, spindle speed and the material to be cut. Never use a saw blade if damaged, bent or warped.
- Use only recommended saw blades.
- Remove adjusting keys and wrenches from the machine and the vicinity before switching on.
- Machine operators must have received sufficient training and instructions relating to the dangers associated with the machine, the precautions to be observed and the requirements of the Wood Working Machines Regulations. Operators must be under the adequate supervision of a person who has a thorough knowledge and experience of the machine and the appropriate regulations.
- DO NOT operate the saw if any parts are damaged or missing as this may cause failure and/or personal injury.
- DO NOT operate the saw when you are tired or under the influence of alcohol, drugs or intoxicating medication.
- When not in use switch off the saw and unplug from the power supply. ,
- WARNING! Wear approved safety eye protection, ear defenders and, if dust is generated, respiratory protection.
- Remove ill fitting clothing. Remove ties, watches, rings and other loose jewellery and contain long hair
- Keep hands and body clear of the blade when operating the saw
- DO NOT overreach. Maintain correct balance and footing. Ensure the floor is not slippery and wear non-slip shoes.
- Keep children and unauthorised persons away from the work area.
- DO NOT leave the saw operating unattended.
- DO NOT force the saw. Use the correct blade for your application.
- DO NOT use the saw for a task it is not designed to perform and ensure operators are trained to use the saw.
- DO NOT get the saw wet or use in damp or wet locations or areas where there is condensation.
- DO NOT use the saw in explosive atmospheres, where there are flammable liquids, dust, solids or gases such as paint solvents and including waste cleaning rags etc.
- When not in use clean the unit and store the saw in it’s original packaging in a safe, dry, childproof location
SPECIFIC SAW SAFETY INSTRUCTIONS
- Use the saw, accessories and tool bits in accordance with these instructions, taking into account the working conditions and the work to be performed.
- Mitre saws are intended to cut wood or wood-like products, they cannot be used with abrasive cut-off wheels for cutting ferrous material such as bars, rods, studs, etc. Abrasive dust causes moving parts such as the lower guard to jam. Sparks from abrasive cutting will burn the lower guard, the kerf insert and other plastic parts.
- DO NOT use the saw if the switch does not turn in ON or OFF.
- Use clamps to support the workpiece whenever possible. If supporting the workpiece by hand, you must always keep your hand at least 100 mm from either side of the saw
- DO NOT use this saw to cut pieces that are too small to be securely clamped or held by hand. If your hand is placed too close to the saw blade, there is an increased risk of injury from blade contact.
- The workpiece must be stationary and clamped or held against both the fence and the Do not feed the workpiece into the blade or cut “freehand” in any way. Unrestrained or moving workpieces could be thrown at high speeds, causing injury.
- Push the saw through the Do not pull the saw through the workpiece. To make a cut, raise the saw head and pull it out over the workpiece without cutting, start the motor, press the saw head down and push the saw through the workpiece. Cutting on the pull stroke is likely to cause the saw blade to climb on top of the workpiece and violently throw the blade assembly towards the operator.
- Never cross your hand over the intended line of cutting either in front or behind the saw blade. Supporting the workpiece “cross handed” i.e. holding the workpiece to the right of the saw blade with your left hand or vice versa is very dangerous.
- DO NOT reach behind the fence with either hand closer than 100 mm from either side of the saw blade, to remove wood scraps, or for any other reason while the blade is spinning. The proximity of the spinning saw blade to your hand may not be obvious and you may be seriously injured.
- Inspect your workpiece before cutting. If the workpiece is bowed or warped, clamp it with the outside bowed face toward the fence. Always make certain that there is no gap between the workpiece, fence and table along the line of the cut. Bent or warped workpieces can twist or shift and may cause binding on the spinning saw blade while cutting
- There should be no nails or foreign objects in the workpiece.
- DO NOT use the saw until the table is clear of all tools, wood scraps, etc., except for the workpiece. Small debris or loose pieces of wood or other objects that contact the revolving blade can be thrown with high speed.
- Cut only one workpiece at a time. Stacked multiple workpieces cannot be adequately clamped or braced and may bind on the blade or shift during cutting.
- Ensure the mitre saw is mounted or placed on a level, firm work surface before A level and firm work surface reduces the risk of the mitre saw becoming unstable.
- Plan your work. Every time you change the bevel or mitre angle setting, make sure the adjustable fence is set correctly to support the workpiece and will not interfere with the blade or the guarding system. Without turning the tool “ON” and with no workpiece on the table, move the saw blade through a complete simulated cut to assure there will be no interference or danger of cutting the
- Provide adequate support such as table extensions, saw horses, etc. for a workpiece that is wider or longer than the table top. Workpieces longer or wider than the mitre saw table can tip if not securely supported. If the cut-off piece or workpiece tips, it can lift the lower guard or be thrown by the spinning blade.
- The cut-off piece must not be jammed or pressed by any means against the spinning saw blade. If confined, i.e. using length stops, the cut-off piece could get wedged against the blade and thrown violently.
- Always use a clamp or a fixture designed to properly support round material such as rods or Rods have a tendency to roll while being cut, causing the blade to “bite” and pull the work with your hand into the blade.
- Let the blade reach full speed before contacting the This will reduce the risk of the workpiece being thrown.
- If the workpiece or blade becomes jammed, turn the mitre saw Wait for all moving parts to stop and disconnect the plug from the power source. Then work to free the jammed material. Continued sawing with a jammed workpiece could cause loss of control or damage to the mitre saw.
- After finishing the cut, release the switch, hold the saw head down and wait for the blade to stop before removing the cut-off piece. Reaching with your hand near the coasting blade is dangerous.
- Hold the handle firmly when making an incomplete cut or when releasing the switch before the saw head is completely in the down position. The braking action of the saw may cause the saw head to be suddenly pulled downward, causing a risk of injury.
- Always use a fence or straight edge guide when ripping.
- Before making a cut make sure the depth, bevel and mitre adjustments are tight.
- Use correct blades. Do not use blades with incorrect size holes
- Never use blade washers or bolts that are defective or incorrect.
- Refer to unit specification for maximum blade capacity etc.
- Inspect and remove all nails from timber before cutting.
- Never touch the blade or moving parts during use.
- Never start the saw when the blade is in contact with the workpiece.
- Keep handles and grasping surfaces dry clean and free from oil and grease.
- LASER LIGHT. LASER RADIATION DO NOT stare into the beam. Only turn a laser beam on when tool is on the workpiece.
INTRODUCTION
Powerful 2000W motor. Features integral aluminum workpiece supports that stored inside the aluminum base to save space and prevent loss. Fitted with a 40-tooth TCT blade for fresh wood. Can be fitted with Model No. SMS255B multipurpose blade for use with mild steel, aluminum, and wood with nails. Features double slides which can be locked at different lengths allowing greater control over the desired length of cut. Max cut of up to 315mm at 0° bevel. Unit is also fitted with a laser guide to help produce accurate cuts. Supplied with workpiece clamp, dust extraction bag and fitted with carry handle. Features locking increments at mitre stops 0°,15°, 22.5°, 31.6°, 45° Left & Right.
SPECIFICATION
- Model no……………………………………………………..SMS255.V3
- Blade size………………………………Ø254 x 2.8 x Ø30mm (40T)
- Consumable Parts:
- Multipurpose Cut-Off Saw Blade Ø250 x 2.4mm/Ø30mm 60tpu
- Dust extraction port…………………….Ø35mm ID x Ø43mm OD
- Motor power………………………………………………………..2000W
- No-load speed…………………………………………………..5000rpm
- Positive mitre lock……….0°,15°, 22.5°, 31.6°, 45° Left & Right
- Supply…………………………………………………………………..230V
- Cross Cut (00 Bevel x 00 Table)………………………90 x 315mm
- Mitre Cut (0° Bevel x 45° Table):…………………….90 x 215mm
- Bevel Cut (45° Bevel x 45° Table):………………….40 x 215mm
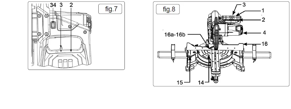
COMPONENTS

| 1 | Handle | 11 | Turn table locking handle | 19 | Bevel pointer | 29 | Flange bolt |
| 2 | ON/OFF Switch | 12 | Pointer | 20 | Locking screw for drag guide | 30 | Outer flange |
| 3 | Lock-off lever | 13 | Mitre scale | 21 | Drag guide | 31 | Spindle lock button |
| 4 | Machine head | 14 | Turn table | 22 | Locking screw knob | 32 | Inner flange |
| 5 | Moving blade guard | 15 | Fixed saw table | 23 | Fastening bolt | 33 | Laser |
| 6 | Saw blade | 16 | Stop rail | 24 | Screw for cutting depth limiter | 34 | ON/OFF switch for laser |
| 7 | Clamping device | 16a | Extension block | 25 | Stop for cutting depth limiter | 35 | Laser compartment |
| 8 | Workpiece support | 16b | Set screw | 26 | Locking bolt | 36 | Laser holder |
| 9 | Locking screw for workpiece support | 17 | Sawdust bag | 27 | Support foot | 37 | Guide bar |
| 10 | Table insert | 18 | Bevel scale | 28 | Turn table release lever | 38 | Adjusting screw |
ASSEMBLY
- Secure the saw to a workbench or a stable work stand by inserting four screws through the holes in the machine’ s feet. The area should be well lit and have sufficient room to use the machine safely.
- ATTACH CLAMPING DEVICE
- The clamping device can be secured to the left or right side of the fixed saw table.
- Insert the clamping device (fig 4 – 7) into the hole in the fixed saw table (fig 6 – 15) on the rear side of the stop rail (fig 4 – 16).
Secure at the height required with star grip screw (fig 4 – 7a). - ATTACH WORKPIECE SUPPORTS
- Position workpiece assembly (fig 6 – 8) into holes in side of fixed saw table (fig 6 – 15).
- Repeat on other side.
- Secure in required position with locking screw (fig 6 – 9).
- ATTACH THE SAWDUST BAG
- To attach the sawdust bag (fig 1 – 17) squeeze together the metal ring on the dust bag and slide onto the dust outlet port and secure by releasing the pressure on the metal ring.
- To empty the sawdust bag, remove it from the dust outlet port by squeezing the metal ring and empty by unzipping the slide fastener, into a suitable waste container.
- Re-attach the sawdust bag as section 5.4.1.
NOTE: If using the saw with dust extraction, use a suitable adaptor to attach to the saw dust outlet port. - TO ROTATE THE TURN TABLE
- To rotate the turn table (fig 4 – 14) unscrew the locking handle (fig 5 – 11) by approx. 2 turns, and lift up the release lever (fig 5 – 28).
- Turn the turn table and pointer (fig 4 – 12) to the required angle measurement on the scale (fig 4 – 13), and secure by re-tightening the locking handle.
- DISENGAGE THE SAW FROM THE LOWEST POSITION
- When boxed, during storage or transportation, the saw head is required to be locked in the down position.
- To release the machine head (fig 3 – 4) ready for operation, apply downward pressure and remove the fastening bolt (fig 3 – 23). The machine head will raise slowly to it’s upper position.

OPERATION
NOTE: Ensure all Safety Instructions in Section 1 are read and understood and carried out before use.
WARNING! To prevent accidental starting that could cause possible serious injury, assemble all parts, make sure adjustments are complete, and make sure all fasteners are secure before connecting to the power supply.
WARNING! The saw should never be connected to the power supply when you are assembling parts, making adjustments, installing or removing blades and when not in use.
TURNING ON AND OFF
- To turn the saw on move the lock-off lever (fig 7 – 3) to the left, and depress and hold the on/off trigger switch (fig 7 – 2).
- To turn the saw off, release the on/off trigger switch (fig 7 – 2).
- WARNING! Allow the blade to reach full speed before contacting the workpiece.

LIMITING THE CUTTING DEPTH
Move the cutting depth limiter (fig 10 – 25) by unscrewing the P hilips headed screw and move the limiter inside. Loosen the knurled nut on limiter screw (fig 10 – 24) and turn t he screw in or out to set the required depth. Re-tighten the knurled nut. Check the setting by completing a test cut. Adjust if required.

LASER GUIDE INSTRUCTION
- The saw is equipped with a laser guide to aid in precision cutting, by projecting a visible red line onto the workpiece surface.
- When required switch on using the laser On/Off switch (fig 7 – 34).
- Switch off the laser after completing the cut.
- NOTE: Clean the laser (fig 1 – 33) periodically as the sawdust may ‘block’ the laser beam.
- WARNING! NEVER stare directly into the laser beam or point the beam at anybody.
- DANGER: Laser radiation. Avoid direct eye contact with light source.
WARNING! Remove the plug from the power socket before carrying out any adjustments, servicing or maintenance. When all the adjustments, servicing or maintenance have been completed, ensure that all keys and wrenches have been removed and that all screws, bolts and other fittings are securely tightened.
- CLEANING
- Keep the ventilation grilles clear of dust.
- Wipe clean with a dry cloth or soft brush regularly
- DO NOT use water or solvents to clean the saw.
- Brush sawdust and wood chips from the bed and head regularly
- PRECISION SETTING OF 0º TURN TABLE ANGLE
- The saw has been factory set, and it is advisable to check the 0º setting of the turn table.
- Lower the machine head (fig 1 – 4) and secure with the fastening bolt (fig 11 – 23).
- Move the turn table to 0º . See section 5.5.
- Using a set square (not supplied) check that the angle between the saw blade (fig 2 – 6) and the stop rail (fig 1 – 16) is 90º.
- Make any adjustments using adjusting screw a (fig 11 – a).
- If any adjustment has been made the pointer (fig 1 – 12) may require adjusting.
- Using a Philips screwdriver re-align the pointer to the 0º on the mitre scale (fig 1 – 13).
- PRECISION SETTING OF 90º BEVEL ANGLE
- The saw has been factory set, and it is advisable to check the 90º setting of the bevel.
- Lower the machine head (fig 1 – 4) and secure with the fastening bolt (fig 11 – 23).
- the machine head to 90º See section 6.7.
- Using a set square (not supplied) check that the angle between the saw blade (fig 2 – 6) and the fixed table (fig 1 – 15) is 90º.
- Make any adjustments using adjusting screw a (fig 12 – 38).
- If any adjustment has been made the bevel pointer (fig 1 – 19) may require adjusting.
- Using a Philips screwdriver re-align the pointer to the 90º on the bevel scale (fig 1 – 18).

WARNING! Ensure the new blade is fitted with the direction of rotation matching the arrow on the blade guard.
NOTE: Fig 16 shows an exploded view of the saw blade and locking fixings.
WEEE REGULATIONS
Dispose of this product at the end of its working life in compliance with the EU Directive on Waste Electrical and Electronic Equipment (WEEE). When the product is no longer required, it must be disposed of in an environmentally protective way. Contact your local solid waste authority for recycling information.
ENVIRONMENT PROTECTION
Recycle unwanted materials instead of disposing of them as waste. All tools, accessories and packaging should be sorted, taken to a recycling centre and disposed of in a manner which is compatible with the environment. When the product becomes completely unserviceable and requires disposal, drain any fluids (if applicable) into approved containers and dispose of the product and fluids according to local regulations.
Note: It is our policy to continually improve products and as such we reserve the right to alter data, specifications and component parts without prior notice. Please note that other versions of this product are available. If you require documentation for alternative versions, please email or call our technical team on [email protected] or 01284 757505.
Important: No Liability is accepted for incorrect use of this product.
Warranty
The guarantee is 12 months from the purchase date, proof of which is required for any claim. Sealey Group, Kempson Way, Suffolk Business Park, Bury St Edmunds, Suffolk. IP32 7AR
- 01284 757500
- 01284 703534
- [email protected]
- www.sealey.co.uk




















