GLOBAL INDUSTRIAL 246102 Horizontal Unit Heater 10KW/240V1/3 Phase User Manual
WARNING
PLEASE READ ALL INSTRUCTIONS BEFORE USING THIS HEATER
IMPORTANT INSTRUCTIONS
PLEASE READ ALL INSTRUCTIONS BEFORE USING THIS HEATER
When using electrical appliances, basic precautions should always be followed to reduce risk of fire, electrical shock and injury to persons or property, including the following:
- Read all instructions before using this heater.
- This heater is hot when in use. To avoid burns, do not let bare skin touch hot surfaces. Keep combustible materials, such as furniture, pillows, bedding, papers, clothes and curtains at least 3 ft. (0.9 meters) from the front and top of the heater and keep them away from the sides and rear.
- Extreme caution and reasonable supervision is necessary when any heater is used by or near children, invalids or pets and whenever the heater is left operating and unattended.
- Always switch off the heater when not in use.
- Do not operate any heater after the heater malfunctions, has been dropped or damaged in any manner. Disconnect power at service panel and have heater inspected by a qualified electrician before reusing.
- Do not use outdoors.
- To disconnect heater, turn off power to heater circuit at main disconnect panel.
- Do not install less than 6 feet (1.8 m) high from the floor and closer than 1 foot (0.3 m) to any adjacent vertical surfaces or walls. Keep at least 4.5 inches (11.5 cm) from the back wall (with or without using the wall hanging mounting bracket).
Traces of smoke or odor when unit is initiated indicates that small amounts of oil leaked on heating coil during manufacturing. It will evaporate quickly and should not re-occur. Make sure the appliance location is well ventilated during operation. It is normal for the unit to emit sounds when turned on for the first time. Make sure that the room in which the appliance is located is well ventilated during this operation - Do not insert or allow foreign objects to enter any ventilation or exhaust opening as this may cause an electric shock or fire, or damage the heater.
- To prevent a possible fire, do not block air intakes or exhaust in any manner.
- A heater has hot and arcing or sparking parts inside. To reduce the risk of fire, do not use it in areas where gasoline, paint, or flammable vapors and liquids are used or stored.
- Use this heater only as described in this manual. Any other use not recommended by the manufacturer may cause fire, electric shock, or injury to persons.
- This product must be installed by a certified electrician, in accordance with local codes.
- For supply cables, use 6 AWG (13.3 mm2) copper wires .
WARNING
RISK OF FIRE, DO NOT USE AS A RESIDENTIAL OR HOUSEHOLD HEATER
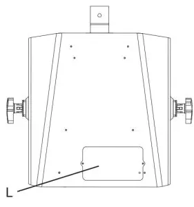
Parts List



A. Wall Mount Bracket
B. Ceiling Bracket
C. Upper Housing
D. Louver for air direction
E. Tilt adjustable knob
F. Lower Housing
G. Front Exhaust Grill
H. Select switch for built-in Thermostat or Wall Thermostat
I. Inspection window (Inspection cover)
J. ON/OFF Switch
K. Thermostat knob
L. Wiring access window (wire connection cover)
Product Specification
Product Specification | |
Model | 246102 |
Length Inches | 18.11 |
| Width Inches | 16.73 |
Height Inches | 16.06 |
Wire Size For Installation | 6AWG |
| Net Weight Lbs | 48.24 |
Construction | Cold Rolled Steel |
| Btu High | 34,129 |
Cfm High | 600 |
| Outlet Air Temperature | 221°F @ Ambient Temp. 77°F |
Voltage | 240V |
Phase | 1 or 3 |
Amps | 41.7 |
| Watts | 10,000 |
Kilowatts | 10 |
| Circuit Breaker Amp rating | 60A |
| Safety Tip-Switch | No |
Limited Warranty Years | 1 |
| Certification | UL,cUL |
Wiring Diagram


NOTE:
- 1 Phase Connection

- 3 Phase Connection

For 3 Phase Wiring:
Connect lead wire [ W ] to terminal point [ W1 ] and lead wire [ T ] to terminal point [ T1 ]
NOTE:
To use an external temperature controller (a wall thermostat). Detached the black wire that short current Terminal “A”, and then insert the lead wires from wall thermostat to Terminal A and secured. Switch the selector switch to Wall thermostat to use it.
For single phase connection, please connect to L1 and L3.
For 3 phase connection, move red wire marked “W” connecting terminal L1 to W1 and move red wire marked “T” connecting terminal L3 to T1.
INSTALLING INSTRUCTIONS
WARNING
All wiring must be installed by a certified electrician according to the local electrical codes. The ceiling heater must be grounded in accordance with all national and local building codes.
All Wiring procedures and connections shall be in accordance with the national and local codes having jurisdiction.
Prior to installation:
Disconnect the main supply connection. Supply cables shall be 6 AWG (13.3 mm2) copper wires.
The heater must be connected to individual branch circuit protected by 60 Amp circuit breaker only.
Supply cables must be equipped with a dual pole circuit breaker rating at least 240V 60A/pole as main cutoff switch of power connection to the heater.
Wiring compartment for accommodating supply cables and pigtail leads are adequate and measured free space of 2524.67 cm3.
CAUTION
High temperature, risk of fire, keep electrical cords, drapery, furnishings, and other combustibles at least 3 feet (0.9 m) from the front of the heater and away from the side and rear.
WARNING
To reduce the risk of fire, do not store or use gasoline or other flammable vapors and liquids in the vicinity of the heater.

CONTENTS | ||
Part | Qty. | Description |
| 1 | 2 | Tilt adjustment knob |
2 | 2 | Rubber washer |
| 3 | 1 | Hex bolt M10 x 60mm L, zinc plated |
4 | 2 | Washer, 10mm, zinc plated |
| 5 | 1 | Spring washer |
6 | 1 | Nut |
| 7 | 2 | Expansion bolt |
8 | 1 | Wall hanger |
| 9 | 1 | Handle |
10 | 2 | Expansion Nut |
Wall Mount Installation Instructions:
- Install the unit at least 6 feet (1.8 m) away from the floor. This minimum distance must be maintained.
- Do not install closer than 1 foot (or 0.3 m) to any adjacent vertical surfaces or walls.
- Keep at least 4.5 inches (11.5 cm) from the back wall (with or without using the wall hanging mounting bracket).
- Determine the mounting location on the wall/ceiling and mark the hole locations.
- Use a 0.48 inch(12mm) drill bit and drill (2) holes 2.75 inches deep.
- Insert the expansion bolts (7) flush to wall or ceiling.
- Attach the mounting bracket (8) and secure with expansion nut (10).

Note: The bracket must be firmly attached to the wall before hanging the unit - Hook the unit to the mounting bracket (8) and let the unit hang from the mounting bracket (8).

- Insert washer (4) and hex bolt (3) through mounting bracket (8) and heater handle (9). Tighten with washer (4), spring washer (5) and nut (6).

Wire Connection: - Loosen the screw to remove the inspection window cover in the rear of the heater.
- Run the electrical power supply cable in conduit.
- Secure the conduit to the back plate via the knock-out hole.

- Make the connections properly with connectors which are suitable for the conductor size, including grounding wirings. Pull all the conductors from the conduit. Strip 3/4 inch of insulation from ground conductors. Make a right angle bend in the green(green/yellow) pigtail and place its stripped end next to the stripped ends of the other green(green/yellow) supply cable. Make sure that the bare ends are tight together and square. Using lineman’s pliers, twist the bare ends tightly together in a clockwise direction, then screw one of the wire nuts tightly on the spliced conductors. Check to be sure that no bare copper shows from beneath the wire nut.
- For the rest of the supply cable, strip 0.4inch (10mm) of the insulation.
- Identify the supply cables’ phase and insert into respective L1, L2, L3 terminal. Secure the hex nuts.
- And after making the connections, arrange the pigtail leads of unit and power supply wires in the wiring compartment.
- Replace the wiring cover and lock in place with the screw.
- Consult NEC code for other types of approved electrical wire splices & wire connectors.
SINGLE AND 3 PHASE CONNECTION
Single phase connection:
This heater is capable to connect with single phase or 3 phase power. Check the power source and use the correct wiring for connection.
Note:The heater is factory wired with a Single phase configuration. Confirm that the power source is Single phase as well.
- Open the access window.
- Connect the 2 supply cords to L1 and L3.
- Replace the cover and lock in place with the screw.
3 phase connection:
For a 3 phase connection, wiring has to be modified.
- Open the access window. Look for the internal red wires which mark “T” and “W”.

- Unplug the red wire “W” and plug to the Terminal W1/L2 position.

- Unplug the red wire “T” and plug to the Terminal T1 position.

- Now the heater is of 3 phase wiring.
- Check the power source is a 3 phase supply.
- Connect the supply cords to L1, L2, L3.
- Replace the cover and lock in place with the screw.
How to connect an external temperature controller (a wall thermostat):
- Open the access window (wire connection cover), at the corner is the terminal block. This is Terminal A.

- Insert the lead wires from the external temperature controller into the terminal and secure.
- After making the connections, arrange the leads back into the wiring compartment.
- Replace the cover and lock in place with the screw.
- Remember to switch the selector switch to “WALL THERMOSTAT” position.
NOTE: when the selector switch is at “INSIDE THERMOSTAT” position, the internal thermostat is in use.
CAUTION
- Consult an electrician for an appropriate external temperature controller (wall thermostat).
- Install the external temperature controller by a certified electrician according to the electrical safety.
OPERATING INSTRUCTIONS
CAUTION
The heater must be properly installed before it is used.
HAZARD OF ELECTRIC SHOCK, EXPLOSION, OR ARC FLASH:
- Apply appropriate personal protective equipment (PPE) and follow safe electrical work practices. See NFPA 70.
- A circuit breaker must be installed and serviced only by qualified electrical personnel.
- Always use a properly rated voltage sensing device to confirm power is off.
The switch on the heater is to start the Fan and Heater. Use the circuit breaker as power ON/OFF device. The circuit breaker is to be installed by certified electrician and shall be located in line of sight from the heater location or shall be capable of being locked in open position. Follow the operating instruction to reduce the risk of fire, electric shock, injury or death. - Switch on the circuit breaker to turn on the heater power.
- Press the switch at the back of the heater to turn on the fan and heating function.
- To turn off the heater, press the switch to turn off the fan and heating function. And then switch off the circuit breaker. The circuit breaker serves as the power disconnection means.
Temperature setting
The heater is capable to connect to an external wall thermostat. If a wall thermostat has been connected to the heater. Make sure which thermostat is in use. There is the selector switch: “INSIDE THERMOSTAT” position is the internal thermostat. “WALL THERMOSTAT” position is the external thermostat.
How to select a thermostat setting:
Using the built-in temperature controller (built-in thermostat):
Note: The selector switch must be at the “INSIDE THERMOSTAT” position.
- Ambient temperature is regulated by adjusting the built-in thermostat to a desired position.
- Allow the unit to operate and warm up the room.
- When the desired temperature is reached, turn the control knob counterclockwise until the heater turns off. This is the ideal setting.
- The heater will start automatically when the room temperature drops below this set point, and will turn off when the set point is reached.
Using an external temperature controller (a wall thermostat):
Note: The selector switch must be at the “WALL THERMOSTAT” position.
- To use an external temperature controller (a wall thermostat), follow the installation instruction to connect the wall thermostat first.
- Press the selector switch to “WALL THERMOSTAT” position. Now wall thermostat is selected and the built-in thermostat is being disconnected.
- Ambient temperature is regulated by adjusting the wall thermostat to a desired position.
- Allow the unit to operate and warm up the room.
- When the desired temperature is reached, turn the control knob counterclockwise until the heater turns off. This is the ideal setting.
- The heater will start automatically when the room temperature drops below this set point, and will turn off when the set point is reached.
MAINTENANCE AND CLEANING
There is no user maintenance except regular cleaning as explained below. All other servicing or maintenance should be performed by qualified service personnel.
Before any cleaning, make sure that:
- Disconnect power supply at source. Switch off the circuit breaker.
- Wait for 60 minutes to ensure the heating element has cool down before cleaning.
Regular Cleaning:
- Do not use cleaning liquid or other chemicals to spray on the unit.
- Interior dust can often be removed by using a vacuum cleaner with a crevice tool attachment.
- To clean enclosure, use a clean, soft and lightly damp cloth to gently wipe off the dirt from the surface of the unit. Be sure not to wet the heating element and the switches. Allow the unit to dry completely before using it.
CAUTION
Do not allow water to run into the interior of the heater as this could create a fire or electric shock hazard and damage the unit.
TROUBLESHOOTING
If your heater fails to operate, please follow these procedures:
This heater is intended to be ceiling or wall mounted. It has thermal cut-off protection. If the thermal cut-off protection trips, turn off the power and switch off the circuit breaker. The unit should reset automatically after 10 minutes. If the thermal cut-off protection trips again, consult a certified electrician to determine the reason for overheating.
Problem | Probable Cause | Solution |
| Unit is not heating. | Overheat protection has temporarily deactivated the heater. | Turn the heater OFF; Switch off the circuit breaker. Wait 10 minutes before turning on the heater. |
| Breaker/Fuse has been tripped. | Check your electrical box to confirm the breaker has not been blown. This may occur if the receptacle is shared between other high consumption appliances. | |
| The heater is producing a burning smell. | Check & ensure there are no combustible materials within 0.9 meters (3 feet) surrounding the heater. | Remove any combustible items from the heater. |
| A small amount of oil fell on the heating coil during the manufacturing process. It will quickly evaporate and should not occur again. | Ensure room in which heater is situated is well ventilated. | |
| Ensure a minimum clearance of 4.5 inches (11.5 cm) from both sides and rear of heater to adjacent walls. | Reposition the heater so there is enough space around the heater to the adjacent walls. |
PLEASE DO NOT ATTEMPT TO OPEN OR REPAIR THE HEATER YOURSELF. DOING SO COULD CAUSE DAMAGE OR PERSONAL INJURY.



























