


User’s manual
Customer Service
US: 1-800-645-2986
Horizontal Downflow Unit Heater
With Remote Control
Model:246726

READ & SAVE THESE INSTRUCTIONS
WARNING
PLEASE READ ALL INSTRUCTIONS BEFORE USING THIS HEATER
IMPORTANT INSTRUCTIONS
PLEASE READ ALL INSTRUCTIONS BEFORE USING THIS HEATER
NOTE: There may be a trace of smoke or odor when unit is first operated. Don’t be alarmed. This indicates that a drop of oil fell on the heating coil during the manufacturing process. It will quickly evaporate and should not re-occur.
Make sure that the room in which the appliance is located is well ventilated during this operation. It is normal for the appliance to emit small cracking sounds when you turn it on for the first time. Do not be alarmed.
When using electrical appliances, basic precautions should always be followed to reduce risk of fire, electrical shock and injury to persons or property, including the following:
- Read all instructions before using this heater.
- This heater is hot when in use. To avoid burns, do not let bare skin touch hot surfaces. Keep combustible materials, such as furniture, pillows, bedding, papers, clothes and curtains at least 3 ft. (0.9 meters) from the front and top of the heater and keep them away from the sides and rear.
- Extreme caution and reasonable supervision is necessary when any heater is used by or near children, invalids or pets and whenever the heater is left operating and unattended.
- Always switch off the heater when not in use.
- Do not operate any heater after the heater malfunctions, has been dropped or damaged in any manner. Disconnect power at service panel and have heater inspected by a qualified electrician before reusing.
- Do not use outdoors.
- To disconnect heater, turn off power to heater circuit at main disconnect panel.
- This heater should be installed at least 8 feet (2.4 m) from the floor and no closer than 1 foot (0.3 m) from any adjacent surfaces or walls. Keep at least 4.5 inches (0.12m) from the back wall, regardless of whether the wall mount bracket is used.
- Do not insert or allow foreign objects to enter any ventilation or exhaust opening as this may cause an electric shock or fire, or damage the heater.
- To prevent a possible fire, do not block air intakes or exhaust in any manner.
- A heater has hot and arcing or sparking parts inside. To reduce the risk of fire, do not use it in areas where gasoline, paint, or flammable vapors and liquids are used or stored.
- Use this heater only as described in this manual. Any other use not recommended by the manufacturer may cause fire, electric shock, or injury to persons.
- This product must be installed by a certified electrician, in accordance with local codes.
- For supply cables, use 8 AWG (8.3 mm2) copper wires .
- This heater includes a visual alarm to warn that parts of the heater are getting excessively hot. If the alarm flashes, immediately turn the heater OFF and inspect for any objects on or adjacent to the heater that may have blocked the airflow or otherwise caused high temperatures to have occurred.
DO NOT OPERATE THE HEATER WITH THE ALARM FLASHING. To reset the heater, switch the CIRCUIT BREAKER OFF and wait five to ten minutes for the heater to cool down before turning the heater on again. - This appliance is not intended for use by persons (including children) with reduced physical, sensory, or mental capabilities, or lack of experience and knowledge, unless they have been given supervision or instruction regarding use of the appliance by a person responsible for their safety. Children should be supervised to ensure that they do not play with the appliance.
WARNING
RISK OF FIRE, DO NOT USE AS A RESIDENTIAL OR HOUSEHOLD HEATER.
PARTS OF THE HEATER


Parts List
A. Wall Mount Bracket
B. Tilt Adjustable Knob
C. Upper Housing
D. Front Exhaust Grill
E. Louver for air direction
F. Control Panel
G. Alarm LED
H. Power Indicator
I. Timer Indicator
J. Low Indicator
K. High Indicator
L. Internal/Wall Thermostat Switch
M. ON/OFF Switch

Parts List
N. Increase Temperature button
O. Decrease Temperature button
P. HIGH/LOW Heating Mode button
Q. Timer button
R. Power button
| Product Specification | |
| Model | 246726 |
| Length Inches | 19 |
| Width Inches | 14-11/16 |
| Height Inches | 12-1/2 |
| Wire Size For Installation | 8AWG |
| Net Weight Lbs | 23.9 |
| Construction | Cold Rolled Steel |
| Btu High | 25,597 |
| Cfm High | 400 |
| Outlet Air Temperature | 140°F @ Ambient Temp. 77°F |
| Voltage | 240V |
| Frequency | 60Hz |
| Amps | 31A |
| Watts | 7500/4700 |
| Kilowatts | 7.5/4.7 |
| Circuit Breaker Amp rating | 40A |
| Limited Warranty Years | 1 |
| Certification | UL, cUL |
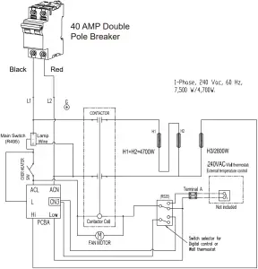
WIRING DIAGRAM

INSTALLING INSTRUCTIONS
WARNING
All wiring must be installed by a certified electrician according to the local electrical codes. The ceiling heater must be grounded in accordance with all national and local building codes.
WARNING
To reduce the risk of fire, do not store or use gasoline or other flammable vapors and liquids in the vicinity of the heater.
All Wiring procedures and connections shall be in accordance with the national and local codes having jurisdiction.
Prior to installation:
- Disconnect the main supply connection.
- Supply cables shall be 8 AWG (8.3 mm2) copper wires.
- The heater must be connected to individual branch circuit protected by 40 Amp circuit breaker only.
- Supply cables must be equipped with a dual pole circuit breaker rating at least 240V 40A/pole as main cutoff switch of power connection to the heater.
Tools/ Materials Needed (Not Included):
- Regular Screwdriver Set
- Spanner
- Impact Drill with 12mm Drill Bit
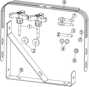
| CONTENTS | ||
| Part | Qty. | Description |
| 1 | 2 | Tilt adjustment knob |
| 2 | 2 | Rubber washer |
| 3 | 1 | Hex bolt M10 x 60mm L, zinc plated |
| 4 | 2 | Washer, 10mm, zinc plated |
| 5 | 1 | Spring washer |
| 6 | 1 | Nut |
| 7 | 2 | Expansion bolt |
| 8 | 1 | Wall hanger |
| 9 | 1 | Handle |

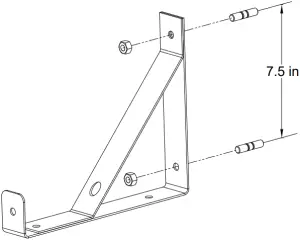
Wall Mounted Installation
1. This heater should be installed at least 8 feet (2.4 m) from the floor and no closer than 1 foot (0.3 m) from any adjacent surfaces or walls. This minimum distance must be maintained.
2. Keep at least 4.5 inches (0.12m) from the back wall, regardless of whether the wall mount bracket is used.
3. Mark the drill-hole positions in the wall or ceiling for the mounting bracket.
4. Drill the required holes with diameter fitted to the anchor provided for positioning the wall mount bracket.
5. Insert the anchors.
6. Attach the wall mount bracket to the wall or ceiling and secure with mounting screws.

WALL MOUNT CEILING MOUNT
7. Hook the unit to the wall mount bracket and let the unit hang from the bracket.
8. Insert the screw through the mounting bracket and the heater handle. Tighten the nut.

WALL MOUNT CEILING MOUNT
9. Loosen the screw to remove the wiring compartment/connection cover in the rear of the heater. There are three pigtail leads. Both Black (L1) and Red one (L2) are for power connection; Green is for grounding connection.

10. Run the electrical power supply cable in flexible conduit and connect to the wiring compartment via the knock-out at back side of the unit. The rectangle hole is watch window for wiring.
11. Make the connections properly with connectors which are suitable for the conductor size, including grounding wiring. And after making the connections, arrange the pigtail leads of unit and power supply wires in the wiring compartment.
12. You can use the inside or wall thermostat. If you use the inside thermostat, press the rocker switch to INSIDE THERMOSTAT.
13. How to install Wall Thermostat. (246110 Not Included.)
A. Install Thermostat Outlet Box to the wall. Open the knock-out on the right. Run line voltage wires to the thermostat location via the knock-out.

B. Press the rocker switch to WALL THERMOSTAT, insert two 16AWG wires (not included) to Terminal A inside the heater, make sure to tighten the screws in Terminal A.

C. Connect the other side of the two 16AWG wires to the wall THERMOSTAT as below image:

D. Insert wires into the Thermostat Outlet Box, and screw up the thermostat.


E. Cover the thermostat.

OPERATING INSTRUCTIONS
WARNING
The heater must be properly installed before it is used.
HAZARD OF ELECTRIC SHOCK, EXPLOSION, OR ARC FLASH :
- Apply appropriate personal protective equipment (PPE) and follow safe electrical work practices. See NFPA 70.
- A circuit breaker must be installed and serviced only by qualified electrical personnel.
- Always use a properly rated voltage sensing device to confirm power is off.
The switch on the heater is only for function selection. Use the circuit breaker as power ON/OFF device. The circuit breaker is to be installed by certified electrician and shall be located in line of sight from the heater location or shall be capable of being locked in open position. Follow the operating instruction to reduce the risk of fire, electric shock, injury or death.
How to select INSIDE/WALL thermostat
Identify the ON/OFF switch and the thermostat rocker switch located on the rear of the heater.
You can select Inside or Wall Thermostat to control the heater temperature by using ON/OFF and thermostat rocker switches.
CAUTION
Risk of malfunction & Damage: You must turn the ON/OFF switch to OFF before selecting INSIDE/WALL thermostat.
Selecting Inside Thermostat:
1. Turn the ON/OFF switch to OFF position, and then turn the thermostat rocker switch to INSIDE THERMOSTAT as indicated below:

2. Turn the ON/OFF switch to ON position again, the heater will work on the inside thermostat mode.
Selecting Wall Thermostat:
1. Turn the ON/OFF switch to OFF position, and then turn the thermostat rocker switch to WALL THERMOSTAT as indicated below:

2. Turn the ON/OFF switch to ON position, the heater will work on the wall thermostat mode.
CAUTION
Risk of malfunction & Damage: You can not change the INSIDE/WALL THERMOSTAT when the heater is running, you must turn the ON/OFF switch to OFF and then select the INSIDE/WALL thermostat mode.
Remote Control
Insert the batteries into the remote control as shown below:

NOTE: Remove the batteries if the remote control is not to be used for a month or more. Batteries left in the remote may leak and cause damage.
DO NOT MIX OLD AND NEW BATTERIES! DO NOT MIX ALKALINE, STANDARD (CARBON-ZINC) OR RECHARGEABLE (NICKEL-CADMIUM) BATTERIES!
Turning The Heater On
To turn the heater ON, switch on the circuit breaker, press the ON/OFF rocker switch to ON position, press the POWER button on the remote, the power indicator will turn on and display the room temperature.
Setting The Temperature (with the remote control)
Note: You need to select the thermostat to INSIDE THERMOSTAT and then set the desired temperature:
Press the + button until the numeric temperature starts flashing. Press button again to increase the temperature or the button to decrease the temperature.
The heater will run on heating when the room temperature is equal to or lower than the setting temperature – 2°F, and will turn off when the room temperature is equal to or greater than the setting temperature +2°F.
The factory setting temperature is 70°F, if the room temperature is lower or equal to 68°F, the heater will run out heating and will turn off when the room temperature is higher or equal to 72°F.
Note: If you set the thermostat switch to WALL THERMOSTAT, press the + and – button cannot set the temperature, the heater will run in ON or OFF heating according the wall thermostat setting temperature.
Setting HIGH/LOW Heating Mode
When the heater is running, press the MODE button to set the heater to run on HIGH or LOW heating.
HIGH heating: 7500W
LOW heating: 4700W
Note: You can not set the HIGH/LOW mode when the room temperature is equal to or greater than the set temperature +2°F, because the heater is OFF.
Setting The Timer (with the remote control)
- Press the TIMER button until Set Time starts flashing. The default value is 3 hours.
- Press the “+” button to increase the set time or the “-” button to decrease the set time. The timer can be set from 1 to 12 hours. The timer will set and execute after the LED display stops flashing. The heater will shut OFF automatically when the set time is reached.
- To turn the timer OFF, press the TIMER button, and then pressing the “-” button to set the time to 0. The timer feature will turn off when the LED stops flashing.
Turning The Heater Off
To turn off the heater, switch off the circuit breaker. The circuit breaker serves as the power source for the heater.
This heater includes a visual alarm to warn that parts of the heater are getting excessively hot. If the alarm flashes, immediately turn the heater OFF and inspect for any objects on or adjacent to the heater that may cause high temperatures. DO NOT OPERATE THE HEATER WITH THE ALARM FLASHING. To reset the heater, switch the circuit breaker OFF. Wait five to ten minutes for the heater to cool down before turning the heater on again.
MAINTENANCE AND CLEANING
No user maintenance on this heater should be undertaken except regular cleaning as described below. All other servicing or maintenance should be performed by qualified service personnel.
Before any cleaning, make sure that:
- Power supply is disconnected at the source. Switch off the circuit breaker.
- Wait 60 minutes to ensure the heating element has cooled down. Your heater is now ready for cleaning.
Regular Cleaning:
- Do not spray chemicals or other cleaning liquids on the heater.
- Interior dust can often be removed by using a vacuum cleaner with a crevice tool attachment.
- To clean enclosure, use a clean, soft, and lightly damp cloth to gently wipe off the dirt from the surface of the unit. Make sure the heating element and the switches do not get wet. Allow the unit to dry completely before use.
CAUTION
DO NOT ALLOW WATER TO RUN INTO THE INTERIOR OF THE HEATER AS THIS COULD CREATE A FIRE OR ELECTRIC SHOCK HAZARD, DAMAGING THE UNIT.
TROUBLESHOOTING
If your heater fails to operate, please follow these procedures:
This heater is intended to be a ceiling/wall-mounted heater. It has a thermal cut-off protection. If the thermal cut-off protection trips, switch off the power. Switch off the circuit breaker. The unit should reset automatically after 10 minutes. If the thermal cut-off protection trips again, consult a certified/licensed electrician to determine the reason for overheating.
| Problem | Probable Cause | Solution |
| Unit is not heating. | Overheat protection has temporarily deactivated the heater. | Turn the heater OFF. Switch off the circuit breaker. Wait 10-30 minutes before turning on the heater. |
| Room temperature is higher than the set temperature. | Increase thermostat setting to a higher temperature. | |
| Breaker/Fuse has been tripped. | Check your electrical box to confirm the breaker has not been blown. This may occur if the receptacle is shared with other high consumption appliances. | |
| The heater is producing a burning smell. | Check & ensure there are no combustible materials within 0.9 meters (3 feet) surrounding the heater. | Remove any combustible items from the vicinity of the heater. |
| A drop of oil fell on the heating coil during the manufacturing process. It will quickly evaporate and should not occur again. | Ensure room in which heater is situated is well ventilated. | |
| Ensure a minimum clearance of 1ft (12 inches) from both sides, and 4.5 inches from the back. | Reposition the heater so there is enough space between the heater and any adjacent surface/wall. |
PLEASE DO NOT ATTEMPT TO OPEN OR REPAIR THE HEATER YOURSELF. DOING SO COULD CAUSE DAMAGE TO THE HEATER OR PERSONAL INJURY.


















