
MEDICAL
USER MANUAL

AX-Z2 Dental Vibrator
AX-Z2 Dental Vibrator
Description:
The AX-Z2 vibrator is used for duplicating or pouring plaster and agar. It can remove bubbles in molds, make the fillings homogeneous and dense. It is a necessary equipment for dental technicians. This machine is a newly-designed vibrator with adjustable and limitless vibration amplitude.
Specifications:
| Power supply voltage | AC 220V / 110V 50HZ / 60 HZ±10% |
| Power | 100W |
| Maximum load | ≤2kg |
| Dimensions | 22×18×10cm³ |
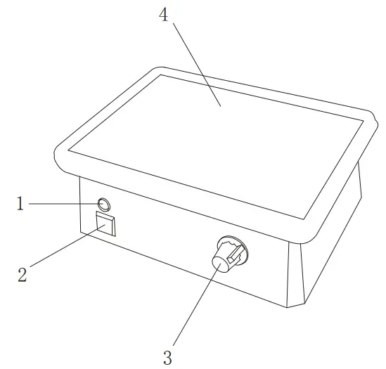
Diagram:

- Power indicator
- Power switch
- Vibration regulator
- Working platform
Instructions:
- Unpack the package, check if all the accessories are inside. Read this manual carefully before using.
- Check the working platform of the machine, make sure it is laid flat and the regulator is not loosened. Adjust the regulator to the minimum by turning it anti-clockwise.
- Connect the machine to a power supply, the power indicator is on. Turn on the power switch and the machine starts vibrating.
- Adjust the regulator to the required vibration amplitude.
- Put the mold on the platform and hold it with both hands, and the mold is ready to be filled.
After filling the mold, turn off the power. - The machine can work for four hours continuously.
Cautions:
- The storage temperature should be between -20 and 40℃, and the machine must be kept in a dry environment, the temperature must not be too high.
- Do not hit or crash the machine, do not expose the machine to water.
- If the machine does not work, check if the power supply is connected. If the power indicator is normal, open the black rubber cover and adjust the four screws in the front for the vibration amplitude.
Accessories:
| Manual | 1 |
| Power cord | 1 |
| Fuse tube (0.5A) | 2 |














