GUT114 Electric Concrete Vibrator
Instruction Manual
ELECTRIC CONCRETE VIBRATOR
GUT114 Electric Concrete Vibrator
WARNING:
Read carefully and understand all INSTRUCTIONS before operating. Failure to follow the safety rules and other basic safety precautions may result in serious personal injury. Save these instructions in a safe place and on hand so that they can be read when required. Keep these instructions to assist in future servicing.
TECHNICAL SPECIFICATIONS
| Motor | 110 Volt, 60 Hz, 1.0 HP (800 Watts) |
| Vibration Speed | 13,000 VPM (Vibrations per Minute) |
| Vibrator Head Dimension | 1-3/8” |
| Vibrator Head Length | 15-1/8” |
| Flexible Shaft Length | 4.9ft. with vibrator head |
| Power Switch | With Lock-on button |
GENERAL SAFETY RULES
![]()
Read all instructions Failure to follow the safety rules and other basic safety precautions may result in serious personal injury.
The term “power tool” in all of the warnings listed below refers to your line-operated (corded) power tool or battery-operated (cordless) power tool.
WORK AREA
- Keep your work area clean and light. Cluttered benches and dark areas can cause accidents.
- DO NOT operate power tools in explosive environment such as flammable liquids, gases, or dust. Power tools create sparks which may ignite the dust or fumes.
- Keep bystanders, children, and visitors away while operating a power tool. Distractions can cause you to lose control of power tools. Protect others in the work area from debris such as chips and sparks. Use personal safety protection or shields as needed.
ELECTRICAL SAFETY
- Power tool plugs must match the outlet. Never modify the plug in any way. DO NOT use any adapter plugs with earthed (grounded) power tools. Unmodified plugs and matching outlets will reduce risk of electric shock. Check with a qualified electrician if you are in doubt as to whether the outlet is properly grounded.If the tools have electrical failure or break down, grounding provides a low resistance path to carry electricity away from the user.
- Double insulated tools are equipped with a polarized plug (one blade is wider than the other). This plug will fit in a polarized outlet only one way. If the plug does not fit fully in the outlet, reverse the plug. If it still does not fit, contact a qualified electrician to install a polarized outlet. Do not change the plug in any way. Double insulation eliminates the need of three wires’ grounded power cord and grounded power supply system.
- Avoid body contact with grounded surfaces such as pipes, radiators, ranges, and refrigerators. There is an increased risk of electric shock if your body is grounded.
- DO NOT expose power tools to rain or wet conditions. Water entering power tool will increase the risk of electric shock.
- DO NOT abuse the Power Cord. Never use the Power Cord to carry the tools or pull the Plug from an outlet. Keep the Power Cord away from heat, oil, sharp edges, or moving parts. Replace damaged Power Cords immediately. Damaged Power Cords increase the risk of electric shock.
- When operating a power tool outside, use an outdoor extension cord marked “W-A” or “W”. These extension cords are rated for outdoor use, and reduce the risk of electric shock.
PERSONAL SAFETY
- Stay alert. Focus on what you are doing, and use common sense when operating a power tool. DO NOT use a power tool while tired or under the influence of drugs, alcohol, or medicine. Careless operating power tools may result in serious personal injury.
- Dress properly. DO NOT wear loose clothing or jewelry. Tie up long hair. Keep your hair, clothing, and gloves away from moving parts. Loose clothes, jewelry, or long hair may be entangled by moving parts.
- Avoid accidental starting. Be sure the Power Switch is off before plugging in. Carrying power tools with holding on the Power Switch, or plugging in power tools when Power Switch is on, can cause accidents.
- DO NOT over reach. Keep proper standing and balance at all times. Proper standing and balance enables better control of power tool in unexpected situations.
- Use safety equipment’s. Always wear eye protection. Dust mask, safety shoes, safety helmet, or ear protection must be used for appropriate conditions.
USE AND CARE
- DO NOT force the tool. use the correct tool for your application. The correct tool will make the job better and safer at the rate for which it is designed.
- DO NOT use the power tool if the Power Switch can not turn on or off properly. Any tool that cannot be controlled by Power Switch is dangerous and must be replaced.
- Disconnect the Power Cord Plug from the power source before making any adjustments, changing accessories, or storing the tool. Such preventive safety actions reduce the risk of starting the tool accidentally.
- Store idle tools out of reach of children and other untrained persons. Tools are dangerous when operated by untrained users.
- Maintain tools carefully. Do not use a damaged tool. Tag damaged tools “Do not use” until repaired.
- Check for misalignment or binding of moving parts, breakage of parts, and any other conditions that may affect the tool’s operation. If damaged, repaired tool before using. Many accidents are caused by poorly maintained tools.
- Use accessories that are only recommended by the manufacturer for your model. Accessories that is suitable for one tool may become hazardous when used in another tool.
SERVICE
- Tool service must be performed only by qualified repair personnel. Service or maintenance performed by unqualified personnel could result in a risk of injury.
- When servicing a tool, use only identical replacement parts. Use of unauthorized parts or failure to follow maintenance instructions may create a risk of electric shock or injury.
SPECIFIC SAFETY RULES
- Maintain labels and nameplates on the Concrete Vibrator. The important information is in it.
- Always wear safety eye goggles and heavy work gloves when using the Concrete Vibrator. Using personal safety equipment’s reduce the risk for injury.
- Maintain a safe working environment. Keep the work area light. Always keep the work area free of obstructions, grease, oil, trash, and other debris. Do not use a power tool in areas near flammable chemicals, dusts, and vapors. Do not use this product in a damp or wet situation.
- When using a hand-held power tool, always firmly hold the tool with both hands to resist starting torque.
- Always keep the electrical power cord away from moving parts on the tool.
- Avoid unintentional starting. Make sure you are prepared to begin working before turning on the Concrete Vibrator.
- DO NOT force the Concrete Vibrator. This tool will do the work better and safer at the speed and capacity for which it was designed.
- Never leave the Concrete Vibrator unattended when it is plugged into an electrical outlet. Turn off the tool, and unplug it from its electrical outlet before leaving.
- Always unplug the Concrete Vibrator from its electrical outlet before performing and inspection, maintenance, or cleaning procedures.
- Never carry the Concrete Vibrator by the Vibrating Head or Cable. Always carry it by the Handle, supporting the head and cable.
- Never take the Vibrator Head out of the concrete while it is running. Always turn off the unit before removing it from concrete, otherwise it will throw concrete all over the worksite.
- Keep water and concrete away from the Vibrator motor and do not allow it to enter the Vibrator Head assembly. This could cause electric shock to the operator and damage the motor and bearings.
- People with pacemakers should consult their physician(s) before use. Electromagnetic fields close to heart pacemaker could cause pacemaker interference or failure. In addition, people with pacemakers should:
•Avoid operating alone.
•Don’t use with power switch locked on.
•Properly maintain and inspect to avoid electric shock.
•Any power cord must be properly grounded. Ground Fault Circuit Interrupter(GFCI) should also be implemented – it prevents sustained electric shock.
VIBRATION HAZARD
This tool vibrates during use. Repeated or long-term expose to vibration may cause temporary or permanent physical injury, particularly to the hands, arms and shoulders. To reduce the risk of vibration-related injury:
- Anyone using vibrating tools regularly or for an extended period should firstly be examined by doctor, and also have regular medical check-ups, to ensure medical problems not be caused or worsened.
- Pregnant women or people who have impaired blood circulation to the hand, past hand injuries, nervous system disorders, diabetes, or Raynaud’s Disease should not use this tool. If you feel any uncomfortable symptoms related to vibration (such as tingling, numbness, and white or blue fingers), seek medical advice as soon as possible.
- DO NOT smoke during use. Nicotine reduces the blood supply to the hands and fingers, increasing the risk of vibration-related injury.
- Wear suitable gloves to reduce the vibration effects to the user.
- Use tools with the lowest vibration when there is a choice between different processes.
- Increase vibration-free rest time each day.
- Grip tool as lightly as possible (while still keeping safe control of it). Let the tool do the work by vibration.
- To reduce vibration, maintain the tool as explained in this manual. If any abnormal vibration occurs, stop working immediately.
UNPACKING
When unpacking, check all the parts shown on the Parts list are included. If any parts are missing or broken, please call service number shown in this manual as soon as possible.
ASSEMBLY INSTRUCTIONS
![]()
For additional information regarding the parts listed in the following pages, refer to the Assembly diagram.
![]()
Always make sure the Power Cord of the Concrete Vibrator is unplugged from its electrical outlet prior to making any adjustments to the tool.
To Assemble the unit, insert the Shaft Connector to the gear Box and turn it counter-clockwise till it locks into place. See Figure 1.
OPERATING INSTRUCTIONS
- Plug in the unit and carry it to where the cement is being poured. Never carry the Concrete Vibrator by holding Vibrating Head or Power Cord. Always carry it by the Handle, supporting the head and cable.
- Insert the Vibrator Head and Flexible Cable Assembly into the concrete.DO NOT allow water or wet concrete go into the motor and the electrical cord. This could cause electric shock to the operator and damage the motor.

- Turn the motor on by gently squeezing the Trigger. Strike the vibrator head against solid surface such as a concrete floor or pavement. This “shocking” of the head, will start the Head vibrating, and must be done every time when you use the unit.
- With the Trigger squeezed, move the Vibrator Head up and down in the concrete to remove all of the air bubbles. Next to the Trigger there is a lock button. If you want to lock the unit on, press the lock button while squeezed the Trigger. And then, the finger can release the Trigger. To disengage the lock button, pull the Trigger again. See FIGURE 1.

DO NOT allow water to enter the Vibrator Head assembly or it could damage the bearings inside. - When you are finished, turn of the unit by releasing the Trigger, and unplug the power cord from the outlet. Immediately washing the Vibrator Head and Flexible Cable with clean water. DO NOT allow water go into the Vibrator Motor while cleaning.
INSPECTION, MAINTENANCE, AND CLEANING![]()
Before performing any inspection, maintenance or cleaning procedures, MAKE SURE the Trigger is disengaged, and Power Cord is unplugged from electrical outlet .
- BEFORE EACH USE, inspect the general condition of the Concrete Vibrator. Check for loose screws, misalignment or binding of moving parts, cracked or broken parts, damaged electrical wiring, and any other condition that may affect its safe operation. If abnormal noise or vibration occurs, check the problem and solve it before further using. Do not use damaged equipment.
- Clean all components after each use. Remove all concrete residue.
- After more than 100 hours, the Vibrating Head Assembly and Flexible Shaft Assembly may require cleaning and lubrication. Also, the motor brushes may need cleaning or replacement. This should be done by a qualified technician.
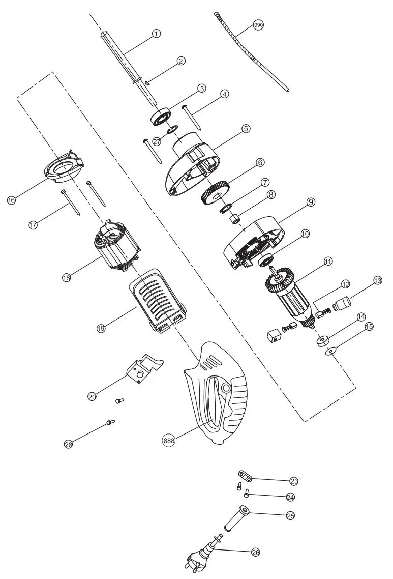
PARTS LIST – CONCRETE VIBRATOR MOTOR
| NO. | DESCRIPTION | NO. | DESCRIPTION |
| 1 | SPINDLE | 16 | WIND GUARD |
| 2 | KEY | 17 | SCREW |
| 3 | BEARING 6200RS | 18 | STATOR |
| 4 | SCREW | 19 | HOUSING |
| 5 | GEAR BOX | 20 | SWITCH |
| 6 | GEAR | 23 | CORD CLAMP |
| 7 | CIRCLIP | 24 | SCREW |
| 8 | STEEL BUSHING | 25 | CORD SLEEVE |
| 9 | MIDDLE COVER | 26 | POWER CORD |
| 10 | BEARING 6200RS | 28 | SCREW |
| 11 | ROTOR | 880 | HANDLE ASSEMBLE |
| 12 | CARBON BRUSH | 990 | VIBRATION ASSEMBLE |
| 13 | CARBON BRUSH HOLDER | ||
| 14 | BEARING 608Z | ||
| 15 | WASHER |
ASSEMBLY DIAGRAM – CONCRETE VIBRATOR MOTOR

PARTS LIST AND ASSEMBLY DIAGRAM – CONCRETE VIBRATOR HEAD
| NO. | DESCRIPTION |
| 1 | CAP HEAD |
| 2 | O-RING |
| 3 | CASE |
| 4 | ROTARY SHAFT |
| 5 | COUNTER OIL SEAL |
| 6 | OIL SEAL |
| 7 | BEARING |
| 8 | SHAFT JOINT |
| 9 | FLEXIBLE SHAFT |
| 10 | SHAFT JOINT |
| 11 | HEX SHAFT JOINT |
| 12 | FLEXIBLE HOSE |
| 13 | LOCKING NUT |

Great Circle USA
[email protected]
support line: 1-866-493-0524
www.greatcircleus.com













