makita VR001G/VR003G Cordless Concrete Vibrator 
SPECIFICATIONS
| Model: | VR001G | VR003G | |
| Vibrations per minute | Normal mode | 12,000 min-1 | |
| Power mode | 15,500 min-1 | ||
| Vibration head diameter | – * Supplied as optional accessories ø32 mm | ø32 mm | |
| Flexible shaft lengths (Country specific) | – * Supplied as optional accessories 1.2 m – 2.4 m | 1.2 m / 2.4 m | |
| Overall length (with battery BL4040) | 282 mm *1 | 1,495 mm *2 | |
| Rated voltage | D.C. 36 V – 40 V max | ||
| Net weight | 2.1 – 3.4 kg *1 | 4.8 – 6.1 kg *2 | |
- Due to our continuing program of research and development, the specifications herein are subject to change without notice.
- Specifications may differ from country to country.
- The weight may differ depending on the attachment(s), including the battery cartridge. The lightest and heavi-est combination, according to EPTA-Procedure 01/2014, are shown in the table.
Applicable battery cartridge and charger
| Battery cartridge | BL4020 / BL4025 / BL4040* / BL4050F* / BL4080F* * : Recommended battery |
| Charger | DC40RA / DC40RB / DC40RC |
Some of the battery cartridges and chargers listed above may not be available depending on your region of residence.
WARNING:
Only use the battery cartridges and chargers listed above. Use of any other battery cartridges and chargers may cause injury and/or fire.
Recommended cord connected power source
- The cord connected power source(s) listed above may not be available depending on your region of residence.
- Before using the cord connected power source, read instruction and cautionary markings on them.
Symbols
The followings show the symbols which may be used for the equipment. Be sure that you understand their meaning before use.
Only for EU countries
Due to the presence of hazardous com-ponents in the equipment, waste electrical and electronic equipment, accumulators and batteries may have a negative impact on the environment and human health. Do not dispose of electrical and electronic appliances or batteries with household waste!In accordance with the European Directive on waste electrical and electronic equipment and on accumulators and batteries and waste accumu-lators and batteries, as well as their adaptation to national law, waste electrical equipment, batter-ies and accumulators should be stored sepa-rately and delivered to a separate collection point for municipal waste, operating in accordance with the regulations on environmental protection. This is indicated by the symbol of the crossed-out wheeled bin placed on the equipment.
Intended use
The tool is intended for removing bubbles from concrete when casting concrete.
Noise
- The typical A-weighted noise level determined accord-ing to EN60745-2-12:
- Model VR001G
- Sound pressure level (LpA) : 80 dB(A)
- Uncertainty (K) : 3 dB(A)
- Model VR003G
- Sound pressure level (LpA) : 80 dB(A)
- Uncertainty (K) : 3 dB(A)
- The noise level under working may exceed 80 dB (A).
- NOTE:
The declared noise emission value(s) has been measured in accordance with a standard test method and may be used for comparing one tool with another.
NOTE:
The declared noise emission value(s) may also be used in a preliminary assessment of exposure. - WARNING:
Wear ear protection.
WARNING:
The noise emission during actual use of the power tool can differ from the declared value(s) depending on the ways in which the tool is used especially what kind of workpiece is processed.
WARNING:
Be sure to identify safety mea-sures to protect the operator that are based on an estimation of exposure in the actual conditions of use (taking account of all parts of the operating cycle such as the times when the tool is switched off and when it is running idle in addition to the trigger time).
Vibration
- The vibration total value (tri-axial vector sum) deter-mined according to EN60745-2-12:
- Model VR001G
- Work mode: load with flexible hose
- Vibration emission (ah) : 4.9 m/s2
- Uncertainty (K) : 1.5 m/s2
- Model VR003G
- Work mode: load with flexible hose
- Vibration emission (ah) : 4.9 m/s2
- Uncertainty (K) : 1.5 m/s2
- NOTE:
The declared vibration total value(s) has been measured in accordance with a standard test method and may be used for comparing one tool with another.
NOTE:
The declared vibration total value(s) may also be used in a preliminary assessment of exposure.WARNING: The vibration emission during actual use of the power tool can differ from the declared value(s) depending on the ways in which the tool is used especially what kind of workpiece is processed.
WARNING:
Be sure to identify safety mea-sures to protect the operator that are based on an estimation of exposure in the actual conditions of use (taking account of all parts of the operating cycle such as the times when the tool is switched off and when it is running idle in addition to the trigger time).
EC Declaration of Conformity
For European countries only
The EC declaration of conformity is included as Annex A to this instruction manual.
SAFETY WARNINGS
WARNING:
Read all safety warnings, instruc-tions, illustrations and specifications provided with this power tool. Failure to follow all instructions listed below may result in electric shock, fire and/or serious injury.
Save all warnings and instruc- tions for future reference.
The term “power tool” in the warnings refers to your mains-operated (corded) power tool or battery-operated (cordless) power tool.
Work area safety
- Keep work area clean and well lit. Cluttered or dark areas invite accidents.
- Do not operate power tools in explosive atmo-spheres, such as in the presence of flammable liquids, gases or dust. Power tools create sparks which may ignite the dust or fumes.
- Keep children and bystanders away while operating a power tool. Distractions can cause you to lose control.
Electrical safety
- Power tool plugs must match the outlet. Never modify the plug in any way. Do not use any adapter plugs with earthed (grounded) power tools. Unmodified plugs and matching outlets will reduce risk of electric shock.
- Avoid body contact with earthed or grounded surfaces, such as pipes, radiators, ranges and refrigerators. There is an increased risk of elec-tric shock if your body is earthed or grounded.
- Do not expose power tools to rain or wet con-ditions. Water entering a power tool will increase the risk of electric shock.
- Do not abuse the cord. Never use the cord for carrying, pulling or unplugging the power tool. Keep cord away from heat, oil, sharp edges or moving parts. Damaged or entangled cords increase the risk of electric shock.
- When operating a power tool outdoors, use an exten-sion cord suitable for outdoor use. Use of a cord suit-able for outdoor use reduces the risk of electric shock.
- If operating a power tool in a damp location is unavoid-able, use a residual current device (RCD) protected supply. Use of an RCD reduces the risk of electric shock.
- Power tools can produce electromagnetic fields (EMF) that are not harmful to the user. However, users of pacemakers and other similar medical devices should contact the maker of their device and/or doctor for advice before operating this power tool.
Personal safety
- Stay alert, watch what you are doing and use common sense when operating a power tool. Do not use a power tool while you are tired or under the influence of drugs, alcohol or med-ication. A moment of inattention while operating power tools may result in serious personal injury.
- Use personal protective equipment. Always wear eye protection. Protective equipment such as a dust mask, non-skid safety shoes, hard hat or hearing protection used for appropriate conditions will reduce personal injuries.
- Prevent unintentional starting. Ensure the switch is in the off-position before connecting to power source and/or battery pack, picking up or carrying the tool. Carrying power tools with your finger on the switch or energising power tools that have the switch on invites accidents.
- Remove any adjusting key or wrench before turning the power tool on. A wrench or a key left attached to a rotating part of the power tool may result in personal injury.
- Do not overreach. Keep proper footing and balance at all times. This enables better control of the power tool in unexpected situations.
- Dress properly. Do not wear loose clothing or jewellery. Keep your hair and clothing away from moving parts. Loose clothes, jewellery or long hair can be caught in moving parts.
- If devices are provided for the connection of dust extraction and collection facilities, ensure these are connected and properly used. Use of dust collection can reduce dust-related hazards.
- Do not let familiarity gained from frequent use of tools allow you to become complacent and ignore tool safety principles. A careless action can cause severe injury within a fraction of a second.
- Always wear protective goggles to protect your eyes from injury when using power tools. The goggles must comply with ANSI Z87.1 in the USA, EN 166 in Europe, or AS/NZS 1336 in Australia/New Zealand. In Australia/New Zealand, it is legally required to wear a face shield to protect your face, too.
Power tool use and care
- Do not force the power tool. Use the correct power tool for your application. The correct power tool will do the job better and safer at the rate for which it was designed.
- Do not use the power tool if the switch does not turn it on and off. Any power tool that cannot be controlled with the switch is dangerous and must be repaired.
- Disconnect the plug from the power source and/or remove the battery pack, if detachable, from the power tool before making any adjust-ments, changing accessories, or storing power tools. Such preventive safety measures reduce the risk of starting the power tool accidentally.
- Store idle power tools out of the reach of chil-dren and do not allow persons unfamiliar with the power tool or these instructions to operate the power tool. Power tools are dangerous in the hands of untrained users.
- Maintain power tools and accessories. Check for misalignment or binding of moving parts, breakage of parts and any other condition that may affect the power tool’s operation. If dam-aged, have the power tool repaired before use. Many accidents are caused by poorly maintained power tools.
- Keep cutting tools sharp and clean. Properly maintained cutting tools with sharp cutting edges are less likely to bind and are easier to control.
- Use the power tool, accessories and tool bits etc. in accordance with these instructions, tak-ing into account the working conditions and the work to be performed. Use of the power tool for operations different from those intended could result in a hazardous situation.
- Keep handles and grasping surfaces dry, clean and free from oil and grease. Slippery handles and grasping surfaces do not allow for safe handling and control of the tool in unexpected situations.
- When using the tool, do not wear cloth work gloves which may be entangled. The entangle-ment of cloth work gloves in the moving parts may result in personal injury.
Cordless concrete vibrator safety warnings
- Always keep your hands and face away from vibrating head when operating.
- Switch off the tool immediately if you notice abnormal noise or something faulty during operation.
- Inspect the tool carefully for breakage, cracks or deformation if you accidentally drop it or strike it against something.
- Do not carry the tool with finger on switch.
- Do not set the tool down and switch it on. The vibrating head may whip around out of control and cause an accident.
- Be careful not to allow water, wet concrete or the like to get into the tool. Do not let the tool fall into wet concrete.
- Insert the vibrating head carefully between iron/steel frames or reinforcing rods not to come in contact with them.
- Do not crush or twist the flexible hose.
- Do not overly bend the flexible hose.
- Use a wet cloth or the like to carefully wipe off any wet concrete left on the tool after use. Extra care should be given to thorough clean-ing of the vents, switch area, cover openings, etc.
- Do not use the tool in the rain. Do not clean the tool in water.
- After operating the tool, switch off the tool and wait until the vibration of the flexible shaft stops completely before putting down the tool.
- After operating the tool, do not touch the vibrating part as it may be extremely hot and could burn your skin.
- Do not operate the tool outside of concrete. The vibrating part is cooled down by inserting the vibrating part into concrete.
- If the power is cut off due to power failure or the disconnection of power plug, set the switch to the off position.
SAVE THESE INSTRUCTIONS
WARNING:
DO NOT let comfort or familiarity with product (gained from repeated use) replace strict adherence to safety rules for the subject product. MISUSE or failure to follow the safety rules stated in this instruction manual may cause serious personal injury.
Important safety instructions for battery cartridge
- Before using battery cartridge, read all instructions and cautionary markings on (1) battery charger, (2) battery, and (3) product using battery.
- Do not disassemble or tamper with the battery cartridge. It may result in a fire, excessive heat, or explosion.
- If operating time has become excessively shorter, stop operating immediately. It may result in a risk of overheating, possible burns and even an explosion.
- If electrolyte gets into your eyes, rinse them out with clear water and seek medical atten-tion right away. It may result in loss of your eyesight.
- Do not short the battery cartridge:
- Do not touch the terminals with any conductive material.
- Avoid storing battery cartridge in a con-tainer with other metal objects such as nails, coins, etc.
- Do not expose battery cartridge to water or rain. A battery short can cause a large current flow, overheating, possible burns and even a breakdown.
- Do not store and use the tool and battery car-tridge in locations where the temperature may reach or exceed 50 °C (122 °F).
- Do not incinerate the battery cartridge even if it is severely damaged or is completely worn out. The battery cartridge can explode in a fire.
- Do not nail, cut, crush, throw, drop the battery cartridge, or hit against a hard object to the battery cartridge. Such conduct may result in a fire, excessive heat, or explosion.
- Do not use a damaged battery.
- The contained lithium-ion batteries are subject to the Dangerous Goods Legislation requirements. For commercial transports e.g. by third parties, forwarding agents, special requirement on pack-aging and labeling must be observed.
- For the preparation of the item being shipped, consulting an expert for hazardous material is required. Please also observe possibly more detailed national regulations.
- Tape or mask off open contacts and pack up the battery in such a manner that it cannot move around in the packaging.
- When disposing the battery cartridge, remove it from the tool and dispose of it in a safe place. Follow your local regulations relating to disposal of battery.
- Use the batteries only with the products specified by Makita. Installing the batteries to non-compliant products may result in a fire, exces-sive heat, explosion, or leak of electrolyte.
- If the tool is not used for a long period of time, the battery must be removed from the tool.
- During and after use, the battery cartridge may take on heat which can cause burns or low-temperature burns. Pay attention to the han-dling of hot battery cartridges.
- Do not touch the terminal of the tool immediately after use as it may get hot enough to cause burns.
- Do not allow chips, dust, or soil stuck into the terminals, holes, and grooves of the battery cartridge. It may cause heating, catching fire, burst and malfunction of the tool or battery car-tridge, resulting in burns or personal injury.
- Unless the tool supports the use nearhigh-voltage electrical power lines, do not use the battery cartridge near high-voltage elec-trical power lines. It may result in a malfunction or breakdown of the tool or battery cartridge.
- Keep the battery away from children.
Tips for maintaining maximum battery life
- Charge the battery cartridge before completely discharged. Always stop tool operation and charge the battery cartridge when you notice less tool power.
- Never recharge a fully charged battery car-tridge. Overcharging shortens the battery service life.
- Charge the battery cartridge with room tem-perature at 10 °C – 40 °C (50 °F – 104 °F). Let a hot battery cartridge cool down before charging it.
- When not using the battery cartridge, remove it from the tool or the charger.
- Charge the battery cartridge if you do not use it for a long period (more than six months).
FUNCTIONAL DESCRIPTION
CAUTION:
Always be sure that the tool is switched off and the battery cartridge is removed before adjusting or checking the function on the tool.
Replacing battery case
Optional accessory
Install one of the battery cases optionally available in three ranges of sizes to fit your battery cartridge and a cord-connected power source.
- Battery case S (standard equipped battery case)
- Battery case L 3. Battery case H
- Open the standard-equipped battery case while pressing the buttons on sides of the case.
- Loosen the screws securing the standard equipped battery case, and slide the battery case off along the housing.

- Standard equipped battery case
- Screws
- Housing
- Slide an optional battery case into the tool. Open the case while pressing the buttons on sides of the case. Then tighten the screws to secure it in place.

- Optional battery case
- Screws
- Close the battery case securely.
Installing and removing battery cartridge
CAUTION:
Before installing and removing battery cartridge, always make sure to set the switch trigger back into the “OFF” position by pulling the switch trigger fully and releasing it.
CAUTION:
Hold the tool and the battery car-tridge firmly when installing or removing battery cartridge. Failure to hold the tool and the battery cartridge firmly may cause them to slip off your hands and result in damage to the tool and battery cartridge and a personal injury.
CAUTION:
Always install the battery cartridge fully until the red indicator cannot be seen. If not, it may accidentally fall out of the tool, causing injury to you or someone around you.
CAUTION:
Do not install the battery cartridge forcibly. If the cartridge does not slide in easily, it is not being inserted correctly.
CAUTION:
Take care not to trap your fingers between the battery case and its front cover while installing and removing battery cartridge.
Installation
- Open the battery case while pressing the buttons on sides of the battery case.

- Insert a battery cartridge in place aligning its tongue with the groove on the tool. If you can see the red indicator as shown in the figure, it is not locked completely.

- Close the battery case securely.
Uninstallation
- Open the battery case while pressing the buttons on sides of the battery case.
- Slide the battery cartridge off from the tool while pressing the button on front of the battery cartridge.
- Close the battery case securely.

Installation
Open the battery case while pressing the buttons on sides of the battery case.
- Insert a battery adapter in place aligning its tongue with the groove on the tool. If you can see the red indi-cator as shown in the figure, it is not locked completely.
- Open the rubber sealing grommet in the battery case. Make sure to squeeze the rubber sealing grommet out of the round hole rim from inside the front cover of the case.

Pass the adapter plug and plug cord through the round hole in the battery case.
Close the battery case securely.
Place the rubber sealing grommet back in place.
Uninstallation
- Open the battery case while pressing the buttons on sides of the battery case.
- Open the rubber sealing grommet in the battery case. Make sure to squeeze the rubber sealing grommet out of the round hole rim from inside the front cover of the case.

- Pull the adapter plug and plug cord out through the round hole in the battery case.
- Slide the battery adapter off from the tool while pressing the button on front of the battery adapter.
- Close the battery case securely.
Indicating the remaining battery capacity
Press the check button on the battery cartridge to indi-cate the remaining battery capacity. The indicator lamps light up for a few seconds.
NOTE:
Depending on the conditions of use and the ambient temperature, the indication may differ slightly from the actual capacity.
NOTE:
The first (far left) indicator lamp will blink when the battery protection system works.
Tool/battery protection system
The tool is equipped with a tool/battery protection sys-tem. This system automatically cuts off power to the motor to extend tool and battery life. The tool will auto-matically stop during operation if the tool or battery is placed under one of the following conditions:
Overload protection
When the tool or battery is operated in a manner that causes it to draw an abnormally high current, the tool stops automatically. In this situation, turn the tool off and stop the application that caused the tool to become overloaded. Then turn the tool on to restart.
NOTE:
If the tool does not restart smoothly, cease operation for a period longer than one minute, or remove the battery cartridge from the tool and place it back in the tool before a restart.
Overheat protection
When the tool or battery is overheated, the tool stops automatically. In this case, let the tool and battery cool before turning the tool on again.
Over-discharge protection
When the battery capacity is not enough, the tool stops automatically. In this case, remove the battery from the tool and charge the battery.
Protections against other causes
The protection system is also designed for other causes that could damage the tool and allows the tool to stop automatically. Take all the following steps to clear the causes, when the tool has been brought to a temporary halt or stop in operation.
- Turn the tool off, and then turn it on again to restart.
- Charge the battery(ies) or replace it/them with recharged battery(ies).
- Let the tool and battery(ies) cool down. If no improvement can be found by restoring protection system, then contact your local Makita Service Center.
Switch action
CAUTION:
Before installing the battery car-tridge into the tool, always make sure that the switch trigger actuates properly and returns to the “OFF” position by fully pulling and releasing it.
CAUTION:
Switch can be locked in “ON” posi-tion for ease of operator comfort during extended use. Apply caution when locking tool in “ON” position and maintain firm grasp on tool.
CAUTION:
Do not install the battery cartridge with the lock button engaged.
To prevent the switch trigger from accidentally pulled, the trigger-lock button is provided. To start the tool, depress the trigger-lock button from A ( ) side and pull the switch trigger. Release the switch trigger to stop. After use, depress the trigger-lock button from B ( ) side.
For continuous operation, depress the lock button while pulling the switch trigger, and then release the switch trigger. To stop the tool, pull the switch trigger fully, then release it.
Mode selector
The speed (frequency) of vibrations can be changed in two levels using the mode selector.
Press the mode button to toggle the vibrations in normal mode (1) and power mode (2). Either of the two indica-tors for the mode you select lights up.
Normal mode indicator (1) 2. Power mode indica-tor (2) 3. Mode button
NOTE:
The mode you select will be saved automat-ically when the tool is powered off. The tool restarts in the same mode as it previously used when turned on again.
NOTE:
When the battery protection system works, the mode indicators turn off.
NOTE:
When the remaining battery capacity becomes low, either of the two indicators for the mode you are currently using will blink. The timing, at which the lamp starts blinking depends on the temperature at work place and the battery cartridge conditions.
Accidental restart preventive function
If you install the battery cartridge while pulling the switch trigger, the tool does not start.To start the tool, release the switch trigger, and then pull the switch trigger again. When the lock button is engaged, pull the switch trigger fully and release it to exit the lock. Then pull the switch trigger again.
Electronic function
The tool is equipped with the following electronic func-tion for easy operation.
Constant speed control
Possible to perform a stable operation, because the speed (frequency) of vibrations is kept constant even under the loaded condition.
ASSEMBLY
CAUTION:
Always be sure that the tool is switched off and the battery cartridge is removed before carrying out any work on the tool.
Installation
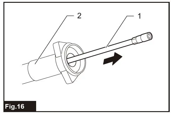
- Pull the flexible core shaft reasonably straight out of the outer casing.

- Hold the drive shaft in the tool still using the wrench provided. Then hand thread the end fitting of the flexible core shaft onto the solid drive shaft in the tool.

- Fasten the end fitting of the flexible core shaft up tightly using a pair of pliers.

- Hand thread the coupling of the outer casing onto the male thread of the tool.

- If the coupling does not reach or fit securely onto the male thread of the tool, especially when installing a long flexible shaft, pull the outer casing further towards the tool while hand-turning the flexible core shaft so the shaft top well fits into the shaft slot in the vibration head and becomes fully engaged.

- Knock each of the three corners of triangular coupling with a hammer a few times in random order to secure assembly.
Uninstallation
Follow the installation steps in reverse order.
WARNING:
Always remove the shoulder strap from the tool while wearing portable power packs. Wearing multiple harnesses and straps may impair the chances to take the equipment off quickly in a case of emergency and result in personal injury.
WARNING:
Do not use the parts for attaching the shoulder strap for other purposes, such as the fall prevention at high location. If the parts for attaching the shoulder strap are used for other purposes, excessive load may break them and cause serious injury to the operator and person around/underneath the operator.
CAUTION:
Be sure to attach the hooks of the shoulder strap to the tool securely. If the hooks are attached incompletely, they may come off and cause injury.
CAUTION:
Be sure to use the shoulder strap dedicated to this tool. Using another shoulder strap may cause an injury.Hang the hooks of the shoulder strap over the hanging holes on top of the tool.
OPERATION
CAUTION:
Put the shoulder strap on the shoulder, and hold the tool firmly with both hands.
NOTICE:
At the very beginning of operation, the flexible shaft tends to vibrate at a higher ampli-tude. The tool will restore the normal amplitude after you squeeze and release the switch trigger a few times repeatedly.Make sure to throw in and keep the vibration head stand straight during operation. Use the tool within the effective vibration ranges at equidistant intervals. The effective air bubble removal range is approximately ten times the diameter of vibration head.

NOTICE:
Do not use the tool to move concrete in the formwork. The mortar will just move away and the coarse aggregate will remain, causing segregation.
Effective leveling and removal of air bubbles
Removal of the air bubbles is complete after you have worked the tool throughout each effective range, the concrete stops shrinking, and the mortar has risen evenly to the surface, giving off a light appearance. Gently remove the operating tool not to leave holes. When using the tool on slope, always operate it from the bottom at the beginning. If you operate the tool from the top, the mortar will separate and eventually slide to the bottom.
MAINTENANCE
CAUTION:
Always be sure that the tool is switched off and the battery cartridge is removed before attempting to perform inspection or maintenance.
NOTICE:
Never use gasoline, benzine, thinner, alcohol or the like. Discoloration, deformation or cracks may result.
NOTICE:
Avoid cleaning the tool in water. Water will get into the motor housing and cause motor failure.
NOTICE:
Use a wet cloth or the like to carefully wipe off any wet concrete left on the tool after use. Extra care should be given to thorough cleaning of the vents, switch area, cover open-ings, etc. To maintain product SAFETY and RELIABILITY, repairs, any other maintenance or adjustment should be performed by Makita Authorized or Factory Service Centers, always using Makita replacement parts.
OPTIONAL ACCESSORIES
CAUTION:
These accessories or attachments are recommended for use with your Makita tool specified in this manual. The use of any other accessories or attachments might present a risk of injury to persons. Only use accessory or attachment for its stated purpose.If you need any assistance for more details regard-ing these accessories, ask your local Makita Service Center.
- ø32 mm x 1.2 m flexible shaft
- ø32 mm x 1.7 m flexible shaft
- ø32 mm x 2.4 m flexible shaft
- Battery case L
- Battery case H
- Shoulder strap
- Makita genuine battery and charger
NOTE:
Some items in the list may be included in the tool package as standard accessories. They may differ from country to country.
























