Arc – One Way, Wall Light
Model: LSO2202
Installation Instructions
LSO2202 One Way Wall Light
All installations must be carried out by a qualified electrician following local regulations. Make sure that the power is switched off before installation. Please read and follow the ‘Installation instructions’ and ‘Safety instructions’ sections carefully before commencing installation. Installation of this model can change from time to time please read the instructions every time before installation. For detailed specifications, please go to our website eurotechlighting.co.nz
| Code: | Colour: | Dimensions (mm): | Double Insulated: | IP Rating: | Kelvins: | Lumens: | Material: | Voltage: | Wattage: |
| LSO2202CCT | Black & White cover | 220L x 113W x 51D | Yes | IP65 | CCT= 3000K / 4000K / 6000K | 340lm / 370lm / 360lm | UV resistant, anti-corrosion. ABS + PC body & diffuser | 230V | 6W |
Product Information

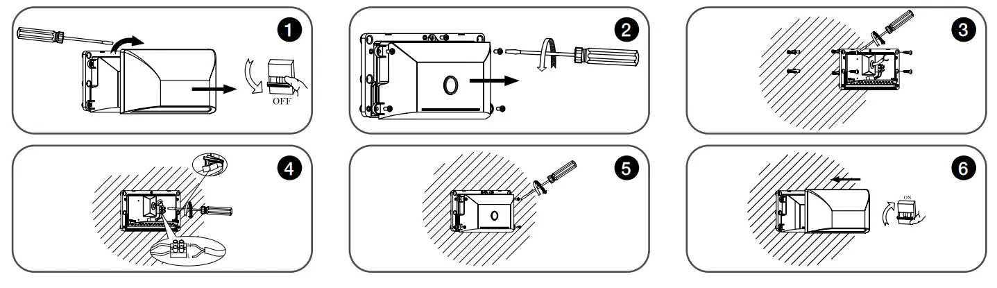
Installation Instructions
- Make sure the power is turned off. Pop the front covers off the fitting.
- Unscrew IP65 sheild.
- Gently knock the provided plastic expansion tubes into the pre-drilled holes, ensuring the plastic tubes are flush with the mounting surface. Run the cable through the rubber seal. Fix the backplate to the wall.
- Connect cables paying attention to live + neutral markings.
Blue = Negative
Brown = Positive
Use the switch at the back of the fitting to chnage the color temperature. - Screw IP65 sheild to backplate ensuring a tight seal is made.
- Ensure installation is correct before switching on the fitting to test. Once correct, fit the provided front cover.

Saftey Instructions
Read these instructions carefully before commencing installation.
- The light source contained in this luminaire shall only be replaced by the manufacturer or this service agent or a similar qualified person.
- This LED luminaire must be installed by a licensed electrician ONLY following all local regulations.
- Ensure that the cables will not be squeezed or damaged by sharp edges.
- Clean the light with a soft cloth and a standard PH-neutral detergent.
- Misuse of/or changes to the appliance shall void all warranties.
- Do not install on a surface that is not suitable or deformed.
- Do not install on or above a surface with a high temperature.
- There should not be any materials that are corrosive, explosive.
For detailed specification, please go to our website eurotechlighting.co.nz

















