Michaela Small Elongated Chandelier
Item # RL 5771
ASSEMBLY INSTRUCTIONS
RALPH LAUREN
NOTICE: This light fixture should be installed in accordance with all applicable, local installation codes, and by a person familiar with the construction and operation of it, as well as the hazards involved. Inspect item and contents carefully. If any damage or defect is found, do not install it. Retain all packaging material until installation is complete and approved.
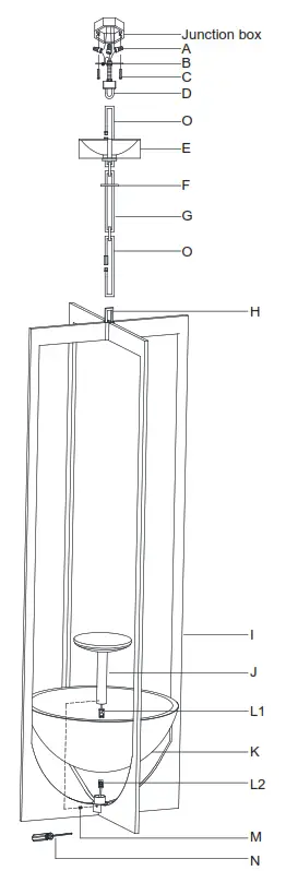
- Carefully remove all parts from the box.
- Place the fixture (I) on a clear flat surface, then install the alabaster shade (K) in the center of the frame.
- Connect the quick connector (L1 & L2) together, then put the stem of LED module (J) to the bottom of the fixture frame (I) and secure with the set screw (M) by using the screwdriver (N).
- Install the mounting plate (B) and collar loop (D) to the junction box with mounting screws (C) provided. Using a wrench (not provided) secure the mounting plate (B) and collar loop (D) to the threaded nipple using provided hex nuts.
- Install the canopy (E) to collar loop (D) and secure with collar ring (F). If needed, adjust canopy (E) height by loosening hex nuts and screwing collar loop (D) up or down then re-secure.
- With the fixture desired height, shorten the chain (G) as needed using a pair of chain pliers (not included).
- Open the chain quick link (O), then attach the chain quick link (O) to the collar loop (D). Secure the chain quick link (O).
- Open the chain quick link (O) from the opposite side then attach to the fixture loop (H). Secure the chain quick link (O).
- Weave the fixture wires through the chain (G).
- When you reach the canopy and collar loop (D), measure the wires then cut, be certain to leave enough to connect inside of the junction box.
- Strip the insulation on the fixture wires about 5/8″.
- Loosen the collar ring (F) and let the canopy (E) slip down the chain (G) carefully.
- Twist the fixture wires together and push through the center hole of the collar loop (D).
- Wrap the fixture ground wire to the green ground screw on the mounting plate (B) and secure it, then connect to the ground wire in the junction box using the wire nut (A). IT IS IMPERATIVE THAT THIS FIXTURE BE GROUNDED.
- Connect the fixture ribbed wire (no markings) to the neutral wire in the junction box using the wire nut (A).
- Connect the fixture smooth wire (with markings) to the hot wire in the junction box using the wire nut (A).
DO NOT REVERSE THE HOT AND NEUTRAL CONNECTIONS OTHERWISE SAFETY WILL BE COMPROMISED. - Carefully tuck the wire connections into the junction box.
- Install the canopy (E) to the junction box and secure it with the collar ring (F).
- Installation is complete, turn on the power at the fuse or circuit breaker.
Care Instructions: Clean only with a soft dry cloth or feather duster. Do not use abrasive or chemical agents.














