
PLATINUM SMART-HEAT ™ ELECTRIC
HEATER SERIES II (MARINE – IPX5)
BY BROMIC

CEILING RECESS INSTALLATION
INSTRUCTIONS (MARINE – IPX5)
FOR MODEL 2300 W / 3400W
2300 W Ceiling Recess
WARNING
Joists, beams and rafters shall not be cut or notched to install the heater.
WARNING
Instructions below are suitable for ceiling surfaces 10-30mm (0.39”-1.2”) thick. For ceiling surfaces thicker than 30mm (1.2”), contact Bromic for alternative installation options.
WARNING
The heater shall, under no circumstance, be covered with insulating material or similar material.
WARNING
Minimum vertical ceiling space clearance between the heater frame and ceiling surface must be 250mm (9.8”). Minimum horizontal ceiling space clearance measured from each edge of ceiling cut out must be 500mm (19.7”). Minimum distance between heaters measured from edge of ceiling cut out must be 500mm (19.7”).
WARNING
In ceiling recess installation, the heater must be completely protected against water contact from above.
WARNING
MINIMUM DISTANCE BETWEEN HEATERS MEASURED FROM EDGE OF HEATER MUST BE AT LEAST 500mm (19.7″)
Note: Additional clearance maybe be required for glass, painted surfaces or other materials which may be damaged by radiant or convection heat. It is the installers responsibility to ensure that adjacent materials are not subject to degradation.
WARNING – Outdoor Installation
It is important that regular maintenance is carried out on the heater to maintain appearance.
INSPECT AND CLEAN AT LEAST EVERY MONTH FOR THE BODY AND STRUCTURE.
INSPECT AND CLEAN MORE FREQUENTLY IN ADVERSE CONDITIONS SUCH AS COASTAL ENVIRONMENT OR MARINE CRAFT.
In a salt-air environment, such as near an ocean, corrosion occurs more quickly than normal.
Stainless 316 has been used in the Marine configuration.
Remove salt spray from the heater immediately to prolong heater life.
Use a qualified technician to check monthly for corroded areas and remove from service when heater safety is compromised.
HEATING INSTALLATION INSTRUCTIONS
[ COMMERICAL & RESIDENTIAL INSTALLATION ]
CEILING RECESS INSTALLATION
- Instructions for land and coastal installations ONLY
WARNING
Instructions below are suitable for ceiling surfaces 10-30mm (0.4-1.2”) thick. For ceiling surfaces thicker than 30mm (1.2”), contact Bromic for alternative installation options.
WARNING
The heater shall, under no circumstance, be covered with insulating material or similar material.
WARNING
Individual clearances to combustibles are fixed minimums to each individual option and cannot be combined between Option 1 and Option 2
WARNING
In ceiling recess installaion, the heater must be completely protected against water contact from above.
WARNING
Joists, beams and rafters shall not be cut or notched to install the heater.
WARNING
MINIMUM DISTANCE BETWEEN HEATERS MEASURED FROM EDGE OF HEATER MUST BE AT LEAST 500mm (20”)
CLEARANCE TO COMBUSTIBLES OPTION 1

CLEARANCE TO COMBUSTIBLES OPTION 2

IMPORTANT
THE FOLLOWING INSTRUCTIONS ARE FOR LAND AND COASTAL ENVIRONMENT APPLICATION ONLY
- Prepare ceiling cut-out with dimensions from images on P.11 to fit ceiling recess frame (a). Heater must be installed with heater surface at least 2400mm (94”) above the floor level, with 500mm (20”) clearance to the nearest wall on all sides of the heater. Minimum distances to combustibles within cavity must be according to only one of the two options shown.

- From below, bring ceiling frame up and into ceiling cutout.
Fasten ceiling frame into cut-out at both ends and centre using appropriate screws (b). Which locator hole to use is dictated by the thickness of the ceiling surface. The fastening screws must be inserted into a strong material that can easily support the weight of the heater. Your installation may require re-enforcing before the frame can be safely installed.
- Unscrew and remove plug-in wall bracket. Attach extra supplied cable gland into the same hole from the outside of the bracket. Fasten in place with metal cable gland nut from inside the bracket (c).

- Feed heater power cable through cable gland from inside of wall bracket (d).
- Ensure M6x14mm screws are inserted into either side of heater bracket with 6mm (0.3”) of the threaded shaft exposed under the screw head. (e).
- Insert heater bracket into mounting bracket by hooking M6 screws into place in mounting slots (f).

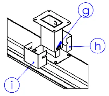
- Fix heater to bracket in straight position using M4x10mm positioning screws on either side of mounting bracket (g).
Ensure M6 screws are sitting fully in the mounting slots (as if the heater were hanging from the wall bracket). - Fit the smaller, straight cover over the heater bracket so that the slots pass over the shafts of the M6x14mm mounting screws (h). Fit the larger cover over the smaller cover in the same way from the opposite side of the bracket (i).
- Tighten mounting screws firmly, ensuring covers fit snugly against the bracket on all sides (j).
- Firmly tighten cable gland in wall bracket so that cable does not move when pulled.

- Attach the bracket end-cap to the wall bracket using the 4 M5 screws and nuts provided (k).
- Carefully remove the 4 M5 screws fastening the heater mounting bracket to the back of the heater. Be careful not to move or put any force on the bracket. Place the 2 halves of the ceiling recess mounting plate over the screw holes. Re-insert the screws & tighten firmly. (l)

- Make electrical connection from heater to power supply.
- Raise one long side of heater up into ceiling frame cavity & then raise whole heater into cavity. (m)
- Rotate the heater into level position in the ceiling cavity. (n) and then lower down onto the ceiling frame . Ensure the heater brackets are hooked over the ceiling frame and sitting in the slots on both sides. (o)

IMPORTANT
Application for marine vessel installations ONLY.
CEILING RECESS INSTALLATION
- Heaters must be installed according to the minimum installation clearances shown in these diagrams.
- Due to vessel movement, the heaters must be fixed to vessel structure.
- The stated clearance to combustible materials represents surface temperature of 65°C (149°F) above room temperature. Building material with a low heat tolerance (such as plastic, vinyl siding, canvas, tri-ply etc.) may subject to degradation at lower temperature. It is the installer’s responsibility to assure that adjacent materials are protected.
WARNING
Individual clearances to combustibles are fixed minimums to each individual option and cannot be combined between Option 1 and Option 2
WARNING
The heater shall, under no circumstance, be covered with insulating material or similar material.
WARNING
In ceiling recess installation, the heater must be completely protected against water contact from above.
WARNING
Instructions below are suitable for ceiling surfaces 10-30mm (0.39″-1.2″) thick. For ceiling surfaces thicker than 30mm, contact Bromic for alternative installation options.
WARNING
Joists, beams and rafters shall not be cut or notched to install the heater.
CLEARANCE TO COMBUSTIBLES OPTION 1

CLEARANCE TO COMBUSTIBLES OPTION 2

HEATING INSTALLATION INSTRUCTIONS [ MARINE CRAFT ]
WARNING – Outdoor Installation
This heater MUST be permanently installed by an authorised/licenced person. Do not perform maintenance, or carry out installation or assembly procedure while electrical power is switched on. Wait 2 hours after switching off the heater before handling.
WARNING – Outdoor Installation
It is important that regular maintenance is carried out on the heater to maintain appearance.
INSPECT AND CLEAN AT LEAST EVERY MONTH FOR THE BODY AND STRUCTURE.
INSPECT AND CLEAN MORE FREQUENTLY IN ADVERSE CONDITIONS SUCH AS COASTAL ENVIRONMENT OR MARINE CRAFT.
In a salt-air environment, such as near an ocean, corrosion occurs more quickly than normal. Stainless 316 has been used in the Marine configuration.
Remove salt spray from the heater immediately to prolong heater life.
Use a qualified technician to check monthly for corroded areas and remove from service when heater safety is compromised.
WARNING
MINIMUM DISTANCE BETWEEN HEATERS MEASURED FROM EDGE OF
HEATER MUST BE AT LEAST 500mm (19.7″)
Note: Additional clearance maybe be required for glass, painted surfaces or other materials which may be damaged by radiant or convection heat. It is the installers responsibility to ensure that adjacent materials are not subject to degradation.
IMPORTANT
BRACKET MUST BE FIXED TO VESSEL STRUCTURE.
MOUNTING PLATES (AS SEEN IN IMAGE 1) ARE NOT TO BE USED IN MARINE CRAFT INSTALLATIONS.
- Prepare ceiling cut-out with dimensions from images on P.6 to fit ceiling recess frame (a). Heater must be installed with heater surface at least 2400mm (94″) above the floor level, with 500mm (19.7″) clearance to the nearest wall on all sides of the heater. Minimum distances to combustibles within cavity must be according to only one of the two options shown.

- From below, bring ceiling frame up and into ceiling cutout.
Fasten ceiling frame into cut-out at both ends and centre using appropriate screws (b). Which locator hole to use is dictated by the thickness of the ceiling surface. The fastening screws must be inserted into a strong material that can easily support the weight of ceiling recess. Your installation may require re-enforcing before the frame can be safely installed.
- Unscrew and remove plug-in wall bracket. Attach extra supplied cable gland into the same hole from the outside of the bracket. Fasten in place with metal cable gland nut from inside the bracket (c).

- Feed heater power cable through cable gland from inside of wall bracket (d).
- Ensure M6x14mm screws and spring washer are inserted into either side of heater bracket with 6mm (0.3″) of the threaded shaft exposed under the screw head. (e).
- Insert heater bracket into mounting bracket by hooking M6 screws into place in mounting slots (f).
- Fix heater to bracket in straight position using M4x10mm positioning screws on either side of mounting bracket (g). Ensure M6 screws are sitting fully in the mounting slots (as if the heater were hanging from the wall bracket).

- Fit the smaller, straight cover over the heater bracket so that the slots pass over the shafts of the M6x14mm mounting screws (h). Apply thread locker on M6 screws and washer. (recommendation Loxeal 86-72). Fit the larger cover over the smaller cover in the same way from the opposite side of the bracket (i).
- Tighten mounting screws firmly, ensuring covers fit snugly against the bracket on all sides (j).

- Firmly tighten cable gland in wall bracket so that cable does not move when pulled.



























