
WLS552
LOG SPLITTER


USER MANUAL
WLS552 – LOG SPLITTER
1. Introduction
To all residents of the European Union
Important environmental information about this product
This symbol on the device or the package indicates that disposal of the device after its lifecycle could harm the environment. Do not dispose of the unit (or batteries) as unsorted municipal waste; it should be taken to a specialized company for recycling. This device should be returned to your distributor or to a local recycling service. Respect the local environmental rules.
If in doubt, contact your local waste disposal authorities.
Thank you for choosing Perel! Please read the manual thoroughly before bringing this device into service. If the device was damaged in transit, don’t install or use it and contact your dealer.
The WLS522 is a portable and lightweight log splitter featuring a powerful 30mm hydraulic ram delivering power up to 5 tonnes. The electric-powered hydraulic system avoids the expense and hassle of maintaining a small fuel engine.
2. General Safety Rules
- Damage caused by disregard of certain guidelines in this manual is not covered by the warranty and the dealer will not accept responsibility for any ensuing defects or problems.
- Never use the log splitter under the influence of alcohol, drugs, medicines or when tired. A clear mind is essential for safety.
- Never wear loose, unbuttoned clothing which may become trapped into moving parts.
- Never stand on the log splitter.
- Never operate the log splitter without supervision. Switch off the power and make sure the log splitter has stopped completely before leaving.
- Make sure the power cable is fully protected from the log splitter.
- Keep your hands at a safe distance when handling the log. Never put your hands between the pusher and the wedge.
- Do not load the log in the log splitter while the ram is in motion.
- Keep fingers and hands away from half-split logs. These logs may suddenly close and trap fingers.
- Always set the log on the guides and never force the blade.
- Do not use the log splitter in the vicinity of flammable vapours and substances.
- Make sure that the available voltage does not exceed the voltage stated in the specifications of this manual.
- Hydraulic system:
Never operate the log splitter if there is hazard present in the hydraulic system. Before using the log splitter check for hydraulic leaks. Make sure the log splitter and your work area are clean and free of oil spills. Hydraulic fluid may cause slipping or fire hazards. - Electrical safety:
Never operate the log splitter if there is an electrical hazard. Do not operate this log splitter in wet conditions, with an improper electrical cable or extension cable. This log splitter must be connected to a properly grounded mains outlet with 16A circuit breaker only. - Physical hazards:
Log splitting may create special physical hazards. Never operate this log splitter unless you are wearing proper gloves, hard-toed shoes and approved eye protection. Make sure the splinters do not jam the log splitter. Never load the log splitter with logs which are too small or too large to fit the log retention brackets. Do not load logs containing nails, wire or other debris. Clean up as you work: accumulated split wood and wood chips can create a hazardous work environment. Do not work in a cluttered work area. Keep bystanders, children and unauthorised away from the log splitter. - Do not try and repair the log splitter yourself if lacking technical skills but leave service to a qualified technician.
- Check the log splitter, the oil level, and the protection boards before every operation. Do not operate the log splitter if any of these fail.
- Start the log splitter at zero-load and make sure that the log splitter is in perfect working order before loading it.
- Never load two logs at a time or logs larger than the authorized size (see below). Remove all branches and make sure the log does not contain nails and other debris. Do not load a log vertically onto the log splitter. The log should be split along the direction of the vein. Never handle a log loaded onto the log splitter.
- Never overload or overcharge the log splitter. The log splitter may experience difficulties splitting extreme hard woods. If this is the case, do not force the log splitter for more than 5 seconds.
- Never open or tamper with the log splitter or electric motor. Contact a qualified technician if the log splitter needs servicing.
- Keep the power cable away from water and humidity at any time. Do not crimp the power cord and protect it against damage. Have an authorised dealer replace it if necessary.
Read this manual before operating the log splitter.

Disconnect from mains before starting maintenance operation.

Wear safety footwear at all times.

Always wear protective gloves.

Wear protective goggles.

Do not remove or tamper with the safety devices on the log splitter.

No person or animal may be present within a radius of 5 meters from the log splitter apart from the operator.

Do not dump used oil in the environment. Dispose according to the local legislation.

Cutting or crushing danger: never touch hazardous areas while log pusher is moving.

Always pay attention to the movement of the log pusher.

Never remove a log trapped in the wedge with bare hands.

Voltage as indicated on the rating plate.
Recommended Log Size
The specified sizes are for reference only and depend highly on the wood density and structure. The log splitter may accept larger logs of softer wood. It is important to remember that you may not force the log splitter as oil may overheat and cause damage to the log splitter.

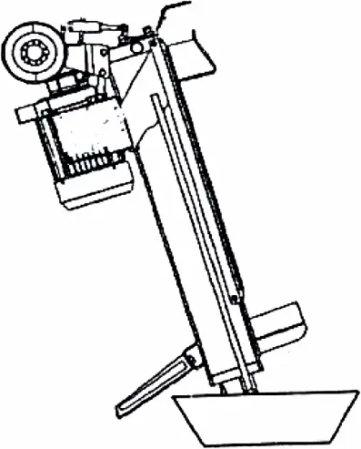
3. Description

- splitting wedge
- main body and oil tank
- support
- electric engine
- starter push button
- hydraulic control lever
- log pusher
- log retention brackets
4. Operation
Work Environment
Plan your work site. Work safely and save effort by preparing your logs by positioning them where they can be reached easily. Have a nearby location where you can stack the split logs. Prepare your logs before loading them onto the log splitter. The log splitter accommodates logs with a diameter of up to 52cm. Do not cut sections exceeding the specified length. Note that dry and seasoned logs will split more easily and will not jam as frequently as green and moist wood.
Route the power cable and/or extension cable away from the log splitter and position in such way that you can not trip. Make sure to lead the power cord and/or extension cable away from puddles.
Position the log splitter securely on a solid and level platform. We recommend not installing the log splitter onto the ground so as to avoid injury caused by splinters. Block the wheel with wedges if necessary.

Preparation
Open the air bleed (A). Loosen the bleed screws by 3 ~ 4 turns whenever the log splitter is being used. Retighten after having used the log splitter.

Place a log onto the log splitter lengthwise and lying flat on the main body. Make sure the log lies securely between the retention brackets and that the wedge (1) and log pusher (7) make good contact with the log. Never split the log at an angle.

Splitting a Log
Hold the start/stop button (5) pressed and wait for the log splitter to build up pressure in the hydraulic pump. Depress the hydraulic control lever (6) – the log pusher (7) will compress the log pushing it against the wedge (1). Once the log is split release the start/stop button (5) and the hydraulic control lever (6). This will allow the log pusher (7) to retract. If the log does not split immediately, do not force more than 5 seconds and try repositioning the log.
Stack the logs as you progress. Retighten the bleed screw (A) when you are finished.
How to Free a Jammed Log
Release both controls so that the log pusher (7) will fully retract. Insert a triangular wedge under the jammed log and activate the log pusher (7) to push the wedge under the log. Repeat this process using larger wedges until the jammed log is freed.

Sharpen the wedge (1) using a fine-toothed file. Carefully remove any burrs or flat spots.
Oil Changing
Recommended oils: L-HM 68, N 68 or equivalent.
Make sure the log pusher (7) has fully retracted and that the log splitter has been disconnected from the mains. Unscrew the dipstick and remove it together with the seal ring. Position a container (capacity of at least 4 litres) under the log splitter and tilt the log splitter to empty the oil into the container.

Tilt the log splitter with the drain port upwards. Use a clean funnel and pour the oil carefully into the tank respecting the quantities.

Clean the dipstick and insert it into the tank. Check the oil level if necessary. Make sure the oil level is between the two marks on the dipstick.

Re-install the seal. Be careful not to damage the threads of the aluminium oil tank cover. Dispose of the oil according to the local regulations.
Transporting the Log Splitter
Unplug the log splitter from the mains and let it cool down. Move the log splitter using the handle. If it has to be transported over long distances, make sure to install the log splitter on a flat and non-slippery surface. Fasten the log splitter if necessary. Recommended transportation temperature: -25°C ~ +40°C.
5. Troubleshooting
| Problem | Cause | Possible Solution |
| Log fails to split | Incorrect positioning of the log | Position log correctly |
| Log exceeds permitted dimensions | Pre-cut log to meet dimensions | |
| Wedge does not cut | Sharpen wedge | |
| Oil leak | Locate oil leak, contact your dealer | |
| Hydraulic pressure too low | Check oil level and refill if necessary | |
| Log pusher advances with jerks or strong vibrations | Air in hydraulic pump | Make sure the bleed screw has been loosened |
| Oil leaks | Leakage from the tank | Worn seals, contact your dealer |
6. Technical Specifications
Electrical Motor
Voltage 240VAC/50Hz
Protection Class IP54
Power 1.5 kW
Rotation Speed 2,850 RPM
Splitter Data
Max. Length of Travel 375mm
Max. Splitting Force 5t
Oil Tank Capacity 3.7l
Splitter Capacity
Max. Diameter 250mm
Min. Diameter 50mm
Max. Length 520mm
Splitter Dimensions
Length 1,000mm
Width 280mm
Height 500mm
Weight 46kg (incl. oil)
Noise Emissions 71dB
All illustrations are for reference only.
Velleman nv cannot be held responsible in the event of damage or injury resulted from (incorrect) use of this device.
For more info concerning this product, please visit our website www.perel.eu.
The information in this manual is subject to change without prior notice.
WLS552 PEREL

















