GM Lighting SHWC-V120-RGBW Smart Wi-Fi Light Controller
INSTRUCTIONS
- NOTE: WE RECOMMEND THAT YOU ENGAGE A QUALIFIED, LICENSED ELECTRICIAN. MODIFYING OR DISASSEMBLING BEYOND INSTRUCTIONS WILL VOID THE WARRANTY FOR THIS PRODUCT.

Download the LUXcontrol™ App Vision120 RGBW is controlled wirelessly through our LUXcontrol app that is available for iOS and Android devices. Download from the App Store or Google Play. Please register to use the app. Access the QR codes on the right for more information.
- Layout and Pre-Configure Components Before You Begin Installation Locate area where Vision120 RGBW tape, mounting channel, and controller are to be mounted. Make sure that this space is free of obstructions and can be easily reached for mounting or maintenance. Tape is pre-cut and configured by the factory. Do not attempt to cut in the field or alter in any way.

- Pair Before Mounting Whenever possible, it’s important to be close to your WiFi source when pairing a LUXcontrol device. Fig. 1. This is true for any device that depends on a WiFi signal. NOTE: LUXcontrol recognizes a 2.4Ghz. signal. Consult the pairing directions that come with the controller, or watch our LUXcontrol pairing video. It’s important to turn the controller on and off three times to get the light blinking rapidly in order to pair. Once connected, proceed.

- Mounting Controller Locate controller close to a 120V power source and connect. Fig. 2. Locate mounting tabs and mount controller to surface using counter sink screws.

- Fig. 3. For outdoor locations, please follow all codes that may pertain to wet-rated enclosures.

- Fig. 4 GM-WPSC-RGBW

- Fig. 3. For outdoor locations, please follow all codes that may pertain to wet-rated enclosures.
- Preparing the Mounting Surface Dust will hamper adhesion. Clean all surfaces thoroughly. Fig. 5. Wear protection, do not breathe in fumes. Mounting Tape to Surface Vision120 RGBW can be mounted one of three ways:

- Using 3M Double-Sided Tape Adhere a length of V120-3M-VHB-15 tape to the back of the V120-RGBW tape. Make sure that tape is applied without kinks or bends. Remove the paper protective strip to reveal the adhesive. Fig. 6. Applying firm pressure, burnish the tape to the surface with your fingers or a small roller. Do not apply too much pressure or you may damage the diodes.

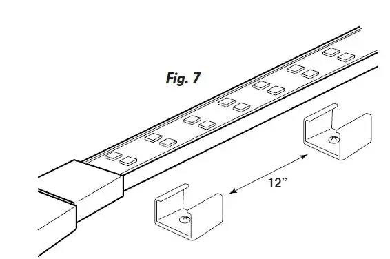
- Using Mounting Clips Arrange V120-RGBW-MC mounting clips along the length of your V120-RGBW run, allowing for at least 1 clip for every 12”. Mount the clips to the surface by using the screws supplied. Fig. 7. Press tape against prongs of clips until the clips open slightly allowing the tape to be firmly seated.

- Mounting In-Channel (See exploded Dwg. Fig. 8) The V120-RGBW-CHL4 and 8 are supplied with internal mounting clips that will hold the V120-RGBW tape securely in the channel. Mount channel by drilling mounting holes through the channel, into the surface.

- Fig. 9. Counter-sink screws are then used to mount the channel to the surface. End caps are available to achieve a finished look. Press the lens firmly into the rails of the channel. You will hear and feel the lens pop into place. NOTE: Connectors do not fit inside of the channel.

- For outdoor applications, we recommend that you run a bead of water-proof silicone sealant around the base of the channel to seal. Fig. 10. Powering Up Make sure that the power source to the controller is Powering Up Make sure that the power source to the controller is supplying 120V current. Since you havepre-paired the controller with the LUXcontrol app, you can now turn the V120-RGBW tape on, and orchestrate a variety of transitions, scenes, and colorful effects.

- Fig. 9. Counter-sink screws are then used to mount the channel to the surface. End caps are available to achieve a finished look. Press the lens firmly into the rails of the channel. You will hear and feel the lens pop into place. NOTE: Connectors do not fit inside of the channel.































