Smart WiFi Strip Light Kit
User Manual
Features
![]() | WIFI controller |
![]() | Voice and intelligent speaker control |
![]() | Timer switch |
![]() | Waterproof level IP65/1 P67 |
![]() | Full range of RGBWW available |
![]() | 5-100% stepless dimming |
![]() | Remote controllable after connecting to the internet |
Parameters
| Item.NO | Colour | Input Voltage | Current |
| TYWFC4-41 | w | 12-24Vdc | Max.2A |
| TYWFC4-42 | CCT | 12-24Vdc | Max.2A |
| TYWFC4-43 | RGB | 12-24Vdc | Max.2A |
| TYWFC4-44 | RGB+W | 12-24Vdc | Max.2A |
| TYWFC4-45 | RGB+CCT | 12-24Vdc | Max.2A |
Dimension

Wiring diagram

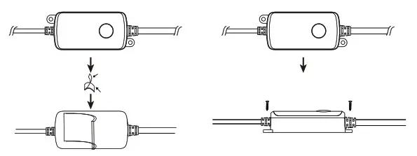
Installation instructions
- Use DC12/24V power supply.
- Install the WIFI controller correctly. Use 3M tape to fix it.
- Connect the light strip and use the matched waterproof male connector. Unfold the light strip before use to avoid damage caused by overheating, and test whether the APP can control the light strip correctly and confirm that it is normal.
- Confirm that the power supply, controller, and light strip are connected properly, and the waterproof ring and screw cap are tightened.

Product functions diagram

- DC12-24V input connection port
- Function buttons:
Switch on
Switch off
Long press for more than 5 seconds to reset
Attentions
- Do not cover metal objects around the controller, which will block the WIFI signal.
- The working voltage of the power supply must be the same as the working voltage of the strip, such as DC12V and DC24V.
- There must be no objects above the waterproof controller, power supply, and light strip.
- Make sure the connection is correct before using the power.
Download APP
- Search Smart Life” from the App Store or Google Play.

- Scan the QR code from the label or user manual.

https://smartapp.tuya.com/smartlife
The APP is compatible with Android 4.0 IOS 8.1 and higher versions.
Log in / Register account number
Open the Smart Life APP, sign up for a new account or log in with an existing account.
APP connection
- Preparation: Turn on the LED strip and enter the home of the APP while ensuring the WIFI signal is good and stable.
- The LED strip will flash when turning on the power supply. Add all devices on the APP and enter adding lighting device interface, match LED strips.
- If the LED strip is not flashing when turning on the power supply, long-press the Reset button for more than 5 seconds. While LED strip flashing, enter the APP adding lighting device interface, match LED strips.

- Please confirm that the phone and controller are in the same WIFI environment;
- Please confirm that WIFI is in 2.4G signal mode;
- If the WIFI signal is in 5G mode, please click “compatibility mode” in the upper right corner of the “confirm the light is flashing page.

- Select the Wi-Fi connection to the smart device, input the WWI password, and then click “OK” to wait for the matching to succeed.(Make sure smart devices share the same WiFi)

APP function introduction
Click the Interface to control it according to the specific model of the specific LED strip. The following is a public function introduction.
Remote control: The LED strip can be controlled anywhere after the smart device is successfully connected.
Timer function: Set the timer to turn on and turn off the LED strip.
Intelligent scene: The system sets a variety of intelligent scenes, and different scenes correspond to different lighting atmospheres.
Group: Group control is available (only for the same type of product). Family room management.
Device Sharing: The device is shared with other user control devices in the home.
Third-party control
In the Smart Life APP: Find more services in the “Me” menu, click to enter “voice service” (Alexa/ Google Assistant) and other services, click on the service you need. Connect to the third-party service device according to the operation guide.
For any product and APP updating, please contact customer service.
Warning: Changes or modifications to this unit not expressly approved by the party responsible for compliance could void the user’s authority to operate the equipment.
NOTE: This device complies with part 15 of the FCC Rules. Operation is subject to the following two conditions: (1) This device may not cause harmful interference, and (2) this device must accept any interference received, including interference that may cause undesired operation.
FCC Statement: This equipment has been tested and found to comply with the limits for a Class B digital device, pursuant to part 15 of the FCC Rules. These limits are designed to provide reasonable protection against harmful interference in a residential installation. This equipment generates, uses and can radiate radio frequency energy and, if not installed and used in accordance with the instructions, may cause harmful interference to radio communications. However, there is no guarantee that interference will not occur in a particular installation. If this equipment does cause harmful interference to radio or television reception, which can be determined by turning the equipment off and on, the user is encouraged to try to correct the interference by one or more of the following measures:
–Reorient or relocate the receiving antenna.
–Increase the separation between the equipment and receiver.
–Connect the equipment into an outlet on a circuit different from that to which the receiver is connected.
–Consult the dealer or an experienced radio/TV technician for help.
In order to have a good experience of using the product, please keep at least 20 cm.





























