Enbrighten 63183 Flush Mount Ceiling Lamp

Quick Start Guide
Congratulations on your new Flush Mounted Ceiling Lamp by Enbrighten! Blending old-world décor with a clean and modern style, this lamp will enhance your space with premium illumination. Before installing, read through these instructions and take note of any safety warnings You don’t need special tools to install this fixture. Be sure to follow the steps in the order given. Under no circumstances should a fixture be hung on house electrical wires, nor should a swag type fixture be installed on a ceiling, which contains a radiant type heating system. If you are unclear how to proceed, consult a qualified electrician.
NOTE: Proper wiring is essential for the safe operation of this fixture.
INSTALLATION
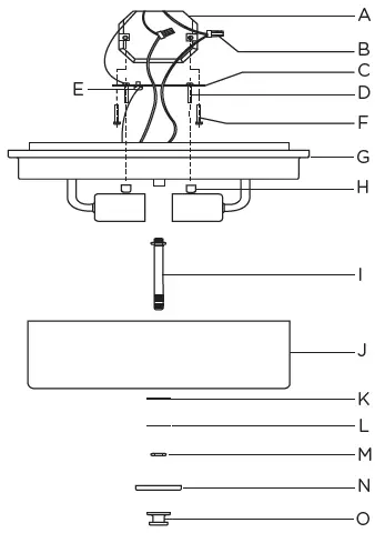
Carefully remove the fixture from the packaging and check that all parts are included as shown in the figure. Be careful not to misplace any of the included screws or parts that are needed to install this fixture.
- Turn power OFF
Ensure power is turned OFF at the circuit breaker or fuse box. - Install mounting bracket
Secure the mounting bracket (C) onto your ceilings’s junction box with the included mounting screws (F). - Neutral and live wires
Using the wire nuts (B), connect the white fixture wire to the white (neutral) supply wire from the junction box. Then connect the black fixture wire to the black (live) supply wire from the unction box. - Ground wire
Connect the ground wire from the junction box and ground wire from the fixture with a wire nut or the ground screw (E) on the mounting bracket (C). Tighten the ground screw to secure both wires. - Secure wiring
Wrap electrical tape (not included) around the wire nuts (B) to ensure they are secured. Then, gently arrange all wiring inside the junction box, making sure there are no exposed connections. - Attach canopy
Align the canopy (G) with the pre-installed screws (D) on mounting bracket (C) and fasten it into place using the two cylinder nuts (H). Ensure the canopy is flat against the ceiling. - Insert bulbs
Thread the included T bulbs into the sockets. NOTE: Use medium base 60W MAX incandescent bulbs or 60W equivalent SBCFL or SBLED bulbs as an alternative. - Insert stem
Thread the stem (I) onto the canopy (G) and tighten it into place. - Install glass shade
Seat the glass shade (J) onto the canopy so that the stem extends out of the small opening. Place the rubber washer (K) and the flat metal washer (L) over each other, securing them in place using the hex nut (M). Put the cap (N) over the hex nut before fastening the cylinder nut (O) at the end of the stem. - Restore power
With the fixture properly installed, restore power at the circuit breaker or fuse box and turn the light on using the associated in-wall switch.
FOR YOUR SAFETY
WARNING: BE SURE THAT ELECTRICAL POWER TO THE WIRES YOU ARE WORKING ON IS SHUT OFF AT THE CIRCUIT BREAKER OR FUSE BOX.
CLEANING: To clean this fixture, wipe it with a soft and dry cloth. Do not use abrasive materials such as scouring pads or powders, steel wool or abrasive paper.
COMPONENTS LEGEND

- A. Junction box (not included)
- B. Wire nuts (x3)
- C. Mounting bracket
- D. Pre-installed screw (x2)
- E. Grounding screw
- F. Mounting screw (x2)
- G. Canopy
- H. Cylinder nut (x2)
- I. Stem
- J. Glass shade
- K. Rubber washer
- L. Metal washer
- M. Hex nut
- N. Cap
- O. Cylinder Nut
MIN 90°C SUPPLY CONDUCTORS CONDUCTORES DE SUMINISTRO MÍNIMO 90°C
WARNING
RISK OF ELECTRIC SHOCK
- DRY LOCATIONS ONLY
- USE INDOORS ONLY
- TURN POWER OFF BEFORE SERVICING SEE INSTRUCTIONS
- PROPERLY GROUND FIXTURE
- ENSURE THAT NO BARE WIRES ARE EXPOSED OUTSIDE THE ELECTRICAL CONNECTIONS
RISK OF INJURY
- SOME METAL PARTS IN THE FIXTURE MAY HAVE SHARP EDGES. TO PREVENT CUTS AND SCRAPES, WEAR GLOVES WHEN HANDLING THE PARTS.
- DO NOT OPERATE THE UNIT WITH A MISSING OR DAMAGED LENS
- ACCOUNT FOR SMALL PARTS AND DESTROY PACKAGING MATERIAL AS THESE MAY BE HAZARDOUS TO CHILDREN
CAUTION – RISK OF FIRE
MAX 60 WATTS TYPE A 120 60HZ AC ONLY MADE IN CHINA
THANK YOU FOR YOUR PURCHASE!

MADE IN CHINA Distributed by Jasco Products Company LLC, 10 E. Memorial Rd., Oklahoma City, OK 73114.
This Jasco product comes with a 2-year limited warranty. Visit www.byjasco.com for warranty details.
Questions? Contact our U.S.-based Consumer Care at 1-800-654-8483 between 7AM-8PM, M-F, Central Time


















