legrand 4 121 81 Gateway Module

Composition

This product allows you to start a connected installation in your home.
![]() |
|
| ![]() |
| -5°C +45°C | 100-240V~ 50/60Hz | 2W MAX | 2,4 à 2,4835Ghz |
Installation step by step
- Choose a location for the Gateway module, in the electrical cabinet:


If an internet box is present in the house, check with a smartphone that the Wifi signal level is sufficient. If the signal is not enough, try to bring the internet box to the electrical panel or add a WiFi repeater at the installation.
Imperative security precaution
The instructions for installation and use must be strictly observed in order to avoid the risk of electric shock or fire.
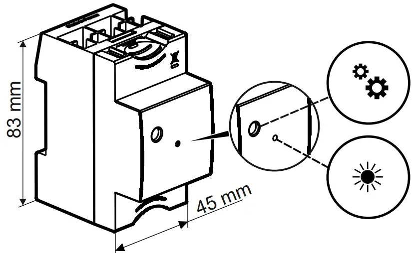
- Install the Gateway module in the electrical cabinet
Turn OFF the power at general circuit breaker
Cable the Gateway module under a circuit breaker


- Complete your connected installation with additional products (not included in this pack):


Wire wired products using the individual instructions provided in the packaging of each of them.
The Legrand ecosystem is growing regularly, do not hesitate to consult the website legrand.com to keep you informed. - Configure the connected installation

Turn OFF the power at general circuit breaker
urn ON the power at the general circuit breaker* once the installation completed and controlled**
* In order to restart all connected products at the same time.
**: After wiring the installation, refit the front plate so that no active live part is accessible - Finalize the installation in the Legrand Home + Control app
Download the Home + Control App and follow the instructions for adding the connected product in your setup.



You also have the option of controlling your installation via a voice assistant. and can customize your scenarios via the Home + Control App.



UE SIMPLIFIED DECLARATION OF CONFORMITY
The undersigned,
Legrand
declares that the radio equipment listed on this instruction sheet are compliant to the directive 2014/53/UE.
The full text of the UE declaration of conformity is available at the following website:
www.legrandoc.com
UE SIMPLIFIED
HomeKit (using the House application)
To control this HomeKit-enabled accessory, the latest version of iOS or iPadOS is recommended.
Controlling this HomeKit-enabled accessory automatically and away from home requires a HomePod, Apple TV, or iPad set up as a home hub. It is recommended that you update to the latest software and operating system
Legal notice
Using products with the Apple HomeKit logo means that an electronic accessory has been designed to connect specifically to the iPod, iPhone or iPad, and has been certified by the developer to meet Apple’s performance standards.
Apple is not responsible for the operation of this device or its compliance with safety and regulatory standards. Please note that using this accessory with the iPod, iPhone, or iPad may affect wireless performance.
iPhone, iPod and iPad are registered trademarks of Apple Inc., registered in the US and other countries.
App Store is a service mark of Apple Inc., registered in the U.S. and other countries.
HomeKit and iPadOS are trademarks of Apple Inc. iOS is a trademark or registered trademark of Cisco in the U.S. and other countries and is used under licence.
Android, Google Play and Google Play badge are trademarks of Google LLC.

www.legrand.fr/reference/412181
LEGRAND – Pro and Consumer Service – BP 30076
87002 LIMOGES CEDEX FRANCE • www.legrand.com
Your products are compatible with technology
Apple HomeKit for control of your connected home. This allows you, for example, to control your products by voice through the wizard Siri voice from your iPhone, iPad, HomePod or Apple Watch.
Unique code of installation Apple HomeKit to keep
Apple HomeKit: During the installation of the iOS mobile app, you will be asked for this code.




Turn OFF the power at general circuit breaker





Wire wired products using the individual instructions provided in the packaging of each of them.



























