makita XCV19 Cordless Upright Cleaner

SPECIFICATIONS
| Model: | XCV19 |
| Maximum air volume * | 1.9 m3/min (67 cu.ft/min) |
| Vacuum * | 12 kPa |
| Capacity | 5 L (1.32 gal.) |
| Dimensions (L x W x H) | 326 mm x 318 mm x 1,146 mm (12-7/8″ x 12-1/2″ x 45-1/8″) |
| Rated voltage | D.C. 36 V |
| Net weight | 8.3 – 9.0 kg (18.3 – 19.8 lbs) |
- The value is measured by our original method.
- Due to our continuing program of research and development, the specifications herein are subject to change without notice.
- Specifications and battery cartridge may differ from country to country.
- The weight includes accessories (round brush, corner nozzle) and battery cartridge(s). The lightest and heavi-est combination weight of the appliance and battery cartridge(s) are shown in the table.
Applicable battery cartridge and charger
| Battery cartridge | BL1815N / BL1820B / BL1830 / BL1830B / BL1840B / BL1850B / BL1860B |
| Charger | DC18RC / DC18RD / DC18RE / DC18SD / DC18SE / DC18SF / DC18SH |
Some of the battery cartridges and chargers listed above may not be available depending on your region of residence.
WARNING: Only use the battery cartridges and chargers listed above. Use of any other battery cartridges and chargers may cause injury and/or fire.
IMPORTANT SAFETY INSTRUCTIONS
When using an electrical appliance, basic precautions should always be followed, including the following:
READ ALL
INSTRUCTIONS BEFORE USING THIS APPLIANCE.
WARNING
To reduce the risk of fire, electric shock or injury:
- Do not leave appliance when battery fitted. Remove battery from appliance when not in use and before servicing.
- Do not use outdoors or on wet surfaces.
- Do not allow to be used as a toy. Close attention is necessary when used by or near children.
- Use only as described in this manual. Use only manufacturer’s recommended attachments.
- Do not use with damaged battery. If appliance is not working as it should, has been dropped, dam-aged, left outdoors, or dropped into water, return it to a service center.
- Do not handle battery or appliance with wet hands.
- Do not put any object into openings. Do not use with any opening blocked; keep free of dust, lint, hair, and any-thing that may reduce air flow.
- Keep hair, loose clothing, fingers, and all parts of body away from openings and moving parts.
- Turn off all controls before removing the battery cartridge.
- Use extra care when cleaning on stairs.
- Do not use to pick up flammable or combustible liquids, such as gasoline, or use in areas where they may be present.
- Do not pick up anything that is burning or smoking, such as cigarettes, matches, or hot ashes.
- Do not use without filter bag and/or filters in place.
- STORE IDLE CLEANER. When not in use, the cleaner should be stored indoors.
- Replace a damaged filter immediately.
- Keep proper footing and balance at all times.
- Do not use the cleaner as a stool or work bench. The machine may fall down and may result in personal injury.
- Keep all parts of your body and clothing away from the openings and moving part like the rotating brush roll. Otherwise they may be caught in the appliance and cause injury.
- Wear appropriate protective equipment such as a mask depending on the usage environment.
- Keep exhaust away from face and body.
- Do not vacuum the following:
- Flammable liquid (kerosene, gasoline, solvents such as ben-zine, thinner, etc.)
- Hot substances that are burning or smoking (cigarettes, matches, incense sticks, candles, hot ashes), sparks and metal dust generated by cutting or grinding metal, etc.
- Flammable material (toner, paint, spray, etc.)
- Foam like carpet cleaning agent, etc. (they may cause explosion or fire)
- Explosive or pyrophoric sub-stances (nitroglycerin, aluminum, magnesium, titanium, zinc, red phosphorus, yellow phosphorus, celluloid, etc. and their dust, gas or steam)
- Sharp objects (glass, cutlery, wood splinter, metal, stone, nail, razor, push pin, etc.)
- Solidifying and conductive fine powder (metal or carbon powder)
- Dehumidifier
- Large amount of powder (flour, fire extinguisher powder, etc.)
- Substances that cause toxic symptoms
- Aggressive chemicals (acid, leach, etc.)
- Liquid or damp garbage, including vomit and excreta
- Asbestos
- Pesticides Such action may cause fire, injury and/or property damage.
- Use only the charger supplied by the manufacturer to recharge.
- Do not charge the battery outdoors.
Battery tool use and care
- Prevent unintentional starting. Ensure the switch is in the off-position before connecting to battery pack, picking up or carrying the appliance. Carrying the appliance with your finger on the switch or energizing appliance that have the switch on invites accidents.
- Disconnect the battery pack from the appliance before making any adjustments, changing accessories, or storing appliance. Such preventive safety measures reduce the risk of starting the appliance accidentally.
- Recharge only with the charger specified by the manufacturer. A charger that is suitable for one type of battery pack may create a risk of fire when used with another battery pack.
- Use appliances only with specifically designated battery packs. Use of any other battery packs may create a risk of injury and fire.
- When battery pack is not in use, keep it away from other metal objects, like paper clips, coins, keys, nails, screws or other small metal objects, that can make a connection from one terminal to another. Shorting the battery terminals together may cause burns or a fire.
- Under abusive conditions, liquid may be ejected from the battery; avoid contact. If contact accidentally occurs, flush with water. If liquid contacts eyes, additionally seek medical help. Liquid ejected from the battery may cause irritation or burns.
- Do not use a battery pack or appliance that is damaged or modified. Damaged or modified batteries may exhibit unpredictable behavior resulting in fire, explosion or risk of injury.
- Do not expose a battery pack or appliance to fire or excessive temperature. Exposure to fire or temperature above 130 °C may cause explosion.
- Follow all charging instructions and do not charge the battery pack or appliance outside of the temperature range specified in the instructions. Charging improperly or at temperatures outside of the specified range may damage the battery and increase the risk of fire.
- Have servicing performed by a qualified repair person using only identical replacement parts. This will ensure that the safety of the product is maintained.
- Do not modify or attempt to repair the appliance or the battery pack except as indicated in the instructions for use and care.
SAVE THESE INSTRUCTIONS.
This appliance is intended for commercial use.
Important safety instructions for battery cartridge
- Before using battery cartridge, read all instructions and cautionary markings on (1) battery charger, (2) battery, and (3) product using battery.
- Do not disassemble or tamper the battery cartridge. It may result in a fire, excessive heat, or explosion.
- If operating time has become excessively shorter, stop operating immediately. It may result in a risk of overheating, possible burns and even an explosion.
- If electrolyte gets into your eyes, rinse them out with clear water and seek medical attention right away. It may result in loss of your eyesight.
- Do not short the battery cartridge:
- Do not touch the terminals with any conductive material.
- Avoid storing battery cartridge in a container with other metal objects such as nails, coins, etc.
- Do not expose battery cartridge to water or rain.
A battery short can cause a large current flow, overheating, possible burns and even a breakdown.
- Do not store and use the tool and battery cartridge in locations where the temperature may reach or exceed 50 °C (122 °F).
- Do not incinerate the battery cartridge even if it is severely damaged or is completely worn out. The battery cartridge can explode in a fire.
- Do not nail, cut, crush, throw, drop the battery cartridge, or hit against a hard object to the battery cartridge. Such conduct may result in a fire, excessive heat, or explosion.
- Do not use a damaged battery.
- The contained lithium-ion batteries are subject to the Dangerous Goods Legislation requirements.
For commercial transports e.g. by third parties, forwarding agents, special requirement on packaging and labeling must be observed. For preparation of the item being shipped, consulting an expert for hazardous material is required. Please also observe possibly more detailed national regulations.
Tape or mask off open contacts and pack up the battery in such a manner that it cannot move around in the packaging. - When disposing the battery cartridge, remove it from the tool and dispose of it in a safe place. Follow your local regulations relating to disposal of battery.
- Use the batteries only with the products specified by Makita. Installing the batteries to non-compliant products may result in a fire, excessive heat, explosion, or leak of electrolyte.
- If the tool is not used for a long period of time, the battery must be removed from the tool.
- During and after use, the battery cartridge may take on heat which can cause burns or low temperature burns. Pay attention to the handling of hot battery cartridges.
- Do not touch the terminal of the tool immediately after use as it may get hot enough to cause burns.
- Do not allow chips, dust, or soil stuck into the terminals, holes, and grooves of the battery cartridge.
It may result in poor performance
or breakdown of the tool or battery cartridge. - Unless the tool supports the use near high-voltage electrical power lines, do not use the battery car-tridge near a high-voltage electrical power lines. It may result in a mal-function or breakdown of the tool or battery cartridge.
- Keep the battery away from children.
SAVE THESE INSTRUCTIONS.
CAUTION: Only use genuine Makita batteries. Use of non-genuine Makita batteries, or batteries that have been altered, may result in the battery bursting causing fires, personal injury and damage. It will also void the Makita warranty for the Makita tool and charger.
Tips for maintaining maximum battery life
- Charge the battery cartridge before completely discharged. Always stop tool operation and charge the battery cartridge when you notice less tool power.
- Never recharge a fully charged battery cartridge. Overcharging shortens the battery service life.
- Charge the battery cartridge with room temperature at 10 °C – 40 °C (50 °F – 104 °F). Let a hot battery cartridge cool down before charging it.
- When not using the battery cartridge, remove it from the tool or the charger.
- Charge the battery cartridge if you do not use it for a long period (more than six months).
PARTS DESCRIPTION

| 1 | Handle | 2 | Switch plate | 3 | Pipe grip | 4 | Hose |
| 5 | Indication panel | 6 | Lever (for the dust box cover) | 7 | Dust box cover | 8 | Carrying handle |
| 9 | Lock (for battery cover) | 10 | Adjusting lever | 11 | Battery cover | 12 | Corner nozzle |
| 13 | Round brush | 14 | Foot lever | 15 | Caster wheel | 16 | Side brush |
| 17 | Suction hose | 18 | Joint | 19 | Aluminum pipe | 20 | Pipe holder |
| 21 | LED lamp | 22 | Brush roll | 23 | Bottom plate | 24 | ON / mode change button |
| 25 | OFF button | 26 | Indicator of operating mode | 27 | Indicator of excess level of dust | 28 | Indicator of brush roll error |
| 29 | Indicator for remaining battery capacity | 30 | Battery check / LED lamp button | – | – | – | – |
ASSEMBLY
CAUTION: Always be sure that the appliance is switched off and the battery cartridge is removed before carrying out any work on the appliance.
CAUTION: Always wear dust mask during assembly or maintenance.
Handle connecting
- Insert the handle pole fully to the cleaner body as shown in the figure.
- Close the lock latch.

- 1. Handle pole
- 2. Red marking
- 3. Lock latch
NOTICE: Insert the handle fully until the red marking cannot be seen.
Hose connecting
Insert the hose into the mounting port of the appliance and turn the horse until it locks.
Pipe connecting
Insert the tip of the aluminum pipe to the joint, and then attach the aluminum pipe to the pipe holder.
- 1. Joint
- 2. Pipe holder
NOTICE: Insert the aluminum pipe in correct direction as shown in figure. Otherwise the pipe holder will not be locked and the aluminum pipe may come off.

Installing or removing battery cartridge
CAUTION: Always switch off the appliance before installing or removing of the battery cartridge.
CAUTION: Hold the cleaner and the battery cartridge firmly when installing or removing battery cartridge. Failure to hold the cleaner and the battery cartridge firmly may cause them to slip off your hands and result in damage to the cleaner and battery cartridge and a personal injury.
CAUTION: Be careful not to pinch your fingers when opening or closing the battery cover. Failure to do so may cause personal injury.
To install the battery cartridge, release the lock first, and then open the battery cover. After that, insert the battery cartridge.
- 1. Lock
- 2. Battery cover
Align the tongue on the battery cartridge with the groove in the housing and slip it into place. Insert it all the way until it locks in place with a little click. Then lock the battery cover.
- 1. Battery cartridge
- 2. Button
To remove the battery cartridge, slide it from the appliance while sliding the button in front of the cartridge.
CAUTION: Always install the battery cartridge fully. If not, it may accidentally fall out of the appliance, causing injury to you or someone around you.
CAUTION: Do not install the battery cartridge forcibly. If the cartridge does not slide in easily, it is not being inserted correctly.
NOTE: The cleaner does not work with only one battery cartridge.
Installing the filter bag
CAUTION: Do not use a damaged filter bag. Always use the vacuum cleaner with the filter bag properly installed. Otherwise the vacuumed dust or particles may be exhausted from the cleaner and they may cause respiratory disease to the operator.
Install the filter bag before using cleaner.
Filter bag is a throw-away type. Throw away the entire filter bag without emptying when it has become full.
NOTICE: When the filter bag is already full or clogged, replace with new one. Continuous use with the filter bag full or clogged results in reduced suction power.
NOTICE: To prevent dust from getting into the motor:
- Make sure that the filter bag is installed before use.
- Do not use a broken or ripped bag. Otherwise the motor may be broken.
NOTICE: Do not fold the cardboard at its opening when installing the filter bag.
NOTICE: The filter bag for the cleaner is an important component for maintaining the appliance performance. Using non-genuine filter bag may cause smoke or ignition.
NOTE: When the filter bag is not installed in the appliance, the dust box cover does not close completely.
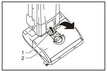
- Unlock the lever and open the dust box cover.

- Lever
- Dust box cover
- Insert the filter bag into the slot on the holder so that the side with mark enters first.
- Hook the latch of the holder.

- Slot
- Filter bag
- Holder
- Latch
- Make sure that only the marking on the cardboard can be seen through the slit of the holder.

- Marking
- Slit
- Lock the dust box cover certainly.
CAUTION: Be careful not to pinch your fingers when hooking the latch, and when closing the dust box cover.
Removing the filter bag
CAUTION: Handle the filter bag softly. Otherwise foreign objects are blown into eyes, it may result in personal injury.
Replace the filter bag when it becomes full or clogged. Open the dust box cover and open the latch, then take out the filter bag.
Pull the strip on the side of the opening to shut the filter bag and dispose of the filter bag in whole.
- 1. Latch
- 2. Strip
NOTICE: Do not use a used filter bag. The filter bag is designed for single use. Using filter bag repeatedly may cause clogging of the filter and results in damage to the appliance.
FUNCTIONAL DESCRIPTION
CAUTION: Always be sure that the appliance is switched off and the battery cartridge is removed before adjusting or checking function on the appliance.
Tool / battery protection system
The tool is equipped with a tool/battery protection system. This system automatically cuts off power to the motor to extend tool and battery life. The tool will automatically stop during operation if the tool or battery is placed under one of the following conditions:
- Overload protection
When the tool is operated in a manner that causes it to draw an abnormally high current, the tool automatically stops without any indication. In this situation, turn the tool off and stop the application that caused the tool to become overloaded. Then turn the tool on to restart. - Overheat protection
On 
Blinking 

When the tool is overheated, the tool stops automatically, and the battery indicator blinks about 60 seconds. In this situation, let the tool cool down before turning the tool on again.
- Overdischarge protection When the battery capacity becomes low, the tool stops automatically. If the product does not operate even when the switches are operated, remove the batteries from the tool and charge the batteries.
Indicating the remaining battery capacity
Only for battery cartridges with the indicator
- 1. Indicator lamps
- 2. Check button
Press the check button on the battery cartridge to indicate the remaining battery capacity. The indicator lamps light up for a few seconds.

NOTE: Depending on the conditions of use and the ambient temperature, the indication may differ slightly from the actual capacity.
NOTE: The first (far left) indicator lamp will blink when the battery protection system works.
Indication panel

- 1. Operating mode
- 2. Excess level of dust
- 3. Brush roll error
- 4. Remaining battery capacity
- 5. Battery check / LED lamp button
Operating mode
To change the operating mode, refer to the section for switch action.
Excess level of dust
If this indicator lights up, replace the filter bag. (Refer the section of removing the filter bag.)
NOTE: This indicator does not work when the appliance operates in “lower noise level (1)” mode.
NOTE: This indicator may not work depending on the usage environment.
Brushroll error
| Blinking | The brush roll is under high load for some reasons. |
| On | The brush roll is stopped by abnormal reason. |
WARNING: Immediately switch off the appliance when this lamp lights up during operation. Otherwise the motor malfunction may occur and cause fire.
Remaining battery capacity
During operation, press the battery check / LED lamp button to indicate the remaining battery capacities. The battery indicators correspond to each battery.
| Battery indicator status | Remaining battery capacity | ||
| On | Off | Blinking | |
![]() | 50% to 100% | ||
![]() | 20% to 50% | ||
![]() | 0% to 20% | ||
![]() | Charge the battery | ||
Battery check / LED lamp button
During operation, the following operations can be performed.
- Simply press the button to check the remaining battery capacity.
- Press and hold the button to turn on / off the LED lamp.
Switch action

- 1. ON / mode change button
- 2. OFF button
Turning on / off the appliance
To start the appliance, simply push the ON / mode change button. To switch off, push the OFF button.
CAUTION: Always put the head of the appliance on the floor when turning on the appliance. Otherwise an accident due to entanglement may occur and cause a personal injury.
- “lower noise level (1)”, “normal (2)”, and “high (3)”.
- If you want to change operating mode, press the ON
- / mode change button when the appliance is running.
- The operating mode switches in order “lower noise level (1)” , “normal (2)” , and “high (3)”.
- The appliance will start in the same mode as the previous setting.
Lighting up the LED lamp
CAUTION: Do not look in the light or see the source of light directly.
The appliance is equipped with the LED lamps. See the paragraph of the battery check / LED lamp button for operation.
- 1. LED lamp
Foot lever
CAUTION: Always lock the appliance in upright position when you let go of the handle. Otherwise the appliance may accidentally fall and cause injury.
CAUTION: Be careful not to pinch your fingers between the main body and the head of the appliance.
To unlock the upright position of the appliance, step on the foot lever and pull the handle backward. The range of motion is 90 degrees from the upright position.
- 1. Foot lever
To lock the appliance in upright position, raise up the handle forward until the foot lever locks the position with click.
NOTE: While the appliance is in the upright position, the brush roll stops rotating.
Adjusting the height of brush roll
CAUTION: Always make sure that the adjusting lever comes into the position properly before operation.
The height of brush roll can be adjusted in 4 steps.
Turn the adjusting lever to your desired height.
When the adjusting lever points the A mark, the brush roll is located at the lowest point above the floor and is suitable for cleaning hard floors and short-haired carpets. When the adjusting lever points the B mark, the brush roll is located at the highest point above the floor and is suitable for cleaning long-haired carpets.
- 1. Adjusting lever
NOTE: The brushroll may not rotate if the height of brushroll is too low against the surface of the carpet.
Carrying handle
When carrying the appliance, push the appliance with the caster wheels only, or carry it by holding the carry-ing handle(s).

CAUTION: When carrying the appliance, lock the appliance in upright position. Otherwise falling accident may occur.
CAUTION: Do not carry the appliance with anything other than the carrying handle. Otherwise falling accident may occur or unintentional starting may cause an injury.
OPERATION
CAUTION: Do not pull out the handle pole from the appliance during operation. Doing so lose control of the appliance and may result serious injury.
CAUTION: Do not put your hand or leg under the appliance during operation. Otherwise pinching accident may occur.
Normal cleaning operation
- Hold the handle, and then unlock the upright position.
- Turn on the appliance. Clean a floor.

Using the side brush
The side brush is convenient for cleaning the corner of a wall.
If the side brush gets short, take the appliance to the Makita service center for replacement

- 1. Side brush
Operation with accessories
CAUTION: Keep holding the handle when using accessories. Otherwise the appliance may accidentally fall and cause injury.
NOTICE: When using accessories, lock the appliance in upright position. Otherwise the rotation of the brush roll may damage the floor.
Using the aluminum pipe
The aluminum pipe is suitable for cleaning tight quarters, or high places.

- 1. Aluminum pipe
Using the hose
The hose is suitable for cleaning near your hands.
- 1. Hose
To use the hose, pull out the aluminum pipe from the hose while pushing the lever.
To install the hose, insert the hose into the aluminum pipe until it clicks.
- 1. Lever
Using the attachments

To install the attachment, twist and insert it securely to the aluminum pipe or the hose. To disconnect, twist and remove it.
MAINTENANCE
CAUTION: Always be sure that the appliance is switched off and the battery cartridge is removed before attempting to perform inspection or maintenance.
NOTICE: Never use gasoline, benzine, thinner, alcohol or the like. Discoloration, deformation or cracks may result.
To maintain product SAFETY and RELIABILITY, repairs, any other maintenance or adjustment should be performed by Makita Authorized or Factory Service Centers, always using Makita replacement parts.
Storage
When storing, remove the battery cartridges and store the appliance on level place in upright position.

Cleaning the appliance body
From time to time wipe off the outside (cleaner body) of the cleaner using a cloth dampened in soapy water.
Cleaning the HEPA filter
CAUTION: Do not use the cleaner without a filter or continue to use dirty or damaged filter. Vacuumed dust or particles may be exhausted from the cleaner and they may cause respiratory disease to the operator.
NOTICE: To keep optimum suction power and clean exhaust, clean the filter periodically. If enough suction power is not obtained even after the cleaning, replace the filter with new one.
NOTICE: To prevent the filter from being dam-aged, do not use following tools and similar items for cleaning :
- Air duster
- High pressure washer
- Tools made of hard materials such as a
- metallic brush
- Open the dust box cover and take out the filter bag. Release the hooks on the filter and remove it from the appliance body.
- Hook

- Hook
- Beat the dust off from the filter. The filter can be washed with water. Rinse away the dust and particles on the filter every 1 or 2 month. After that, dry the filter completely in a shaded and well-ventilated place to prevent unpleasant odor or malfunctions.
- To install the filter, insert the side without the hooks into the groove then push in the filter until the hooks are secured with a click.

- Groove
- HEPA filter
- Hook
Cleaning the brush roll
- Remove the bottom plate, and then remove the brush roll.
If the hair of the brush roll gets short, ask the Makita service center for new one.
Operating the appliance with the short hair brush roll results in poor dust collecting.
- Bottom plate
- Brush roll
- Remove threads and hairs from the brush roll using scissors.
Remove the cap and clean debris.
- Cap
- Install the cap, brush roll, and bottom plate in reverse order.

CAUTION: Attach the bottom plate completely. If the appliance is operated without the bottom plate, the brush roll may come off and cause injury.
NOTICE: Always attach the brush roll. Operating the appliance without the brush roll results in poor dust collecting.
How to clear the clog
NOTICE: Do not operate the appliance with the intake flow path clogged. Continuous use with the intake flow path clogged results in reduced suction power.
- Remove the bottom plate, and then remove the brush roll.
- Remove the aluminum pipe from the appliance and from the hose.
- Turn the hose counterclockwise, and then remove the hose from the appliance.
- Remove the suction hose by pulling the tab.

- Suction hose
- Tab
- Inspect the intake flow path of air for the inside of the aluminum pipe and the hose, and the suction hose.
Clean debris inside of them. - Align the tongue of the suction hose with the groove in the housing and slip it into place.

- Tongue
- Groove
- Install the hose, aluminum pipe, brush roll, and bottom plate.
CAUTION: Install the hose, pipe firmly. Otherwise dust leakage may occur and cause injury.
TROUBLESHOOTING
Before asking for repairs, conduct your own inspection first. If you find a problem that is not explained in the manual, do not attempt to disassemble the machine. Instead, ask Makita Authorized Service Centers, always using Makita replacement parts for repairs.
| Symptom | Probable cause | Remedy |
| Not working | Battery cartridges are installed improperly. | Install the battery cartridges as described in this manual. |
| The battery cartridges are exhausted. | Charge the battery cartridges. | |
| The handle is installed improperly. | Install the handle firmly as described in this manual. | |
| The brushroll does not rotate | The appliance is locked in upright position. | Unlock the upright position of the appliance. |
| The indicator of brushroll error is lighting. | Inspect that there is no entanglement around the brushroll (body, cap and joint). | |
| Weak suction power | The indicator of excess level of dust is lighting. | Replace the filter bag. |
| If replacing the filter bag does not solve the problem… | Clean or replace the HEPA filter. | |
| Inspect that there is no debris clogged in the hose and pipe. | ||
| Debris is entangled in the brush roll and the rotating speed is declined. | Inspect that there is no entanglement around the brush roll (body, cap, joint). | |
| The height of brush roll is too high from the floor. | Lower the height of the brush roll. | |
| The hair of brush roll has become short. | Replace the brush roll. Lower the height of the brush roll. | |
| The appliance is operating in low mode. | Change to the higher operating mode. | |
| The brush roll is not installed. | Install the brush roll. | |
| The pipe or the hose is installed improperly. | Install the pipe or the hose firmly. | |
| Loud driving noise | The appliance is operating in high mode. | Change to the lower operating mode. |
| Debris is entangled in the brush roll. | Inspect that there is no entanglement around the brush roll (body, cap and joint). | |
| The filter bag is filled with dust. | Replace the filter bag. | |
| If replacing the filter bag does not solve the problem… | Clean or replace the HEPA filter. | |
| Inspect that there is no debris clogged in the hose and pipe. | ||
| The indicator of excess level of dust blinks after a little use | The filter bag is folded. | Unfold the entrance of the filter bag before setting it. |
| LED lamp does not light | The LED lamp setting is off. | During operation, press and hold the battery check / LED lamp button to turn on the LED lamp. |
| The caster wheel is hard to move | Debris is entangled in the caster wheel. | Clean the debris on the caster wheel. |
OPTIONAL ACCESSORIES
CAUTION: These accessories or attachments are recommended for use with your Makita tool specified in this manual. The use of any other accessories or attachments might present a risk of injury to persons. Only use accessory or attachment for its stated purpose.
If you need any assistance for more details regarding these accessories, ask your local Makita Service Center.
- Corner nozzle
- Round brush
- HEPA filter
- Filter bag
- Makita genuine battery and charger
NOTE: Some items in the list may be included in the tool package as standard accessories. They may differ from country to country.
MAKITA LIMITED WARRANTY
Please refer to the annexed warranty sheet for the most current warranty terms applicable to this product. If annexed warranty sheet is not available, refer to the warranty details set forth at below website for your respective country.
United States of America: www.makitatools.com Canada: www.makita.ca
Other countries: www.makita.com



































