QJE PS30SWI Switching Mode DC Regulated Power Supply

INTRODUCTION
PS30SWI is a high efficiency ,compact ,lightweight,highperformance switching power supply. It is also engineeredtominimize the noise specifically for the communication.Evenwhenthe noise occurs,it can be eliminated by the Noise Offsetcontrol.Many convenient functions like voltage pre-set knobandahighlyvisible back lit meter are all included in this standardpowersupply.
PART NAMES AND FUNCTIONS

- Power switch:Turns the unit on and off.
- Noise off-set volume control: Adjust it to eliminate the pulse noise of the switching power supply. This function is specially designed for communication.( Effectiveness may be vary because of the frequency and mode.)
- Meter: Displays the voltage or current.
- Meter switch:Select the position to indicate voltage(V)or current(A).
- Cigarette plug terminal: 10A max.
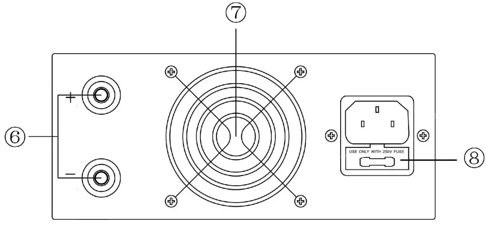
- Output terminal:30A max; Red positive; black negative.
- Cooling fan
- FUSE


SPECIFICATIONS
- Input voltage: 110VAC 60Hz 220VAC 50Hz
- Output voltage: 13.8VDC Fixed voltage.
- Output voltage regulation: less than 2%
- Protection: Short-circuit,Automatic currentlimitingWith in 30A
- Outputcurrent: 30A(max),20A(continuous)
- Ripple: less than 80mVp-p at rated load
- Fuse: 110V:8A 220V:5A
- Meter: single volt/current meter,back-lit
- Dimensions: 150(W)×70(H)×220(L)mm(Projections not included)
- Weight; approx.1.5kg
CAUTION
- Even though the chassis of the unit is negatively grounded, use correct terminals to connect cable.
- When plugging the unit into a wall outlet,it must be turned off.
- Place the unit in a dry and well ventilated area.
- Never touch the unit while it is working. Even though it is designed for high efficiency,the unit will still get hot.
- A current limiting system will protect the unit fromoverloading.
- If a short circuit occurs while outputing,the unit will be protected by a short circuit protection function. Turn off the unit and repair the cause of the short circuit immediately, then turn it back on.
- Do not use the unit for devices that require high current input at the start,such as motorized equipment. Do not use the unit to charge a car battery.
- Do not use a car cigarette lighter in the cigarette plug socket on the unit.
- Before replacing a fuse make sure that the unit hasbeenturnedoff. Be sure to use the specified type of fuse.
- Make sure the product is always suitably groundedtopreventelectric shock and to reduce noise.
- Never disassemble,modify, and touch the insideoftheunitunnecessarily. That could cause damage to the productandmakethe warranty invalid.





















