VITRIFRIGO DP2600iAC Double Door Refrigerator / Freezer 8.1 cu ft Instruction Manual
INTRODUCTION
Dear client, thank you for choosing one of our products.
Vitrifrigo hopes that you will be completely satisfied with your purchase.
This manual is considered an integral part of the refrigerator and must follow the sales path to the user.
The same can be consulted on the Vitrifrigo website www.vitrifrigo.com.
Each refrigerator, before being shipped, is thoroughly checked and tested to ensure it operates correctly.
For more information or for any clarification, please contact one of our service centers or any of our offices directly
Models
| C25L | 0851 | C3OBTL | TL20L |
| 0391 | 0901 | C35BTL | TL37L |
| C42L | C95L | C55BTL | TL4OL |
| 0501 | 01 151 | C 1 1 OBTL | TL43L |
| C511 | 0130L | TL160L | |
| 0601 | LT451 | TL1 80L | |
| C62I | DP1501 | LT75I | |
| C75L | DP2600I |
GENERAL WARNINGS
- The manual refers to the C series models.
- For a full list of the models and their sizes refer to Annex 1.
- Read this manual carefully before using the refrigerator
ATTENTION: (for versions with R600a Isobutane Refrigerant only): risk of fire. The appliance contains inflammable gas.
ATTENTION: Keep ventilation openings in the appliance’s casing or in the recess free from obstruction,
ATTENTION: Do not use mechanical devices or other means other than those recommended by the manufacturer to accelerate the defrosting process.
ATTENTION: Do not damage the refrigerant circuit.
ATTENTION: Do not use electrical appliances or devices inside the food storage compartments if these appliances or devices are not of the type recommended by the manufacturer.
Destination of the product
- This appliance is designed for use in applications such as:
- kitchen areas for personnel in shops, offices and other work environments.
- By customers of farms, hotels, motels and in other residential environments.
- Bed and Breakfast establishments.
- In catering services and similar applications but not for retail purposes.
- In camper vans, caravans and on pleasure craft.
- Whenever this refrigerator should replace an old type, it is recommended to make any lock unusable before scraping it.
- This appliance may only be used with recessed installation.
- Respect the indications of the key present on the cover (letters I / L present in the model code) for correct installation of the appliance.
- Follow the installation instructions given in this manual carefully.
- It is absolutely prohibited to use the refrigerator for any use other than those intended.
- This appliance is not designed for direct contact with food
- The appliance may be used by children aged 8 and older and by people with reduced physical, sensory or mental abilities, and by people lacking experience or the necessary knowledge, provided that use is supervised or done after suitable instruction has been given regarding the safe use of the appliance and once there is an understanding of the danger inherent in the product and its use.
- Children must not play with the appliance.
- Cleaning and maintenance by the user must not be done by children without the proper supervision.
Receipt
- The refrigerator must only be installed by qualified staff
- Check that the packaging is intact. If not, report it to the courier.
- Remove the refrigerator from the packaging, working with maximum care; in order to prevent accidental injury the use of safety gloves is advised.
- Check that the product has not been damaged.
- Any damage must be reported to the reseller within 24 hours of taking delivery of the appliance.
Installation
- Install the product, taking the utmost care and caution to avoid accidentally damaging the product. Use protective gloves.
- Before connecting the refrigerator, check that the network voltage corresponds with that displayed on the equipment’s identification label, or with that indicated on the label on the compressor.
- Once installation has been completed, check that the refrigerator is not resting on a power cable.
- If the power supply cable is damaged it must immediately be replaced by the technical assistance service or by qualified personnel.
- Place the refrigerator away from heat sources, making sure that there is sufficient ventilation
- We recommend that you wait at least one hour before switching the refrigerator on, in order to allow the refrigeration circuit to be completely efficient.
- We recommend leaving sufficient space to be able to disconnect the appliance from the power supply, should the need arise.
- Series C refrigerators must be used with recessed installation.
ATTENTION: To avoid any hazard caused by the appliance being unstable, it must be fixed according to the instructions.
Maintenance and safety (all models)
- Maintenance of the refrigerator must be only be carried out by qualified staff.
- Before carrying out any maintenance or cleaning operation, disconnect the power plug.
- Keep ventilation openings free from obstructions.
- Contact a suitably qualified person to clean the ventilated condenser.
- Always carry out the inspections, checks, and scheduled maintenance described in this manual.
- Do not attempt to remove, modify or repair the refrigerator.
- For any operational problems contact the Vitrifrigo Service Centre closest to you; in any case, request the assistance of a suitably qualified person.
- Do not store explosive substances in this appliance such as aerosol cans with flammable propellant.
- The appliance must not be cleaned with a jet of water.
- For appliances intended to be used at altitudes higher than 2000 m, contact the manufacturer.
- The environment in which the appliance is installed must be adequately ventilated if possible.
- If the environment, in which an appliance containing a flammable refrigerant is used, is not ventilated, the environment must ensure that, should any gas leak, it cannot reach a concentration such as to cause a fire or explosion as a result of a heat source (electric heating appliances or similar)..
Disposal

- Do not throw the packaging used for your appliance away. Separate the materials according to local waste disposal regulations.
- This product must not be disposed of with municipal waste but must be disposed of separately.
- Contact your nearest Waste Electrical and Electronic Equipment (WEEE) collection centre or take it to a retailer when purchasing a new, equivalent appliance.
- The symbol to the side indicates that the refrigerator must not be disposed of as urban waste.
- Improper disposal or incorrect use of the refrigerator is subject to administrative and/or penalties imposed by current legislation.
PURPOSE OF THE MANUAL
This manual, referring to C series refrigerators, is intended as a guide to the appliance’s proper use and maintenance.
In order to learn how to operate and use the refrigerator, you must read this manual carefully.
In this manual the operations related to the following are provided: installation, operation, maintenance.
The refrigerator has been manufactured to comply with all the safety requirements given by legislation and regulations.
Nevertheless, the user’s utmost safety depends on carefully reading this manual and on regular and careful cleaning and maintenance.
Some information or diagrams in this manual may show details or particular aspects that might differ slightly from the refrigerator that you have purchased.
The essential information, however, remains the same.
Depending on the constant improvement of models, this refrigerator may show variations that are not covered in this manual.
Any modifications will appear, depending on the need, in future versions of the manual.
DESCRIPTION OF THE APPLIANCE (fig.1)
| A) horizontal evaporator | C) thermostat box | F) fruit drawer (*) |
| A1) vertical evaporator | D) removable grilles | G) door shelves (removable) |
| B) drip tray | E) glass shelf (*) |
(*) only in some models
The label showing the serial number and the technical data is placed inside the refrigerator.
The first four digits of the serial number identify the year and the week of manufacture.
INSTALLATION
Installation key: the presence of the letters I and L in the model code indicate the version relating to the type of installation envisaged
- I = version with internal motor for recessing
- L= version with remote motor for recessing
- (e.g. C130L = C130 model code letter L recess version)
Ensure that the refrigerator is not damaged when opening the packaging after receiving the product.
Any transportation damage must be reported promptly to the reseller and, in any case, within 24 hours of taking delivery of the appliance.
Handle the product with the utmost care and attention.
When positioning the refrigerant unit (in refrigerator models with a remote refrigerant system), take precautions to avoid obstructions and breaking the connection pipes.
Always position the refrigerator and the remote refrigerant unit (in the versions with such a solution) on a horizontal surface that can support the weight of the appliance and its eventual contents.
Once installation has been completed, check that the refrigerator is not resting on a power cable.
If the power cable is damaged, it must be replaced immediately by someone from the technical service center or by someone suitably qualified, in order to avoid any risk.
Place the refrigerator away from heat sources ensuring that it has enough ventilation as in the following installation examples.
Once the refrigerator has been positioned, wait at least one hour before switching it on.
Recessing of the appliance with static condenser
- The dimensions of the front opening envisaged for recessing the appliance must respect the dimensions of the refrigerator and, in order to guarantee stability, must allow for the correct assembly of the fixing frame installed (see annex 1).
- The recess must respect the minimum distances between the appliance and the surrounding structure and it must have suitable ventilation openings communicating directly with the free space in the room, in order to obtain correct air circulation by means of the chimney effect, as indicated in annex 2 – figure 1.
- The recess must ensure that no electrically live part of the appliance is directly accessible (thermostat, control unit and fan), equipping them with appropriate grilles, just like the ventilation openings.
- The grilles must have openings with max. dimension of 5 mm.
- The ventilation openings must have minimum dimensions of at least 75 mm in height and not less than the dimension of the refrigerator in width if positioned above or below the appliance (anx.2 – fig.1), or not less than 120mm in height and the dimension of the refrigerator in width if positioned behind. (anx.2 – fig.1)
- The minimum distances between the various parts of the appliance and the recess structure must not be less than 75mm. (anx.2 – fig.1)
- For recess situations in spaces where the minimum distance of 75mm is respected only in the rear part of the appliance, make the ventilation openings on the same side respecting the indications for the position, number and dimensions shown in fig.1.
- For recess situations with the presence of shelves in contact with the upper and lower parts of the appliance, make the ventilation openings above and below the appliance or in the rear part as shown in fig.1.
- In all the situations of the described ventilation openings, only the minimum distance of 75mm from the sides of the appliance may not be observed.
Appliance recessing with ventilated condenser
- The size of the front opening to be prepared for recessing the appliance must respect the dimensions of the refrigerator (see annex 1).
- The recess must respect the minimum distances between the appliance and the surrounding structure and it must have suitable ventilation openings communicating directly with the open space in the room, in order to obtain correct air circulation by means of the chimney effect, as indicated in annex 2 – figure 2
- The recess must ensure that all possible live parts of the appliance are not directly accessible as well as the ventilation openings, by fitting them with suitable grilles.
- The grilles must have openings with max. dimension of 5 mm.
- The envisioned ventilation openings are:
- with dimension no less than 120 mm in height for the dimension of the refrigeration in width if positioned behind, which must always be associated to another opening of at least 120×12 mm positioned on the side of the condenser (anx.2 – fig.2).
- of dimensions 120x120mm if positioned on both sides, as indicated in annex 2 – fig.2
- For recess situations in spaces where the minimum distance of 75mm is respected only in the rear part of the appliance, make the ventilation openings on the same side respecting the indications for the position, number and dimensions shown in fig.2.
- For recess situations with surfaces in contact with the upper and lower parts of the appliance, make the ventilation openings at the top and bottom of the appliance as indicated in fig.2.
- In all the situations of the described ventilation openings, only the minimum distance of 75mm from the sides of the appliance may not be observed.
Appliance recess, with ventilated remote motor.
- The size of the front opening to be prepared for recessing the appliance must respect the dimensions of the refrigerator (see annex 1).
- The recess must respect the minimum distances between the remote motor and the surrounding structure and it must have suitable ventilation openings communicating directly with the open space in the room, in order to obtain correct air circulation by means of the chimney effect, as indicated in annex 2 – figure 3
- The recess must ensure that all possible live parts of the appliance are not directly accessible as well as the ventilation openings, by fitting them with suitable grilles.
- The grilles must have openings with max. dimension of 5 mm.
- The ventilation openings must have dimensions no smaller than 120×120 mm and positioned on both sides, as per figure 3.
Appliance recess for campers, caravans and motor-homes.
- To install the refrigerator or fridge units in a caravan, camper van, motor home etc. make the recess space in the vehicle with ventilation vents directly on the outside, fitted with suitable grilles to ensure that all possible live parts of the appliance are not directly accessible (thermostat, electronic module and fan).
- The grilles must have openings with max. dimension of 5mm and be on at least one side (see annex 2 fig. 1-2-3).
ATTENTION: Keep ventilation openings free from obstructions in the recess.
Do not place any objects or other materials near the ventilation grilles, nor cover or block them.
Fixing the appliance.
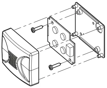
To secure the appliance in the recessed area, use the holes on the front base or the internal bushings of the refrigerator and screws or the special fixing frame if present (see annex 3).
ELECTRICAL CONNECTION
ATTENTION: (only for models with alternating current)
- The operator must be able to disconnect the appliance from the mains electricity.
- Make sure that there is an access point to the mains electricity and/or that the plant has a 6A differential magnetothermal switch with minimum 3 mm opening of the contacts.
- Before connecting the product, make sure that the voltage corresponds to that shown on the identification label or that shown on the label on the compressor.
IMPORTANT: by law, the appliance must be grounded. Make sure that the grounding system for the electrical network is working perfectly.
- We accept no responsibility whatsoever for any injury to people or damage to property deriving from the failure to properly comply with this regulation.
- The use of adaptors, multiple sockets and extension cords is not recommended.
- In the event that the appliance’s plug and the socket are not compatible, replace the plug with a suitable one.
- This operation must be done by a suitably qualified person who must ensure that the cable section of the plug is appropriate to the power absorbed by the appliance.
- Do not interconnect any other type of appliance to the refrigerator.
ELECTRIC CONNECTION FOR 12-24Vdc and 12-24 Vdc / 100-240 Vac 50/60Hz models
It is recommended to connect the 12Vdc or 24Vdc power supply line directly to the battery by following the corresponding instructions of the supplied control unit (see annex 4).
- Prepare the alternating current power supply line using three-pole cable with minimum section per wire of 1 mm2 and suitable isolation for the methods and environment of use and compliant with the regulations in force.
- Make the connection to the AC power line by means of a plug connection with an adequate flow rate compliant with current regulations or prepare an omni polar magnetothermal differential switch with a capacity of 6 amps and with contact opening
of at least 3 mm or nevertheless in compliance with current regulations. - Once installation has been completed, check the continuity of the earth circuit and carry out all the electrical safety tests provided for by current regulations.
- Protect and lock the cables in order to prevent accidental pulling of the cable from disconnecting it from the connections or coming into contact with hot parts with a temperature above 50°C or with sharp parts.
- It is recommended that the installation of the power supply lines is carried out by qualified personnel who will check the compliance of the unit with the regulations in force and issue the relative certifications of conformity.
STANDARD BATTERY PROTECTION SETTINGS
| 12 V cut- out V | 12 V cut- in V | 24 V cut- out V | 24 V cut- in V |
| 12 V stacco V | 12 V attacco V | 24 V stacco V | 12 V attacco V |
| 10.4 | 11.7 | 22.8 | 24.2 |
CABLE DIMENSIONS: CONNECTION BETWEEN THE BATTERY AND ELECTRONIC UNIT
| Section (mm2) | 2.5 | 4 | 6 | 10 |
| Max. length m line at 12V | 2.5 | 4 | 6 | 10 |
| Max. length m line at 24V | 5 | 8 | 12 | 20 |
START-UP
Once the plug is connected to the power outlet, the fridge will start-up automatically in thermostat mode and no further operations are required for its correct operations.
For a reasonable arrangement and storage of food follow the table below:
| Food | Preservation time | Method of preservation | Position in fridge |
| Clean meat and fish | 2 or 3 days |
Exclusively wrapped or closed in airtight containers and placed in the fridge after they have cooled down if previously heated | On the grille/shelf under the freezer area |
| Eggs | 1 month | Use the door compartments | |
| Butter or margarine | 1 week | Use the door compartments | |
| Cooked foods, cakes and soups | 3 or 4 days | On the grille in the lowest part of the refrigerator | |
| Cold cuts, fresh pasta, creams, puddings, chocolate, pastries, animal fats | 3 or 4 days | On any grille/shelf | |
| Water and beverages | Use the door compartments | ||
| Fruit and vegetables | In the vegetable drawer, in the lower part of the refrigerator |
FUNCTIONALITY AND ADJUSTMENT OF THE TEMPERATURE
- This refrigerator (all models) is equipped with a mechanical thermostat for automatic temperature maintenance and for automatic defrosting.
- The refrigerator is already factory set at the best operating temperature.
- To regulate the temperature, turn the knob positioned inside the fridge, in a clockwise direction (towards “MAX”) in order to lower the temperature, and in an anti-clockwise direction (towards “MIN”) to increase it.
EXTRAORDINARY MAINTENANCE AND ASSISTANCE
Cleaning the refrigerator
Before starting to clean the refrigerator, make sure it is not connected to the mains electricity.
OUTSIDE
Wash the outside of the refrigerator with lukewarm water, rinse with cold water and dry with a soft cloth. Do not use abrasive or aggressive products.
Cleaning and maintenance of the condenser must be performed only by authorized after-sales staff.
INSIDE
Remove the internal shelves, grilles (or the rack), the containers and the ice trays and proceed with cleaning using lukewarm water with bicarbonate of sodium or vinegar.
Rinse and dry carefully with a soft cloth.
Completely avoid the use of abrasive products, detergents or soaps. in order to avoid the formation of mold or unpleasant smells, unplug the appliance, empty it and clean the inside and leave the door half open.
If the refrigerator will not be used for a long time, disconnect it from the electrical power supply, empty it out completely, clean it and leave the door in the “Vent Position”(*).
Defrosting the appliance
It will be necessary to defrost the refrigerator every often when the frost builds up to a thickness of more than three millimeters.
This operation is necessary in order to guarantee that the fridge works efficiently and to avoid increasing the electricity consumption.
In order to achieve complete defrosting of the refrigerator turn the thermostat control to the stop position. Keep the door open so that the defrosting time is quicker.
ATTENTION: Do not use mechanical devices or other means other than those recommended by the manufacturer to accelerate the defrosting process.
ATTENTION: Do not remove the layer of frost using pointed or sharp metal tools that may cause a puncture in the cooling plate with irreparable consequences for the appliance.
- In the holding plate refrigerators, defrosting takes place automatically.
- It is recommended to empty the drip tray daily.
- Once defrosting has finished start up the refrigerator by returning the thermostat knob to the desired position.
Replacing and reversing the door
To replace the door, refer to Annex 5; to change its opening direction, refer to Annex 6.
Total/Partial recess profile assembly
To assemble the recess profile, partially unscrew the screws of the profile, sliding it flush with the door or flush with the casing and tighten the screws again.
Replacing the door panel
Remove the door following the instructions given in Annex 5, then follow the instructions in Annex 7.
Replacing the LED light profile
ATTENTION: Replacing the LED light must be done by a suitably qualified person who is able to adopt all the appropriate safety measures. Before replacing the light, make sure ENG 29 that the refrigerator is not connected to any electrical supply. If connected, unplug the appliance from the electrical supply.
To replace the LED light profile:
- Remove, perpendicular to the base, the protective cover, being careful not to damage the fixing pins.
- Disconnect the light’s power cables.
- Replace the LED light profile.
- Connect the power source.
- Replace the cover.

TROUBLESHOOTING GUIDE
What to do if the fridge doesn’t work
| Problem | Cause | Solution |
| The refrigerator does not start | No electrical current | Check that the power supply cable is intact and properly connected. |
| DC mode: Check that the battery is charged | ||
| Check that the voltage on the terminal block of the appliance’s electronic device is the same as that of the battery. | ||
| Try running a reset | Disconnect the power cable. Wait for a minute and then reconnect it. | |
| Thermostat in “STOP” position | Move the thermostat to the recommended position | |
| The refrigerator does not cool | Insufficient output | Check that:
|
| The refrigerator does not stop | The internal temperature is too high | Check that the door is completely closed |
| The courtesy light does not switch on | The light is faulty | Call the service center |
| The refrigerator is noisy | Check that the refrigerator sits flat and is not in direct contact with any object that might cause vibrations. |
If you do not manage to achieve regular operation after these checks, contact the customer assistance service.
Identification of the manufacturer
The refrigerator has been design and manufactured exclusively by: Vitrifrigo s.r.l.
Via Mazzini 75 – fraz. Montecchio – 61022 VALLEFOGLIA(PU) – Italy
tel. +39 0721 154500 –
fax. +39 0721 497739
e-mail: [email protected] – www.vitrifrigo.com


















