
SWA-150S Replacement Snap Switch
Instruction Manual
Replacement Switch Assembly
SWA-150S Replacement Snap Switch
Replacement Snap Switch Assembly
SWA-150S SWA-158S
SWA-150S-MD SWA-159S
For Series 150S and 157S Low Water Cut-Off/Pump Controllers (All Models)
WARNING
![]() | • Before using this product read and understand Instructions. • Save these Instructions for future reference. • All work must be performed by qualified personnel trained In the proper application, instal-lation, and maintenance of plumbing, steam, and electrical equipment and/or systems In accordance with all applicable codes and ordinances. • To prevent serious burns, the boiler must be cooled to SOT (27’C) and the pressure must be 0 psi (0 bar) before servicing. • To prevent electrical shock, turn off all sources of electrical power before servicing unit. • This low water cut-off must be installed in series with all other limit and operating controls Installed on the boiler. Aber servicing unit, check for proper operation of all of the limit and operating controls before leaving the site. • We recommend that secondary (redundant) Low Water Cut Off controls be installed on all steam boilers with heat input greater than 400,000 BTU/hour or operating above 15 psi of steam pressure. At least two controls should be connected in senes with the burner control circuit to provide safety redundancy protection should the boiler experience a low-water condition. Moreover, at each annual outage, the low water cutoffs should be dismantled. inspected, cleaned. and checked for proper calibration and performance. • To prevent a fire, do not use this low water cut-off to switch currents over 7.4A,113 Hp at 120 VAC or 3.7A, 1/3 Hp at 240 VAC, unless a starter or relay is used in conjunction with it. Failure to follow this warning could cause property damage, personal injury or death. |
![]() | |
![]() | |
Verify that you have the Correct Replacement Switch Assembly Model
IMPORTANT:
- Installation of an incorrect switch assembly could cause damage to the boiler and/or boiler system.
- Modification of the switch assembly before or after installation could cause damage to the boiler and/or boiler system.
- Series 150S and 157S Replacement Snap Switch Assemblies are not interchangeable with Series 150 and 157 mercury switch controls.
- Replacement Switch Assemblies are not interchangeable and must be selected and ordered for the specific control model in which it will be installed.

NOTE: Models with (*) will require head replacement if manufactured before September 2003 (03J)
OPERATION
Maximum Pressure: 150 psi (10.5 kg/cm2 )
Electrical Ratings
| Voltage | Pump Circuit Rating (Amperes) | Pilot Duty | |
| Full Load | Locked Rotor | ||
| 120 VAC | 7.4 | 44.4 | 345 VA at 120 or 240 VAC |
| 240 VAC | 3.7 | 22.2 | |
| Alarm Circuit Rating | |
| Voltage | Amps |
| 120 VAC | 1 |
| 240 VAC | 1/2 |
| Motor Horsepower | |
| Voltage | Hp |
| 120 VAC | 1/3 |
| 240 VAC | 1/3 |
Settings and Differential Pressures
Series 150S and 157S
| Pressure | Setting | Approximate Distance Above Cast Line In. (mm) | Differential In. (mm) |
| 0 psi (0 kg/ cm2) | Pump Off | 15/16 (24) | 5/16 (8) |
| Pump On | 5/8 (16) | ||
| Burner On | 5/8 (16) | 3/8 (16) | |
| Burner Off | 1/4 (6.4) | ||
| 150 psi (10.5 kg/ cm2) | Pump Off | 13/8 (41) | 3/4 (19) |
| Pump On | 5/8 (16) | ||
| Burner On | 7/8 (22) | 7/8 (22) | |
| Burner Off | 0 (0) |
150 psi (10.5 kg/cm2 ) Levels
Model 150S-MD and 157S-MD
| Pressure | Setting | Approximate Distance Above Cast Line In. (mm) | Differential In. (mm) | ||
| 0 psi (0 kg/ cm2) | Pump Off | 15/16 | (24) | 3/8 | (16) |
| Pump On | 9/16 | (14) | |||
| Burner Off | 0 | (0) | N/A | ||
| 150 psi(10.5 kg/ cm2) | Pump Off | 17/16 | (37) | 3/4 | (19) |
| Pump On | 11/16 | (17) | |||
| Burner Off | – 3/8 | (-16) | N/A | ||
150 psi (10.5 kg/cm2 ) Levels
Settings and Differential Pressures (continued)
Model 158S
| Pressure | Setting | Approximate Distance Above Cast Line In. (mm) | Differential In. (mm) |
| 0 psi (0 kg/ cm2) | Motorized Valve Closed | 15/16 (24) | 5/16 (8) |
| Motorized Valve Open | 5/8 (16) | ||
| Burner On | 5/8(16) | 3/8 (16) | |
| Burner Off | 1/4 (6.4) | ||
| 150 psi (10.5 kg/ cm2) | Motorized Valve Closed | 13/8 (41) | 3/4 (19) |
| Motorized Valve Open | 5/8 (16) | ||
| Burner On | 7/8 (22) | 7/8 (22) | |
| Burner Off | 0 (0) |
150 psi (10.5 kg/cm2) Levels
NOTE: Due to the slower operation of some motorized valves, complete valve opening or closing will occur at slightly different lev- els than indicated above.
Model 158S-MD
| Pressure | Setting | Approximate Distance Above Cast Line In. (mm) | Differential In. (mm) | ||
| 0 psi (0 kg/ cm2) | Pump Off | 15/16 | (24) | 3/8 | (16) |
| Pump On | 9/16 | (14) | |||
| Burner Off | 0 | (0) | N/A | ||
| 150 psi (10.5 kg/ cm2) | Pump Off | 17/16 | (37) | 3/4 | (19) |
| Pump On | 11/16 | (17) | |||
| Burner Off | – 3/8 | (-16) | N/A | ||
150 psi (10.5 kg/cm2) Levels
NOTE: Due to the slower operation of some motorized valves, complete valve opening or closing will occur at slightly different lev- els than indicated above.
Model 159S
| Pressure | Setting | Approximate Distance Above Cast Line In. (mm) | Differential In. (mm) |
| 0 psi (0 kg/ cm2) | Pump #1 Off | 15/16 (24) | 5/16 (8) |
| Pump #1 On | 5/8 (16) | ||
| Pump #2 Off | 5/8 (16) | 3/8 (16) | |
| Pump #2 On | 1/4 (6.4) | ||
| 150 psi (10.5 kg/ cm2) | Pump #1 Off | 13/8 (41) | 3/4 (19) |
| Pump #1 On | 5/8 (16) | ||
| Pump #2 Off | 7/8 (22) | 7/8 (22) | |
| Pump #2 On | 0 (0) |
150 psi (10.5 kg/cm2) Levels
Switch Level Ruler
Cut to actual size and attach to piece of cardboard.
SECTION 1 – Switch Bracket Replacement
WARNING
| • To prevent electrical shock, turn off the electrical power before making electrical connections. • This low water cut-off must be installed in series with all other limit and operating controls installed on the boiler. After installation, check for proper operation of all of the limit and operating controls, before leaving the site. Failure to follow this warning could cause electrical shock, an explosion and/or a fire, which could result in property damage, personal injury or death. | |
- Turn the boiler off.

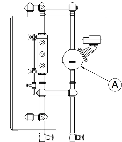
- Allow the boiler to cool to 80˚F (27˚C) and release the boiler pressure to 0 psi (0 bar). Drain water in the boiler to a level which is below the float chamber (A).

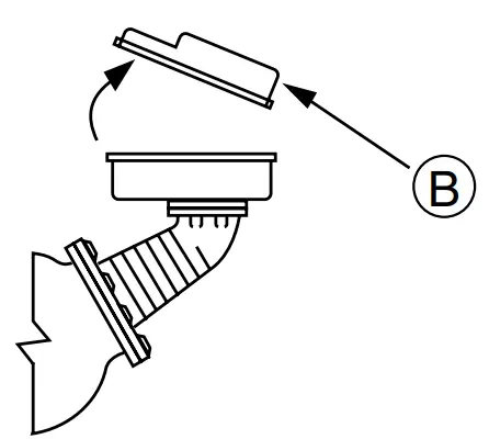
- Remove the cover (B).

- Mark and remove the pump switch and burner/alarm switch wires from terminal block.

Terminal Connection Reference Chart
| Terminal Connection | |||||||
| Product | Switch | 1 | 2 | 3 | 4 | 5 | 6 |
| 150S/157S | 2 Wire Pump | Blue | Yellow | ||||
| 3 Wire Burner | Black | White | Red | ||||
| 158S | 3 Wire Pump | Black | White | Red | |||
| 3 Wire Burner | Black | White | Red | ||||
| 159S | 2 Wire Pump | Blue | Yellow | ||||
| 2 Wire Burner | Blue | Yellow | |||||
5a. Locate the actuator assembly (C) and the two fillister head screws (D) which secure it to the bearing of the control.
b. Clean the inspection lacquer out of the screw slots in the two fillister head screws.
c. Remove the two screws holding the actuator assembly in place using a flat head screwdriver. Remove actuator assembly and place aside for reinstallation.
6a. Remove the two Torx® screws (E) holding the switch bracket assembly in place using a flat head screwdriver or a Torx® T30 wrench.
b. Take the new switch bracket assembly out of the package and place the bagged supplies to one side while discarding the insert.
NOTE: Refer to the chart on page 2 to make sure you have the proper switch bracket assembly for your control. The switch bracket assemblies are not interchangeable.
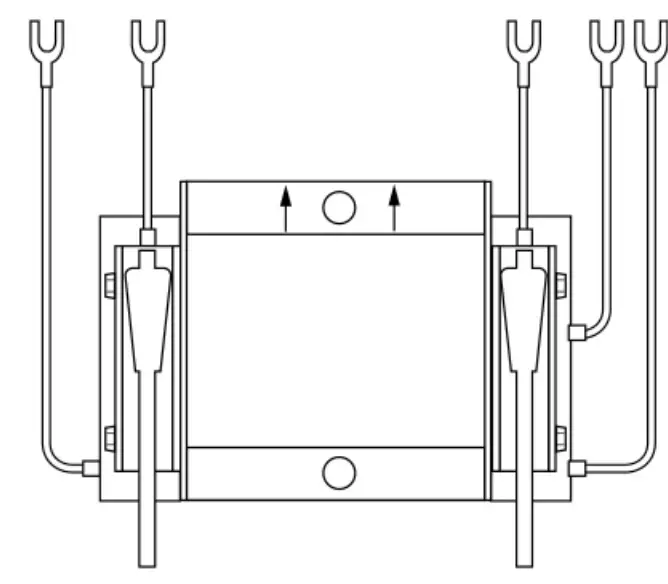
c. Install the new switch bracket assembly (F) into the junction box in the same orientation as the old switch bracket assembly (i.e. with arrows on the bracket pointing toward the terminal block).
d. Secure the new assembly with Torx® screws (E) and torque to 80 – 140 in. lb. (92 – 161 cm. kg.).
7a. Reattach the actuator assembly using the two fillister head screws (G) and torque to 30 – 40 in. lb. (34.5 – 46 cm. kg.).
b. Apply a drop of the supplied adhesive to the threads of each fillister head screw.
8. Reconnect the pump switch and burner/ alarm switch wires to terminal block as noted when disconnected and torque to 13 – 17 in. lb. ( 15 – 19.5 cm. kg.) (Refer to “Terminal Connection Chart” on page 6 if unsure of proper switch to terminal block wire connections).
9. Reattach the cover (H).
Note:
Cover must be installed correctly as shown
Proceed with normal operational checks of controls as described in Step 2 “Checking Switch Settings and Adjusting Switch Setpoints at Operating Pressure”; or Section 3 “Checking Switch Settings at “0” Pressure”. The pump or burner switch operating points should be within +/- 1/8″ of those specified for your control.
SECTION 2 – Checking Switch Settings and Adjusting Switch Setpoints at Operating Pressure
IMPORTANT: All switches have fixed differentials. Adjustment of switches referred to in Step 2 and 3 are all based upon Pump Off and Burner Off setpoints. The Pump On and Burner On setpoints are not adjustable.
We strongly recommend that you check the control at both the operating pressure and at 0 pressure. All boilers start at 0 psi regardless of the operating pressure.
The operating points will spread out as the pressure goes up and shrink as the pressure goes down.
1. Cut out the “Switching Level Ruler” (page 5) along the indicated lines.
(Not to Scale. Template located on page 5).
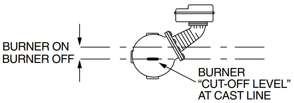
2a. Hold the ruler against the side of the gauge glass in a position so the “Cast Line” mark is on the same level as the Cast Line on the float chamber of the control (I) (a carpenter’s level should be used to insure the cast line on the float chamber is at the same level as the one on the ruler).
b. Once the ruler is properly positioned, tape it to the gauge glass.
3a. Bring boiler up to normal operating pressure and turn the pump off.
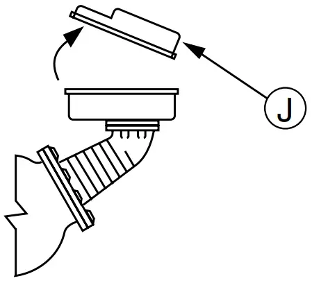
b. Remove the cover (J).
Setting the Operating Points of the Burner Switch
IMPORTANT: Where Pump On/Off and Burner On/Off are referenced in these instructions, Pump #1 On/Off and Pump #2 Off/On should be substituted, respectively, for a 159S control, and Motorized Valve Open/Closed can substitute for Pump On/Off for a 158S control.
4a. Slowly bring the boiler water level down to the point at which the burner cuts off. If the burner does not shut off automatically by the time the water level reaches 3/8″ (9.5mm) below the cast line on the unit body, shut the burner off manually.
4b. If the cut-off point does not match the one as shown in chart for the control (pages 3, 4, or 5) as measured on the “Switch Level Ruler” dig the inspection lacquer out of the socket in the set screw (K) above the burner switch in the actuator assembly using an awl.
c. Using an Allen wrench with a 5/64″ hex, turn the screw 1/4 turn:
– clockwise (if the “Burner Off” point is too high when viewed from top)
– counterclockwise (if the “Burner Off” point is too low when viewed from top)
– for manual reset units with date codes of 03K and newer, the set screw should be turned opposite the above direction to obtain desired results.
4d. Turn the pump back on, allowing the boiler to fill with water.
e. Reset the burner switch (L) for manual reset models once the pump shuts off.
NOTE
Manual reset units with date codes of 03K and newer require the cover to be installed for proper operation of the manual reset mechanism.
4f. Repeat steps a. through d. as necessary to match the Burner Off point specification for your model.
g. Apply one drop of adhesive (furnished) to the set screw threads (M) above the burner switch in the actuator assembly.
Setting the Operating Points of the Pump Switch
IMPORTANT: Where Pump On/Off and Burner On/Off are referenced in these instructions, Pump #1 On/Off and Pump #2 Off/On should be substituted, respectively, for a 159S control, and Motorized Valve Open/Closed can substitute for Pump On/Off for a 158S control.
5a. Slowly drain the water in the boiler until the pump turns on. Allow pump to fill the boiler and observe the point on the ruler where the water level shuts off.
5b. If the Pump Off point does not match the one shown in chart for the control (pages 3 and 4) and as measured on the “Switching Level Ruler”, dig the inspection lacquer out of the socket in the set screw (N) above the pump switch in the actuator assembly using an awl.
c. Using an Allen wrench with a 5/64″ hex, turn the screw 1/4 turn: – clockwise (if the “Pump Off” point is too high when viewed from top) – counterclockwise (if the “Pump Off” point is too low when viewed from top)
5d. Slowly drain the water in the boiler until the pump turns on. Allow pump to fill the boiler and observe the point on the ruler where the water level shuts off.
5e. Repeat steps 5a. through d. as necessary to match the specified Pump Off point specification.
f. Apply one drop of adhesive (furnished) to the set screw threads (0) above the pump switch in the actuator assembly
SECTION 3 – Checking Switch Settings at 0 Pressure
IMPORTANT: All switches have fixed differentials. Adjustment of switches referred to in Sections 2 and 3 are based upon Pump Off and Burner Off setpoints. The Pump On and Burner On setpoints are not adjustable.
IMPORTANT: Where Pump On/Off and Burner On/Off are referenced in these instructions, Pump #1 On/Off and Pump #2 Off/On should be substituted, respectively, for a 159S control, and Motorized Valve Open/Closed can substitute for Pump On/Off for a 158S control.
1. Find the “Switching Level Ruler” on page 5, and cut it out along the indicated lines.
(Not to Scale. Template located on page 5).
2. Hold the ruler against the side of the gauge glass in a position so the Cast Line mark is on the same level as the cast line on the float chamber of the control (a carpenter’s level should be used to insure the cast line on the float chamber is on the same plane as the one on the marker).
3. Once the marker is properly positioned, tape it to the gauge glass.
4a. Drain the water level in the boiler until the pump turns on. Note the level at which the pump turns on and then turns off. Verify that pump settings are acceptable.
b. Turn the pump off.
5a. Drain the water level in the boiler until the burner turns off. Observe the burner off point.
b. Turn the pump back on and observe the Burner On point as the boiler fills with water. In the case of manual reset models, try reset-ting the burner switch as close as possible to the Burner On point as shown in chart for the control and as measured on the switch level ruler. Verify that burner settings are acceptable.
NOTE
Manual reset units with date codes of 03K and newer require the cover to be installed for proper operation of the manual reset mechanism.
6. Re-attach the junction box cover (P).
Note:
Cover must be installed correctly as shown
7. Turn the boiler on.
MAINTENANCE SCHEDULE:
Blow down control as follows when boiler is in operation.
- Daily if operating pressure is above 15 psi.
- Weekly if operating pressure is below 15 psi.
NOTE
More frequent blow-down may be necessary due to dirty boiler water and/or local codes.
- Remove head assembly and inspect water side components annually. Replace head assembly if any of the internal components are worn, corroded or damaged or if control no longer operates properly.
- Inspect the float chamber and equalizing piping annually. Remove all sediment and debris.
NOTE
The control may need to be inspected and cleaned more frequently on systems where there is the potential of excessive scale or sludge build-up. This includes systems:
- With high raw water make-up
- With no condensate return
- With untreated boiler water
- Where significant changes have been made to the boiler-water chemical treatment process
- With oil in the boiler water
Replace head mechanism every 5 years. More frequent replacement may be required when severe conditions exist. Replacement parts are available from your local authorized McDonnell & Miller Distributor. The use of parts or components other than those manufactured by McDonnell & Miller will void all warranties and may affect the units compliance with listings or regulating agencies.
MAINTENANCE BLOW DOWN PROCEDURE:
CAUTION
To prevent serious personal injury from steam pipe blow down, connect a drain pipe to the control opening to avoid exposure to steam discharge. Failure to follow this caution could cause personal injury.
When blowing down a control at pressure, the blow down valves should be opened slowly. The piping needs to be warmed up and stagnant water in the drain piping needs to be pushed out. Suddenly opening a blow down valve causes steam to condense, which can create water hammer. Damage to components can occur when water hammer occurs due to improper blow down piping. For these reasons, McDonnell & Miller recommends a dual valve blow-down system for each control.
Blow down the control when the water in the boiler is at its normal level and the burner is on.
NOTE: Refer to page 2 for switch operating points.
- Open upper valve (#1)
- Slowly open the lower valve (#2)
- Water in the sight glass should lower.
- As the water in the sight glass lowers, the pump should turn on.
- As the water continues to lower in the sight glass, the burner should turn off.
- Slowly close the lower valve (#2).
- Close the upper valve (#1)
- The water level in the sight glass should rise, first turning on the burner and then turning off the pump.
NOTE: On manual reset models, the reset button will need to be pressed after the water level has been restored before the burner will operate.
NOTE
If this sequence of operation does not occur as described, immediately close all the valves, turn off the boiler and correct the problem. Inspection/cleaning of the float mechanism may be required to determine why the control was not working properly. Retest the control after the problem has been identified and corrected.
COMMERCIAL WARRANTY
Warranty. For goods sold to commercial buyers, Seller warrants the goods sold to Buyer hereunder (with the exception of membranes, seals, gaskets, elastomer materials, coatings and other “wear parts” or consumables all of which are not warranted except as otherwise provided in the quotation or sales form) will be (i) be built in accordance with the specifications referred to in the quotation or sales form, if such specifications are expressly made a part of this Agreement, and (ii) free from defects in material and workmanship for a period of one (1) year from the date of installation or two (2) years from the date of manufacture, whichever shall occur first, unless a longer period is specified in the product documentation (the “Warranty”).
Except as otherwise required by law, Seller shall, at its option and at no cost to Buyer, either repair or replace any product which fails to conform with the Warranty provided Buyer gives written notice to Seller of any defects in material or workmanship within ten (10) days of the date when any defects or non-conformance are first manifest. Under either repair or replacement option, Seller shall not be obligated to remove or pay for the removal of the defective product or install or pay for the installation of the replaced or repaired product and Buyer shall be responsible for all other costs, including, but not limited to, service costs, shipping fees and expenses. Seller shall have sole discretion as to the method or means of repair or replacement. Buyer’s failure to comply with Seller’s repair or replacement directions shall terminate Seller’s obligations under this Warranty and render the Warranty void. Any parts repaired or replaced under the Warranty are warranted only for the balance of the warranty period on the parts that were repaired or replaced. Seller shall have no warranty obligations to Buyer with respect to any product or parts of a product that have been: (a) repaired by third parties other than Seller or without Seller’s written approval; (b) subject to misuse, misapplication, neglect, alteration, accident, or physical damage; (c) used in a manner contrary to Seller’s instructions for installation, operation and maintenance; (d) damaged from ordinary wear and tear, corrosion, or chemical attack; (e) damaged due to abnormal conditions, vibration, failure to properly prime, or operation without flow; (f) damaged due to a defective power supply or improper electrical protection; or (g) damaged resulting from the use of accessory equipment not sold or approved by Seller. In any case of products not manufactured by Seller, there is no warranty from Seller; however, Seller will extend to Buyer any warranty received from Seller’s supplier of such products.
THE FOREGOING WARRANTY IS EXCLUSIVE AND IN LIEU OF ANY AND ALL OTHER EXPRESS OR IMPLIED WARRANTIES, GUARANTEES, CONDITIONS OR TERMS OF WHATEVER NATURE RELATING TO THE GOODS PROVIDED HEREUNDER, INCLUDING WITHOUT LIMITATION ANY IMPLIED WARRANTIES OF MERCHANTABILITY AND FITNESS FOR A PARTICULAR PURPOSE, WHICH ARE HEREBY EXPRESSLY DISCLAIMED AND EXCLUDED. EXCEPT AS OTHERWISE REQUIRED BY LAW, BUYER’S EXCLUSIVE REMEDY AND SELLER’S AGGREGATE LIABILITY FOR BREACH OF ANY OF THE FOREGOING WARRANTIES ARE LIMITED TO REPAIRING OR REPLACING THE PRODUCT AND SHALL IN ALL CASES BE LIMITED TO THE AMOUNT PAID BY THE BUYER FOR THE DEFECTIVE PRODUCT. IN NO EVENT SHALL SELLER BE LIABLE FOR ANY OTHER FORM OF DAMAGES, WHETHER DIRECT, INDIRECT, LIQUIDATED, INCIDENTAL, CONSEQUENTIAL, PUNITIVE, EXEMPLARY OR SPECIAL DAMAGES, INCLUDING BUT NOT LIMITED TO LOSS OF PROFIT, LOSS OF ANTICIPATED SAVINGS OR REVENUE, LOSS OF INCOME, LOSS OF BUSINESS, LOSS OF PRODUCTION, LOSS OF OPPORTUNITY OR LOSS OF REPUTATION.
LIMITED CONSUMER WARRANTY
Warranty. For goods sold for personal, family or household purposes, Seller warrants the goods purchased hereunder (with the exception of membranes, seals, gaskets, elastomer materials, coatings and other “wear parts” or consumables all of which are not warranted except as otherwise provided in the quotation or sales form) will be free from defects in material and workmanship for a period of one (1) year from the date of installation or two (2) years from the product date code, whichever shall occur first, unless a longer period is provided by law or is specified in the product documentation (the “Warranty”).
Except as otherwise required by law, Seller shall, at its option and at no cost to Buyer, either repair or replace any product which fails to conform with the Warranty provided Buyer gives written notice to Seller of any defects in material or workmanship within ten (10) days of the date when any defects or non-conformance are first manifest. Under either repair or replacement option, Seller shall not be obligated to remove or pay for the removal of the defective product or install or pay for the installation of the replaced or repaired product and Buyer shall be responsible for all other costs, including, but not limited to, service costs, shipping fees and expenses. Seller shall have sole discretion as to the method or means of repair or replacement. Buyer’s failure to comply with Seller’s repair or replacement directions shall terminate Seller’s obligations under this Warranty and render this Warranty void. Any parts repaired or replaced under the Warranty are warranted only for the balance of the warranty period on the parts that were repaired or replaced. The Warranty is conditioned on Buyer giving written notice to Seller of any defects in material or workmanship of warranted goods within ten (10) days of the date when any defects are first manifest.
Seller shall have no warranty obligations to Buyer with respect to any product or parts of a product that have been: (a) repaired by third parties other than Seller or without Seller’s written approval; (b) subject to misuse, misapplication, neglect, alteration, accident, or physical damage; (c) used in a manner contrary to Seller’s instructions for installation, operation and maintenance; (d) damaged from ordinary wear and tear, corrosion, or chemical attack; (e) damaged due to abnormal conditions, vibration, failure to properly prime, or operation without flow; (f) damaged due to a defective power supply or improper electrical protection; or (g) damaged resulting from the use of accessory equipment not sold or approved by Seller. In any case of products not manufactured by Seller, there is no warranty from Seller; however, Seller will extend to Buyer any warranty received from Seller’s supplier of such products.
THE FOREGOING WARRANTY IS PROVIDED IN PLACE OF ALL OTHER EXPRESS WARRANTIES. ALL IMPLIED WARRANTIES, INCLUDING BUT NOT LIMITED TO THE IMPLIED WARRANTIES OF MERCHANTABILITY AND FITNESS FOR A PARTICULAR PURPOSE, ARE LIMITED TO ONE (1) YEAR FROM THE DATE OF INSTALLATION OR TWO (2) YEARS FROM THE PRODUCT DATE CODE, WHICHEVER SHALL OCCUR FIRST. EXCEPT AS OTHERWISE REQUIRED BY LAW, BUYER’S EXCLUSIVE REMEDY AND SELLER’S AGGREGATE LIABILITY FOR BREACH OF ANY OF THE FOREGOING WARRANTIES ARE LIMITED TO REPAIRING OR REPLACING THE PRODUCT AND SHALL IN ALL CASES BE LIMITED TO THE AMOUNT PAID BY THE BUYER FOR THE DEFECTIVE PRODUCT. IN NO EVENT SHALL SELLER BE LIABLE FOR ANY OTHER FORM OF DAMAGES, WHETHER DIRECT, INDIRECT, LIQUIDATED, INCIDENTAL, CONSEQUENTIAL, PUNITIVE, EXEMPLARY OR SPECIAL DAMAGES, INCLUDING BUT NOT LIMITED TO LOSS OF PROFIT, LOSS OF ANTICIPATED SAVINGS OR REVENUE, LOSS OF INCOME, LOSS OF BUSINESS, LOSS OF PRODUCTION, LOSS OF OPPORTUNITY OR LOSS OF REPUTATION.
Some states do not allow limitations on how long an implied warranty lasts, so the above limitation may not apply to you. Some states do not allow the exclusion or limitation of incidental or consequential damages, so the above exclusions may not apply to you. This warranty gives you specific legal rights, and you may also have other rights which may vary from state to state.
To make a warranty claim, check first with the dealer from whom you purchased the product or call +1-847-966-3700 for the name and location of the nearest dealer providing warranty service.
Xylem Inc. 8200 N.
Austin Avenue Morton Grove, Illinois 60053
Phone: (847) 966-3700
Fax: (847) 965-8379
www.mcdonnellmiller.com
McDonnell & Miller is a trademark of Xylem Inc.or one of its subsidiaries.
© 2015 Xylem Inc. MM-235G
October 2015 Part No. 210369

























