SPIRIT RYDERBT Bluetooth Speaker

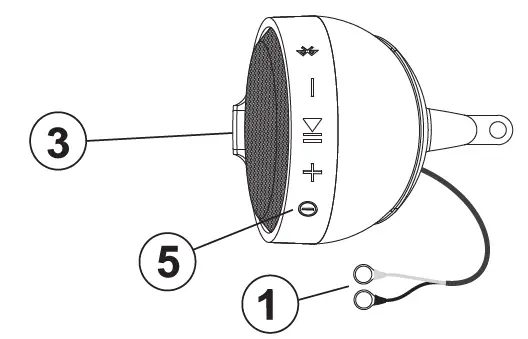
GETTING TO KNOW YOUR RYDERBT

- POWER TERMINAL
- RYDERBT
- USB JACK
- CONTROL PANEL
CAUTION!! Using other mounting methods may void this warranty
BLUETOOTH OPERATION

PAIRING & DISCOVERING A NEW BLUETOOTH CONNECTION
- By connecting the terminal 1) blocks to the positive and negative poles of the battery.
- Power long press(5)to start the machine
- Press the button(9).The RYDERBT Will automatically go in to pairing mode:
ANDROID users:- Go into the Settings Menu of your device
- Enter the Bluetooth Menu
- TURN ON Bluetooth and press SCAN
- “RYDERBT” will now be displayed under AVAILABLE DEVICES
- If prompted, enter passcode: “0000”
iOS users: - Go into the Settings Menu of your iOS device
- Enter the Bluetooth Menu
- TURN ON Bluetooth
- “RYDERBT will now be displayed
- If prompted, enter passcode: “0000”
- If RYDERBT is not seen, repeat the above steps to refresh the “Device List”
- When the connection is successful, you are now ready to stream music from your favorite media player to the RYDERBT
RECONNECTION
- Power on the RYDERBT and your last paired Bluetooth device.
- Press the button (9).The unit will now automatically reconnect
- If your device was previously paired with the RYDERBT, but it wasn’t the last paired device:
- Ensure no other devices are currently paired
- Enter the Bluetooth Menu on your device being paired
- “RYDERBT” will display under AVAILABLE DEVICES
- Choose the ” RYDERBT “to reconnect
- If the device is out of range from the RYDERBT, it will disconnect automatically:
- The RYDERBT will automatically reconnect to the device once back in range
Tips:
To avoid battery exhaustion, be sure to occasionally run the vehicles engine while using this product. Using this product without running the engine can drain the battery.
STREAMING MUSIC
MULTIFUNCTION CONTROLLER BLUETOOTH OPERATION
- Press the (8PLAYPAUSE once to start playing music or press the PLAY button from your devices touchscreen
- To skip songs or advance, short press the 6)NEXT TRACK button
- To select the previous song. short press the 7)Previous TRACK button
VOLUME CONTROL
- To raise the volume long press the 6 VOLUMEUP button or use your devices controls
- To lower the volume long press the 7 Volume DOWN button or use your devices controls
Tips: For maximum audio performance, ensure your device Bluetooth volume is set to a minimum 75% level before stowing
USB input
USB IN OPERATION
- By connecting the terminal( 1) blocks to the positive and negative poles of the battery.
- Power long press(5) to start the machine
- Pull off the cover(3). Insert the USB Flash drive on and play the music automatically
- Pres the 8) PLAYPAUSE once to start playing music or pause
- To skip songs or advance, short press the 6) NEXT TRACK button
- To select the previous song, short press the Previous TRACK button.
- To raise the volume long press the)volume UP button or use your devices controls
- To lower the volume long press the VOLUME DOWN button or use your devices controls
Tips USB can play music formats MP3 and WMA.
FAST CHARGING MODE
USB CHARGING
- By connecting the terminal( 1) blocks to the positive and negative poles of the battery.
- Power short press (5) to charging mode, The indicator light changes from normally bright red to slow flashing.
- Pull off the cover3).Connect USB device for automatic charging, If the equipment has the fast charging function, it will automatically switch to the fast charging state.
INSTALLATION

TROUBLESHOOTING

DIMENSIONS

WIRE DIAGRAM

FCC Statement
This equipment has been tested and found to comply with the limits for a Class B digital device, pursuant to part 15 of the FCC Rules. These limits are designed to provide reasonable protection against harmful interference in a residential installation. This equipment generates, uses and can radiate radio frequency energy and, if not installed and used in accordance with the instructions, may cause harmful interference to radio communications. However, there is no guarantee that interference will not occur in a particular installation. If this equipment does cause harmful interference to radio or television reception, which can be determined by turning the equipment off and on, the user is encouraged to try to correct the interference by one or more of the following measures:
- Reorient or relocate the receiving antenna.
- Increase the separation between the equipment and receiver.
- Connect the equipment into an outlet on a circuit different from that to which the receiver is connected.
- Consult the dealer or an experienced radio/TV technician for help.
Caution: Any changes or modifications to this device not explicitly approved by manufacturer could void your authority to operate this equipment.
This device complies with part 15 of the FCC Rules. Operation is subject to the following two conditions:
- This device may not cause harmful interference, and
- This device must accept any interference received, including interference that may cause undesired operation.
RF Exposure Information
This equipment complies with FCC radiation exposure limits set forth for an uncontrolled environment. This equipment should be installed and operated with minimum distance 20cm between the radiator and your body.



















