
User Manual
SDX600
FULL MOTION ANTI-THEFT SECURITY TV MOUNT
SDX600 Full Motion Anti Theft Security TV Mount

Supporting your digital lifestyle™
Thank you for choosing Kanto
Read these instructions fully before assembly and installation. If you do not understand these directions or have any doubts about the safety of the installation, please consult a qualified installation contractor. Make sure there are no defective or missing parts.
Do not use defective parts. Kanto cannot be liable for property damage or injury caused by incorrect mounting, incorrect assembly, lifting, or incorrect use of this product. If there is hardware missing, or if you are uncertain whether a part is defective, please contact Kanto directly using one of the methods below.
CAUTION
The maximum loading weight is 100 lb (45 kg). This mount is intended for use only with the maximum weights indicated.
Use with products heavier than the maximum weights indicated may result in instability causing possible injury. The wall you plan to affix the Kanto mount to must be able to support more than 5 times the weight of the television and the mount combined. Do not use this product for any purpose other than to mount a VESA-compliant TV on a vertical surface as outlined in this manual. Improper installation may cause damage to your TV or serious injury. This product should not be mounted on steel stud walls or cinder block walls. Consult a qualified installation contractor if you are unsure about the type of wall you may have.
1-888-848-2643

See the installation video online at: www.kantomounts.com/resources
Supplied Parts and Hardware


| Required Tools | Wood stud wall | Concrete wall |
![]() | ![]() | ![]() |
Project Overview
- Select TV Screws and Spacers
- Select Spacers for Irregular TVs
- Disassemble
- Attach TV Bracket
- Mount Wall Plate Assembly
IMPORTANT!: Please read this entire document before attempting assembly. - Til
- Hang TV
- Level IV
- Secure TV
- Manage Cables
If you have any problems or difficulties while following these instructions, please contact Kanto directly:
Email: [email protected]
Toll Free: US & Canada: 1-888-848-2643
Select TV Screws and Spacers

1.1 A–H Select Screws
The back of your TV has 4 screw holes in a square or rectangular pattern. This is where the mount will attach to your TV. Kanto provides several sizes and lengths of screws. This guide will help you select the right screws for your TV. You will only use 4 of the provided screws to attach your TV – the rest are not needed.

1.2 I–K Select Spacers
Plastic spacers are also provided in 3 thicknesses to allow the mount to work with curved TVs and TVs that have recessed mount holes, protrusions, or inputs in the way. They can also be used to prevent the TV screws from going too deep and damaging your TV. You may not need spacers for your TV.
Select Spacers for Irregular TVs


*Optional
Spacers can be used to provide clearance around protrusions on the back of your TV or to accommodate a curved TV. You may need to use longer screws.
Disassemble

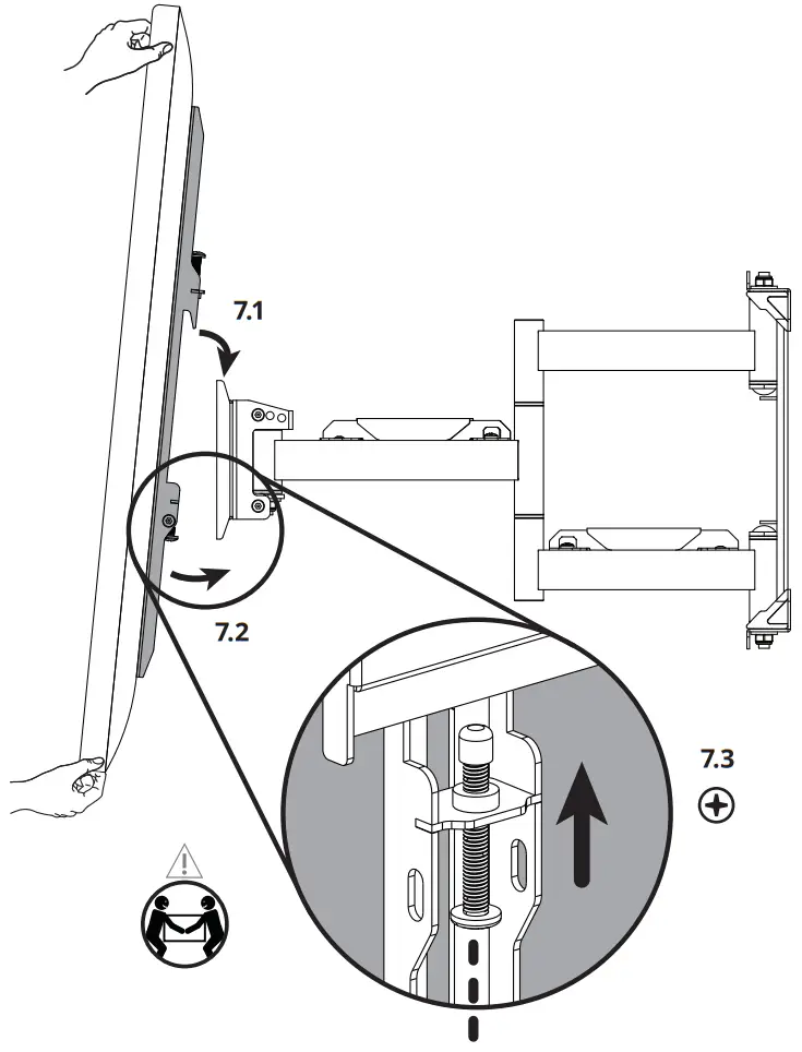
Attach TV Brackets
WARNING
Do not lay the TV face down on its front. Use a wall or TV stand.
Use whichever holes and slots work with your TV’s VESA pattern.
*Optional
†
Only applicable if using M4 / M5 / M6 screw
5a. Mount Wall Plate Assembly (Wood Stud Wall)


Mount height depends on TV size, viewing position, and personal preference.

CAUTION
Make sure the supporting surface will support the load limits outlined in the caution on page two. Tighten lag bolts (P) until the wall plate is snug against the wall. Do not over-tighten the lag bolts (P). Each lag bolt must be located in the middle of a wood stud.
5b. Mount Wall Plate Assembly (Concrete Wall)

Mount height depends on TV size, viewing position, and personal preference.
CAUTION
Make sure the concrete or brick wall is at least 4” thick. Make sure the anchor is seated completely flush with the concrete surface even if there is another layer of material, such as drywall. If drywall is over 5/8” thick, custom lag bolts must be used. Concrete must be a minimum of 2000 psi in density.
Tilt
* Adjust Arm Tension (Optional)

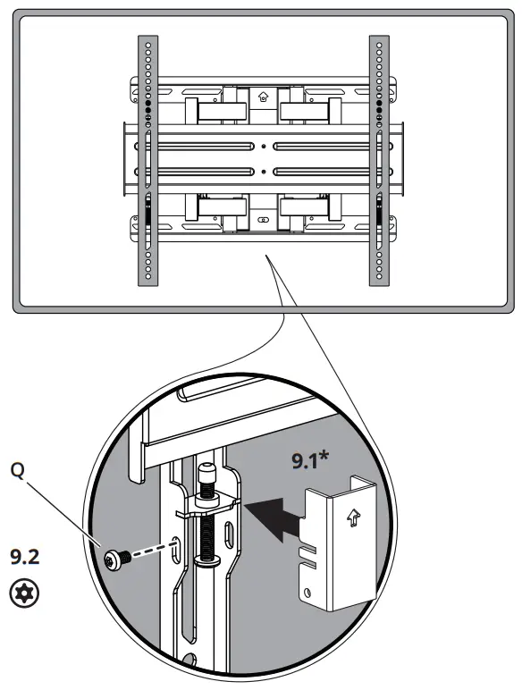
Hang TV

Level IV

CAUTION
As you adjust the top leveling screw, you will need to adjust the lower locking screw. Be sure to keep the locking screw engaged on the horizontal plate, especially when using the tilt feature.
Secure TV

- Two slots are provided on the security bracket. Use the slot that allows the highest position, depending on leveling adjustment.
Note: You can install the security screw on whichever side is easiest.
Manage Cables
Limited Warranty to Original Purchaser
Kanto Living Inc. (Kanto) warrants the equipment it manufactures to be free from defects in material for the limited warranty period of 5 years.
If equipment fails because of such defects and Kanto is notified within 5 years from the date of shipment with proof of original invoice from an authorized reseller, Kanto will, at its option, provide replacement parts or replace the equipment, provided that the equipment has not been subjected to mechanical, electrical, or other abuse or modifications. Any replacement parts or replacement units are warranted for 90 days from the day of reshipment to the original purchaser.
Customers will be responsible for obtaining a Return Authorization Number and paying shipping costs to return the product to a Kanto location or authorized depot. If the equipment is covered under the warranty provisions above, Kanto will replace parts or provide a replacement unit, and be responsible for shipping costs to the customer. Please keep the original packaging to prevent damage to the product during shipping. Insuring your shipment is also recommended.
The information in the manual has been carefully checked and is believed to be accurate. However, Kanto assumes no responsibility for any inaccuracies that may be contained in the manual. In no event will Kanto be liable for direct, indirect, special, incidental, or consequential damages resulting from any defect in the equipment, even if advised of the possibility of such damages. This warranty is in lieu of all other warranties expressed or implied, including without limitation, any implied warranty, including any warranty of merchantability and fitness for any particular purpose, all of which are expressly disclaimed.

www.kantomounts.com
[email protected]
Toll Free: 1-888-848-2643






![Kanto Full Motion Tv Mount Ldx690 User Manual [french] Kanto Full Motion Tv Mount Ldx690 User Manual [french]](https://static-data1.manualsee.com/1/img/8/48098/2021/01/Kanto-Full-Motion-TV-Mount-LDX690-User-Manual-French-1568x1568.jpg)















