kanto CM600SG Stainless Steel Outdoor TV Ceiling Mount

Product Information
- Product Name: CM600SG
- Material: Stainless Steel
- Load Capacity: 110 lb (50 kg)
- Model Number: 67050xx- 74500
- VESA Compliant
- Manufacturer: Kanto
- Warranty: 5 years
Product Usage Instructions:
- Select the appropriate spacers based on your TV’s requirements.
- Use the holes and slots that match your TV’s VESA pattern.
- Make sure the supporting surface can handle the weight and tighten the lag bolts until the plate is snug flat against the surface. Do not over tighten the lag bolts and make sure each lag bolt is located in the middle of a wood joist, beam, rafter or stud.
- Remove the covers and mount the plate assembly.
- Install the covers.
- Finalize adjustments as needed. Optional back tilt is only available with screw set in 0 degree position.
Caution: Make sure the supporting surface can handle the load limits outlined in the caution on page two of the user manual. Do not use concrete anchors in drywall or wood surfaces.
Note: The product comes with a limited warranty of 5 years to the original purchaser.
STAINLESS STEEL OUTDOOR TV CEILING MOUNT

Thank you for choosing Kanto
Read these instructions fully before assembly and installation. If you do not understand these directions, or have any doubts about the safety of the installation, please consult a qualified installation contractor. Make sure there are no defective or missing parts. Do not use defective parts. Kanto cannot be liable for property damage or injury caused by incorrect mounting, incorrect assembly, lifting or incorrect use of this product. If there is hardware missing, or if you are uncertain whether a part is defective, please contact Kanto directly using one of the methods below.
CAUTION
The maximum loading weight is 110 lb (50 kg). This mount is intended for use only with the maximum weights indicated. Use with products heavier than the maximum weights indicated may result in instability causing possible injury. The surface you plan to affix the Kanto mount to must be able to support more than 5 times the weight of the television and the mount combined. Do not use this product for any purpose other than to mount a VESA-compliant TV as outlined in this manual. Improper installation may cause damage to your TV or serious injury. This product should not be mounted on steel stud or cinder block surfaces. Do not install this product if you are unsure what kind of surface you may have or the load it can support. You are advised to consult a qualified installation contractor before installing this product.
- 1-888-848-2643
- [email protected]
- kantomounts.com/resources/cm600
Find product and installation resources online
Supplied Parts and Hardware


Project Overview
- Select TV Screws and Spacers
- Select Spacers for Irregular TVs
- Attach TV Brackets
- Remove Covers
- Mount Plate Assembly
- Install Covers
- Assemble TV Mount
- Hang and Secure TV
- Finalize Adjustments
- Level TV
- Manage Cables
IMPORTANT!: Please read this entire document before attempting assembly.
Select TV Screws and Spacers

A–G Select Screws
The back of your TV has 4 screw holes in a square or rectangular pattern. This is where the mount will attach to your TV. Kanto provides several sizes and lengths of screws. This guide will help you select the right screws for your TV. You will only use 4 of the provided screws to attach your TV – the rest are not needed.
Select Spacers for Irregular TVs

- Spacers can be used to provide clearance around protrusions on the back of your TV, or to accommodate a curved TV. You may need to use longer screws.
Attach TV Brackets
WARNING
- Do not lay the TV face down on its front. Use a wall or TV stand.

cont’d

Remove Covers

Mount Plate Assembly (Wood Surface)


CAUTION
- Make sure the supporting surface will support the load limits outlined in the caution on page two. Tighten lag bolts (O) until the plate is snug flat against the surface. Do not over tighten the lag bolts (O). Each lag bolt must be located in the middle of a wood joist, beam, rafter or stud.
Mount Plate Assembly (Concrete Surface)

CAUTION
- Make sure the concrete or brick surface is at least 4” thick. Make sure the anchor is seated completely flush with the concrete surface even if there is another layer of material, such as drywall. If drywall is over 5/8” thick, custom lag bolts must be used. Concrete must be a minimum of 2000 psi in density.
Install Covers

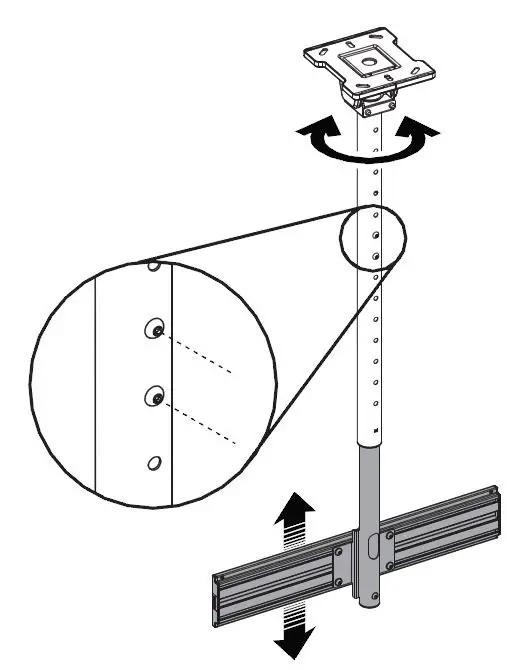
Assemble TV Mount


- Mount height depends on TV size, viewing position, and personal preference.

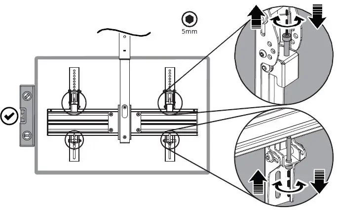
Hang and Secure TV

Finalize Adjustments

Level TV

Manage Cables

Limited Warranty to Original Purchaser
Kanto Living Inc. (Kanto) warrants the equipment it manufactures to be free from defects in material for the limited warranty period of 5 years. If equipment fails because of such defects and Kanto is notified within 5 years from the date of shipment with proof of original invoice from an authorized reseller, Kanto will, at its option, provide replacement parts or replace the equipment, provided that the equipment has not been subjected to mechanical, electrical, or other abuse or modifications. Any replacement parts or replacement units are warranted for 90 days from the day of reshipment to the original purchaser. Customers will be responsible for obtaining a Return Authorization Number and paying shipping costs to return product to a Kanto location or authorized depot. If the equipment is covered under the warranty provisions above, Kanto will replace parts or provide a replacement unit, and be responsible for shipping costs to the customer. Please keep the original packaging to prevent damage to the product during shipping. Insuring your shipment is also recommended. The information in the manual has been carefully checked and is believed to be accurate. However, Kanto assumes no responsibility for any inaccuracies that may be contained in the manual. In no event will Kanto be liable for direct, indirect, special, incidental, or consequential damages resulting from any defect in the equipment, even if advised of the possibility of such damages. This warranty is in lieu of all other warranties expressed or implied, including without limitation, any implied warranty, including any warranty of merchantability and fitness for any particular purpose, all of which are expressly disclaimed.
- www.kantomounts.com
- [email protected]
- Toll Free: 1-888-848-2643
















