
![]()
![]()
TELECOM SOLUTIONS FOR THE 21ST CENTURY
K-1500 Series
Stainless Steel
Panel Telephones
February 2, 2021
Vandal Resistant, Stainless Steel, Panel Telephones

K-1500-6A K-1500-7
The K-1500 Series provides simple vandal resistant, communication in a flush mount, stainless steel, panel telephone. The K-1500-7 and K-1500-6A work ideally with Viking’s DLE-200B line simulator or on a dedicated ringdown circuit. If dialing is necessary, use instead Viking’s K-1900-7. Alternatively, combine one of these K-1500 Series phones with a Viking K-1900-5 or K-1900-30 HotLine Dialer.
The K-1500 Series phones consist of a heavy gauge stainless steel panel, an armored cable, a heavy duty black hearing aid compatible amplified handset, and an all metal cradle. Both phones are designed to mount to a standard double gang electrical box.
Note: If a ringer is required, use an external unit such as the Viking SR-1 (DOD 477).
Features
- K-1500-6A: Now with heavy duty hookswitch and 14 gauge stainless steel faceplate
- Operates on C.O. lines or analog PABX/KSU stations
- Flush mounts to a standard double gang box
- Optional VE-5×10 Surface Mount Box (K-1500-7 only)
- Optional VE-9×20 Weatherproof Box (K-1500-7 only)
- Handset receiver volume adjustment
Phone…715.386.8861
[email protected]
http://www.vikingelectronics.com
Applications
- Ringdown phones
- Catalog sales
- Kiosks in malls
- Courtesy and customer service phones
- Automated tellers
- Security and emergency phones
- Hot-Line phone when used with a K-1900-5 Dialer (DOD# 317) or K-1900-30 Multi-Number Dialer (DOD# 300)
- Prison phone or point to point communication when used with the DLE-200B Line Simulator (DOD# 605)
Specifications
Power: Telephone line powered
Dimensions: K-1500-6A – 4.56” x 4.5” x 2.75” (116mm x 115mm x 70mm ), K-1500-7 – 5” x 10” x 4” (127mm x 254mm x 102mm)
Shipping Weight: K-1500-6A – 2 lbs (0.9 kg), K-1500-7 – 3.7 lbs (1.7 kg)
Environmental: 32°F to 90°F (0°C to 32°C ) with 5% to 95% non-condensing humidity
Connections: (2) gel-filled butt connectors
Panel Material: K-1500-6A – 0.074” thick stainless steel, K-1500-7 – 0.105” thick stainless steel
Handset Cable Length: 34” to 37” (86cm to 94cm)
Mounting: K-1500-6A – Flush mount to a standard double gang box, K-1500-7 – Flush mount to a standard double gang box or surface mount using optional VE-5×10 or VE-9×20
Installation
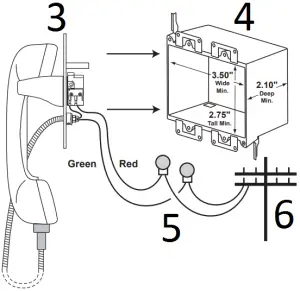
A. Installing the K-1500-6A
On the K-1500-6A, connect the CO line or extension directly to the red and green wires, using the supplied gel-filled butt connectors.



- Front View of the K-1500-6A
- (4) #6-32 x 3/4″ Stainless Steel Screws (included)
- Side View of the K-1500-6A
- “Old Work” Double Gang Box (not included)
- Gel-Filled Butt Connectors (included)
- C.O. Line or Analog PABX/KSU Station
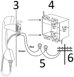
B. Installing the K-1500-7
The K-1500-7 can also be surface mounted using the optional VE-5×10 weather resistant surface mount box (DOD# 424, shown right). Note: Four extra screws and nuts are provided to fill the unused mounting holes. The optional VE-5×10 surface mount box is designed to be surface mounted to a wall, post or single gang box. The K-1500-7 can also be mounted in an optional VE-9×20 Weatherproof Enclosure (DOD# 413). On the K-1500-7, connect the CO line or extension directly to the red and green wires, using the supplied gel-filled butt connectors.

![]()


- Front View of the K-1500-7
- (8) #6-32 x 3/4″ Stainless Steel Screws (included)
- Side View of the K-1500-7
- “Old Work” Double Gang Box (not included)
- Gel-Filled Butt Connectors (included)
- C.O. Line or Analog PABX/KSU Station
- Optional VE-5×10 Surface Mount Box (not included)
Warranty
IF YOU HAVE A PROBLEM WITH A VIKING PRODUCT, CONTACT VIKING TECHNICAL SUPPORT AT: 715-386-8666
Our Technical Support Department is available for assistance Monday to Friday 8:00am – 5:00pm central time. So we can give you better service, before you call please:
- Know the model number, the serial number, and what software version you have (see serial label).
- Have the Product Manual in front of you.
- It is best if you are on site.
RETURNING PRODUCT FOR REPAIR
The following procedure is for equipment that needs repair:
- Customer must contact Viking’s Technical Support Department at 715-386-8666 to obtain a Return Authorization (RA) number. The customer MUST have a complete description of the problem, with all pertinent information regarding the defect, such as options set, conditions, symptoms, methods to duplicate problem, frequency of failure, etc.
- Packing: Return equipment in original box or in proper packing so that damage will not occur while in transit. The original product boxes are not designed for shipping – an overpack box is required to prevent damage in transit. Static sensitive equipment such as a circuit board should be in an anti-static bag, sandwiched between foam and individually boxed. All equipment should be wrapped to avoid packing material lodging in or sticking to the equipment. Include ALL parts of the equipment. C.O.D. or freight collect shipments cannot be accepted. Ship cartons prepaid to:
VIKING ELECTRONICS
1531 INDUSTRIAL STREET
HUDSON, WI 54016 - Return shipping address: Be sure to include your return shipping address inside the box. We cannot ship to a PO Box.
- RA number on carton: In large printing, write the RA number on the outside of each carton being returned.
RETURNING PRODUCT FOR EXCHANGE
The following procedure is for equipment that has failed out-of-box (within 10 days of purchase):
- Customer must contact Viking’s Technical Support at 715-386-8666 to determine possible causes for the problem. The customer MUST be able to step through recommended tests for diagnosis.
- If the Technical Support Product Specialist determines that the equipment is defective based on the customer’s input and troubleshooting, a Return Authorization (RA) number will be issued. This number is valid for fourteen (14) calendar days from the date of issue.
- After obtaining the RA number, return the approved equipment to your distributor. Please reference the RA number on the paperwork being shipped back with the unit(s), and also the outside of the shipping box. The original product boxes are not designed for shipping – an overpack box is required to prevent damage in transit. Once your distributor receives the package, they will replace the product over the counter at no charge. The distributor will then return the product to Viking using the same RA number.
- The distributor will NOT exchange this product without first obtaining the RA number from you. If you haven’t followed the steps listed in 1, 2 and 3, be aware that you will have to pay a restocking charge.
TWO YEAR LIMITED WARRANTY
Viking warrants its products to be free from defects in the workmanship or materials, under normal use and service, for a period of two years from the date of purchase from any authorized Viking distributor. If at any time during the warranty period, the product is deemed defective or malfunctions, return the product to Viking Electronics, Inc., 1531 Industrial Street, Hudson, WI., 54016. Customer must contact Viking’s Technical Support Department at 715-386-8666 to obtain a Return Authorization (RA) number.
This warranty does not cover any damage to the product due to lightning, over voltage, under voltage, accident, misuse, abuse, negligence or any damage caused by use of the product by the purchaser or others. This warranty does not cover non-EWP products that have been exposed to wet or corrosive environments. This warranty does not cover stainless steel surfaces that have not been properly maintained.
NO OTHER WARRANTIES. VIKING MAKES NO WARRANTIES RELATING TO ITS PRODUCTS OTHER THAN AS DESCRIBED ABOVE AND DISCLAIMS ANY EXPRESS OR IMPLIED WARRANTIES OR MERCHANTABILITY OR FITNESS FOR ANY PARTICULAR PURPOSE.
EXCLUSION OF CONSEQUENTIAL DAMAGES. VIKING SHALL NOT, UNDER ANY CIRCUMSTANCES, BE LIABLE TO PURCHASER, OR ANY OTHER PARTY, FOR CONSEQUENTIAL, INCIDENTAL, SPECIAL OR EXEMPLARY DAMAGES ARISING OUT OF OR RELATED TO THE SALE OR USE OF THE PRODUCT SOLD HEREUNDER.
EXCLUSIVE REMEDY AND LIMITATION OF LIABILITY. WHETHER IN AN ACTION BASED ON CONTRACT, TORT (INCLUDING NEGLIGENCE OR STRICT LIABILITY) OR ANY OTHER LEGAL THEORY, ANY LIABILITY OF VIKING SHALL BE LIMITED TO REPAIR OR REPLACEMENT OF THE PRODUCT, OR AT VIKING’S OPTION, REFUND OF THE PURCHASE PRICE AS THE EXCLUSIVE REMEDY AND ANY LIABILITY OF VIKING SHALL BE SO LIMITED.
IT IS EXPRESSLY UNDERSTOOD AND AGREED THAT EACH AND EVERY PROVISION OF THIS AGREEMENT WHICH PROVIDES FOR DISCLAIMER OF WARRANTIES, EXCLUSION OF CONSEQUENTIAL DAMAGES, AND EXCLUSIVE REMEDY AND LIMITATION OF LIABILITY, ARE SEVERABLE FROM ANY OTHER PROVISION AND EACH PROVISION IS A SEPARABLE AND INDEPENDENT ELEMENT OF RISK ALLOCATION AND IS INTENDED TO BE ENFORCED AS SUCH.
Product Support Line…715.386.8666 Fax Back Line…715.386.4345
Due to the dynamic nature of the product design, the information contained in this document is subject to change without notice. Viking Electronics, and its affiliates and/or subsidiaries assume no responsibility for errors and omissions contained in this information. Revisions of this document or new editions of it may be issued to incorporate such changes.
DOD# 352 Printed in the U.S.A. ZF300650 Rev G


















