
SORB HIGH-END FAN HEATER
OWNER’S MANUAL
(A)SORB…WCW
(A)SORB…MW
IMPORTANT INSTRUCTIONS
Before installing and using this product, you must read and understand these instructions and keep them for future reference.
If the installer and the user do not follow these instructions, the manufacturer cannot be held liable in any way and the warranty will be null and void.
The following instructions must be adhered to in order to avoid personal injuries or property damages, serious injuries, and potentially fatal electric shocks.
If the installer or the user modifies the unit, they will be held responsible for any damage resulting from this modification, and the CSA certification could be void.
INTENDED USE
For indoor installation only. Make sure the unit is appropriate for the intended use (if needed, refer to the product catalog or a representative).
RECOMMENDED HEATING CAPACITY: 1.25 W per ft (0.03 m ). This corresponds to 10 W per ft 2 (0.09 m²) based on a standard ceiling height of 8 ft (2.44 m). The recommended capacity is usually sufficient for normal heating needs. Please note that the insulation quality of walls and windows are some of the factors that influence heat losses, which modify the required capacity to heat a room. If needed, speak with a specialist (industrial and commercial buildings) who will be able to calculate these heat losses and optimize the required capacity, or consult the “Calculation Tools/ Heating Calculator” section of the °STELPRO Design website. If the unit capacity is insufficient for the size of the room, it will be in operation continuously and may become defective earlier and turn yellow.
POSITION
Do not install the unit where objects or pieces of furniture could be heat damaged. Respect the following distances and positions: This unit must be installed at least 6 in. (15 cm) from any adjacent surfaces and at least 6 in. (15 cm) from the floor. Keep combustible materials, such as furniture, pillows, bedding, papers, clothes, etc., and curtains at least 12 in. (90 cm) from the front of the heater and keep them away from the sides and rear. Some materials are more heat-sensitive than others, so make sure those near the unit can withstand heat. Do not install it on a wall behind a door. This unit has hot and arcing or sparking parts inside. It is not designed to be used or stored in wet areas or areas containing flammable liquids, combustible materials, or corrosive, abrasive, chemical, explosive, and flammable substances such as but not limited to, paint, gasoline, chlorine, sawdust, and cleaning products.
RISK OF FIRE, ELECTRIC SHOCK, BODILY INJURY, AND DAMAGE
This product must be installed by a qualified person and connected by a certified electrician, according to the electrical and building codes effective in your region. Protect the heating unit with the appropriate circuit breaker or fuse, in accordance with the nameplate. Make sure the line voltage (volts) is consistent with that indicated on the unit’s nameplate.
This unit must be grounded.
Switch off the power at the circuit breaker or fuse before installing, repairing, and cleaning the unit.
This unit must not come into contact with a water source and must be protected from splashes (e.g. splashes from a sink or shower). Do not use it if any part has been immersed. Moreover, do not turn it on or off when standing in water or if your hands are wet.
When starting up the unit for the first time or after a long period, it is normal that it produces some temporary odors.
Because this unit is hot when in use, it may pose risks even in normal operation. Therefore, be careful and responsible when using it. To avoid burns, do not let bare skin touch hot surfaces.
The unit must cool down for a few minutes since it will stay warm for some time after shutting down.
Extreme caution is necessary when any heater is used by or near children or invalids and whenever the heater is left operating and unattended.
Do not insert or allow foreign objects to enter any ventilation or exhaust opening as this may cause an electric shock or fire, or damage the heater.
MAINTENANCE
To prevent a possible fire, do not block air intakes or exhaust in any matter.
Some areas are dustier than others. Thus, it is the user’s responsibility to evaluate if the unit must be cleaned based on the amount of dirt accumulated on and inside air vents. Accumulated dirt can lead to a component malfunction or give a yellowish color to the unit. Failure to install and maintain the unit in accordance with these instructions poses a fire hazard.
Thermal protection activation indicates that the unit has been subjected to abnormal operating conditions. If the thermal protection remains activated it is recommended that a qualified electrician or a certified repair center examine the unit in order to make sure it is not damaged. (Refer to the limited warranty.)
If the unit is damaged or defective, discontinue use, cut off the power supply at the circuit breaker or fuse, and have it repaired at a certified repair center. (Refer to the limited warranty.)
SAVE THESE INSTRUCTIONS
INSTALLING THE FAN HEATER
TO ENSURE A SAFE AND EASY INSTALLATION, TAKE A FEW MINUTES TO READ THIS INSTALLATION GUIDE.
WHAT’S IN THE BOX
TOOLS REQUIRED
CONTROL AND COMPATIBILITY
You can control your ORLÉANS fan heater in multiple ways:
| SPECIFICATIONS | (A)SORB…WCW | (A)SORB…MW | |
| Type of thermostat | With a MAESTRO thermostat† or any other compatible wall thermostat that can handle the fan heater’s power | With its built-in electronic smart thermostat | |
| Power in NORMAL mode | 1500 W | 2000/1500 or 1000/750 W* | 1000/750 W* |
| Power in BOOST mode | N/A | 2000/1500 W* | |
| Required voltage | 120 V | 240/208 V | 240/208 V |
| Device weight | 9.4 lb / 4.3 kg | ||
| Storage temperature | -40 to 50 °C (-40 to 122 °F) | ||
| Operating temperature | -20 to 50 °C (-4 to 122 °F) The efficiency of the thermostat’s built-in LCD display may be reduced below 0 °C (32 °F) | ||
| Relative humidity | 5% to 95% without condensation | ||
| Zigbee connectivity | N/A | IEEE 802.15.4 protocol | |
Your ORLÉANS fan heater harmonizes with the MAESTRO environment through its built-in thermostat (depending on the model) or a MAESTRO wall thermostat. By integrating your ORLÉANS fan heater into a Zigbee network controlled by the thermostat controller and the MAESTRO mobile application, you can optimize your comfort.
*Depending on the power selector position.
WARNING: This product must be installed by a certified electrician according to the electrical and building codes effective in your region.
WHERE TO INSTALL YOUR ORLÉANS FAN HEATER
Install your fan heater in an unobstructed location at least 6 in. (15 cm) off the ground.
TIP: You can access the fan heater’s controls more easily if you install it 10 in. (25 cm) off the ground.
Make sure that objects or furniture near the heater can withstand the heat it gives off.
Do not install the heater on a wall behind a door.
If a piece of furniture is nearby, make sure the fan heater will not impede the opening of its drawers or doors.
WARNING: To avoid any risk of overheating, leave a clearance of at least 12 in. (30 cm) in front of the fan heater and 6 in. (15 cm) on either side of it. No objects or furniture, such as, but not limited to, blankets, towels, a bed, a laundry basket, clothing, papers, etc., should come into contact with the fan heater. Keep these items at least 12 in. (30 cm) away from it.
It is not designed to be used or stored in wet areas or areas containing flammable liquids, combustible materials, or corrosive, abrasive, chemical, explosive, and flammable substances such as, but not limited to, paint, gasoline, chlorine, sawdust and cleaning products.
THE UNIT MUST NOT BE INSTALLED UPSIDE DOWN OR SIDEWAYS.
CUTTING THE POWER SUPPLY
To protect yourself from the risk of electric shock, turn off the power to the lead wires from the electrical panel.
PREPARING THE SURFACE FOR INSTALLATION
- Locate the studs and any other structures that might be inside the wall.
- For a recessed installation, make an opening as shown in the diagram. For a more secure installation, attach one side of the unit to a stud.
NOTE: Avoid using an exterior wall for recessed installations as this decreases the wall’s insulation. - To determine where to install the unit on the wall, use the back box as a guide. For a sturdier installation, align one side of the fan heater on a stud, as shown in the illustration.
- Pull the power cable out of the wall. You will need at least 6 in. of cable inside the junction box to connect the unit’s wires easily.

PREPARING THE FAN HEATER
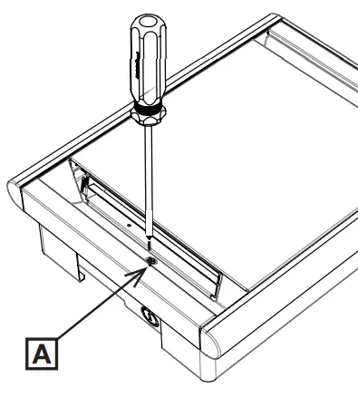
- Remove the screw [A] located at the bottom of the fan heater and keep it in a safe place.

- Swivel the front panel upwards as shown in the illustration to completely separate it from the housing. Place the front of the fan heater on a clean surface where it cannot be damaged.

- Remove the screw [B] and the junction box cover [C]. Keep them in a safe place.

- Punch in one of the three knockouts [D] with a flat screwdriver. Choose the hole to use according to the position of the power cable in the wall and the space available.
- Place the cable clamp [E] provided in the hole you just knocked out. Insert the power cable into the cable clamp.

INSTALLING THE FAN HEATER
FOR A RECESSED FAN HEATER INSTALLATION
- Insert the fan heater into the hole made in the wall and mark the position of the screws according to the mounting holes [F]. Make sure the fan heater is level.
- Install the appropriate brackets to secure the fan heater (4.3 kg or 9.4 lb) according to the type of wall. Use at least two of the three mounting holes [F] on either side of the unit.
- Screw the fan heater into place.

FOR A WALL MOUNT FAN HEATER INSTALLATION
- Place the fan heater against the wall and mark the position of the screws according to the mounting holes [G] at the back of the unit. Make sure the fan heater is level.
- Install the appropriate brackets to secure the fan heater (4.3 kg or 9.4 lb) according to the type of wall. Use all mounting holes [G] on either side of the unit.
- Screw the fan heater into place.

CONNECTING THE WIRING
- If needed, strip the power cable wires [A] with a wire stripper.
- Connect the grounding wire [B] firmly with the green screw [C] provided for this purpose, located at the bottom of the housing.
- Connect the fan heater [D] and power supply wires according to the connection diagram with the supplied connector- tion caps [E]. Tighten caps on the wires to make sure the connections are secure.
WARNING: Use copper or aluminum wires only. Use supply wires suitable for 90 °C (194 °F).
- Then place all the wires in the junction box. Replace the junction box cover [F] and insert the screw [G] to hold it in place.

NOTE: If this unit will be controlled by a wall-mounted thermostat (without an integrated thermostat), use the switch [H] above the motor to select the desired power. The required power depends on the size of the room to be heated and represents approximately 1.25 W per cubic foot (0.03 per m 3 ). The power requirement may vary depending on a number of factors. See warnings for more details.
ATTACHING THE FRONT PANEL
- Put the front cover back on by first hooking on the top part, then swiveling the bottom part down.
- Tighten the screw [A] to secure the front panel.

TURNING THE POWER BACK ON
- Restore power to the fan heater and make sure the fan heater works by raising the temperature until the unit starts to heat.
- See the section Using the fan heater, to get the most out of your unit.

WARNING: You must set the wall thermostat to fan heater mode as soon as you restore power. If the thermostat stays in baseboard mode, the fan heater will run intermittently and may overheat.
USING THE FAN HEATER WITH BUILT-IN THERMOSTAT
WARNING: Before using your fan heater, make sure that it has been installed by a certified electrician in accordance with the electrical and building codes in your area.
Do not operate without a front panel.
The following sections outline how to control the fan heater with its built-in electronic thermostat. ((A)SORB…MW)
BUILT-IN THERMOSTAT INTERFACE
Zigbee connectivity icon
Unit overheating icon- MIN Displays the time remaining in BOOST mode
- MENU Advanced menus indicator

Buttons are used to raise or lower the temperature setpoint. Also used to navigate the advanced menus.
Control lock icon
Low-temperature setpoint icon (7 °C [45 °F] or less)/open window detected (flashing icon)- Ambient room temperature (or temperature setpoint, if the display is flashing). In BOOST mode, displays the time remaining in this mode.
Backlighting menu indicator
Heating power segments:
| • 0 segments: 0 % | • 3 segments: 41-60 % |
| • 1 segment: 1-20 % | • 4 segments: 6 1-80 % |
| • 2 segments: 21-40 % | • 5 segments: 81-100 % |
11.
BOOST button
BUTTON CONTOUR COLOURS
The color of the buttons indicates a variety of information, including energy consumption.
| BUTTONS | STATUS | MEANING |
| Green | Energy-saving setpoint temperature | |
| Between green and red | Setpoint temperature is more focused on energy saving or comfort, depending on whether the color is closer to green or red | |
| Red | Comfort-focused setpoint temperature | |
| Flashing blue | Open window detected | |
| White | While in advanced menus | |
| Gray | The display has been inactive for more than 15 seconds / Stand-by mode disabled (OFF) | |
| BOOST button red | BOOST mode activated |
DEFINING THE FAN HEATER’S TEMPERATURE SETPOINT
The built-in thermostat has two buttons that let you choose the temperature setpoint.
By default, the temperature setpoint is 19 °C (66 °F).
- Press
or
once. The temperature setpoint will flash to indicate it can be modified. - Use the
or
buttons to define the temperature setpoint. If you hold one button for more than 1 second, the temperature will change quickly. - When the desired temperature setpoint is reached, release the button. The temperature will flash for 3 seconds before being saved.
Once the temperature setpoint is saved, the ambient temperature will display on the screen.
NOTE: If the fan heater must start to reach the temperature setpoint,
the icon will indicate the intensity of its functioning.
If the temperature setpoint is lower or equal to 7 °C (45 °F), the
icon will display to show a low setpoint.
If there is a difference of 4 °C (7 °F) or more between the setpoint temperature and the ambient temperature, the fan heater will automatically switch to a higher speed and power to meet the setpoint temperature more quickly.
USING BOOST MODE
BOOST mode allows you to increase room temperature quickly for a given period of time. When you use BOOST mode, the fan heater operates at a higher speed and power to increase room temperature quickly. When the desired temperature is reached, the power decreases, but the fan heater maintains the BOOST mode setpoint temperature.
By default, BOOST mode is set to 30 °C (86 °F). To learn how to change it, see Defining the setpoint temperature for BOOST mode.
To activate BOOST mode:
- Press the
button. The minimum BOOST mode run time (10 min.) will appear on the screen. - Press the
button again to increase the BOOST mode run time (20, 30, or 60 minutes).
The fan heater will operate in BOOST mode for the
run time and the button will light up in red.
NOTE: If you press
or
while the fan heater is in BOOST mode, the BOOST mode setpoint temperature will flash for three seconds, but you cannot change it.
To turn off BOOST mode before the end of the selected time, press the
button.
NAVIGATING THE ADVANCED MENUS
The advanced menus make it possible to use the advanced options and configure the thermostat’s settings.
| Access advanced menus | >>> | Hold 3 sec. |
| Navigate the menus to select the desired option | >>> | |
| Confirm the selection | >>> | |
| Quit advanced menus | >>> | Hold 3 sec. |
Note: The selection is automatically confirmed after 30 seconds of inactivity, except for selections made in menus 1 Zigbee connectivity and 7.7 Resetting the thermostat’s default settings.
| MAESTRO BUILT-IN ELECTRONIC SMART THERMOSTAT | |
| Menu 1 | Zigbee connection settings |
| Menu 2 | Temperature display unit settings (°C or °F ) |
| Menu 3 | Nightlight mode (backlight settings) |
| Menu 4 | Locking/Unlocking keypad settings |
| Menu 5 | Open window detection settings |
| Menu 6 | Setting the BOOST mode setpoint temperature |
| MAESTRO | BUILT-IN ELECTRONIC SMART THERMOSTAT |
| Menu 7 | °STELPRO information 7.1: Fan heater version 7.2: Zigbee radio version 7.3: Date manufactured 7.4: Month manufactured 7.5: Year manufactured 7.6: Internal control code 7.7: Reset the thermostat to its default settings |
Connecting the thermostat to your Zigbee network
The fan heater’s thermostat is compatible with the Zigbee smart home protocol. To control it, you must connect it to your network from the MAESTRO smart controller- a thermostat or a Zigbee-compatible controller.
- Access menu 1, Zigbee connection
. - Select the auto-connect option (ON) or your Zigbee network channel.
- Confirm your selection. While the connection is being established, the selection flashes rapidly and the icon
lights up.
When the connection is established, the channel number is displayed on the screen.
If the connection cannot be established, the Err message is displayed for 3 seconds, then the OFF message appears.
Disconnecting the thermostat from the Zigbee network
You may need to disconnect the thermostat from your Zigbee network, if you change controllers or channels, for example.
To disconnect the thermostat from the Zigbee network:
- Access menu 1, Zigbee connection
. - Select the OFF option.
- Confirm the selection. During disconnection, OFF will flash rapidly and the
icon will light up.
Once disconnection is complete, OFF will display on the screen for a few seconds.
Selecting the temperature display unit (°C or °F)
By default, the temperature displays in degrees Celsius for SORB models and in degrees Fahrenheit for ASORB models. To change the temperature display unit:
- Access menu 2.
- Select °C or °F.
- Confirm the selection.
Configuring the Nightlight mode
The screen and the thermostat buttons are backlit. If you press a button, the backlight turns on at 100% brightness and the buttons are illuminated.
You can configure Nightlight mode to determine the behavior of the buttons and the display after a period of inactivity of 15 seconds:
NOTE: Regardless of the chosen setting, the screen backlight and buttons will be at 100% brightness if there’s a problem with the Zigbee network or if an open window or overheating has been detected.
- Access menu 3, Nightlight mode setting
. - Select:
– ALL: The buttons are illuminated, but the screen backlight dims.
– BTN: The buttons are illuminated, but the screen backlight turns off.
– OFF: The buttons are grey, and the screen backlight turns off. - Confirm the selection.
Locking or unlocking the built-in thermostat’s keypad
You can lock the thermostat keypad to prevent the temperature setpoint from being changed directly on the thermostat. By default, the thermostat keypad is unlocked.
NOTE: Even when the buttons are locked, the setpoint temperature can be remotely controlled if connected to a Zigbee network.
- Access menu 4
. - Select ON to lock or OFF to unlock the keypad.
- Confirm the selection.
When the keypad is locked, the
icon displays on the thermostat’s home screen.
Activating or deactivating open window detection
The thermostat can detect if a window is open in the room where the fan heater is located. It will automatically adjust the temperature setpoint to 7 °C (45 °F) to avoid heating the room unnecessarily.
When an open window is detected, the icon
and
buttons
and flash, then turn blue.
When the device detects that the window is closed, the temperature setpoint will return to its previous state.
To activate or deactivate open window detection:
- Access menu 5, Open window detection.
- Select ON to activate or OFF to deactivate open window detection
. - Confirm the selection.
Defining the BOOST mode setpoint temperature
By default, the BOOST mode setpoint temperature is 30 °C (86 °F). To change the setpoint temperature:
- Access menu 6 (MIN icon).
TIP: Press the
button for three seconds to access menu 6 directly. - Adjust the setpoint temperature.
- When the desired setpoint temperature is reached, confirm the selection.
Resetting the thermostat to its default settings
WARNING: All settings will be reset to their default values, and the connection to the Zigbee network will be deleted.
To reset the thermostat (restore its default settings):
- Access the °STELPRO menu.
- Press
+
buttons simultaneously to access the sub-menu. - Use the
or
buttons to access the sub-menu 7.7. - When “DEF” appears, press the
+
buttons simultaneously to access the next sub-menu. - Select YES.
- Confirm the selection.
The YES message may flash on the screen for a few seconds, then the thermostat will be reconfigured with its default settings.
ALERTS DISPLAYED ON THE BUILT-IN THERMOSTAT’S SCREEN
| ALERTS | POSSIBLE CAUSES AND SOLUTIONS |
| The fan heater is overheating, and the thermal protection has been tripped. See “Restarting the fan heater after the thermal protec- tion is triggered”. |
LO | The room temperature is below 0 °C (32 °F). The heating will remain active until the temperature reaches the setpoint. The LO message will disappear when the temperature reaches 0 °C (32 °F). |
HI | The room temperature exceeds 50 °C (122 °F). Heating will remain inactive. The HI message will disappear when the temperature reaches 50 °C (122 °F). |
— | The thermostat cannot measure the temperature (the temperature sensor is defective). The heating will remain inactive. Contact Stelpro Customer Service. |
E1 | The auxiliary temperature sensor is defective. The device will still control the temperature, but it will not be optimal. Contact Stelpro Customer Service. |
| The thermostat has detected an open window. Close the window or deactivate open window detection. |
| There’s a problem with the thermostat’s Zigbee network. Reset the thermostat and reconnect it to your Zigbee network. See Reset- ting the thermostat to its default settings and Connecting the thermostat to your Zigbee network. |
Err | The Zigbee network connection has failed. Make sure the device is close enough to the Zigbee controller and that the controller is in “Connection” mode. Then, try to connect again. |
TROUBLESHOOTING THE FAN HEATER
The following table outlines the most common issues and alerts you could experience with your fan heater.
If your problem is not listed in the table below or the proposed solution does not solve the problem, turn the power off and contact our customer service team.
WWW.STELPRO.COM
[email protected]
1-844-STELPRO
| PROBLEM/ALERT | POSSIBLE CAUSE AND SOLUTION |
| The fan heater is not operational after installation. | • Check whether the fan heater’s wiring is correctly connected and that the caps are tightened firmly. (See Connecting the wiring, page 6). • Make sure that the circuit breaker corresponding to the heating system in the electrical panel is closed (ON). • If the problem persists, the thermostat may be defective. Contact STELPRO Customer Service. |
| The breaker goes off when the fan heater starts. | • Check whether the fan heater’s wiring is correctly connected. See Connecting the wiring, page 6. • Make sure the voltage supplied is adequate (see the nameplate). • Make sure the circuit breaker or fuse is adequate for the requested power. |
| The temperature setpoint is never reached. | • Make sure the voltage supplied is adequate (see the nameplate). • Make sure the unit is powerful enough for the size of the room. • The fan heater’s thermal protection has been triggered. Restart the fan heater (see Restarting the fan heater after the thermal protection is triggered, p. 13). • If a wall thermostat controls the fan heater, make sure it isn’t defective. • If none of the solutions above work, one or more of the heating elements may be defective. Contact STELPRO Customer Service. |
| The fan heater is operating continuously. | • The built-in thermostat can control residual heating to maintain the temperature once the setpoint temperature is reached. The fan heater may operate continuously for long periods of time without stopping; this is normal behaviour. • If the fan heater never stops, the thermostat or timer may be defective. Contact STELPRO Customer Service. |
| The ambient temperature is too high. | • The fan heater may temporarily heat beyond the setpoint temperature but will never exceed it by more than 1 °C (2 °F). • Make sure that the heater is not oversized for the room. • If the problem persists, the thermostat may be defective. Contact STELPRO Customer Service. |
| Heating is not operational. | • The fan heater’s thermal protection has been triggered. Restart the fan heater (see Restarting the fan heater after the thermal protection is triggered, p. 13). • Check if an open window has been detected. If so, close the window. • Make sure the temperature setpoint is not too low. • Check whether the fan heater’s wiring is correctly connected. See Connecting the wiring, page 6. • If the problem persists, the thermostat or one of the heating elements may be defective. Contact STELPRO Customer Service. |
| The heating stops, but the fan continues to run. | • The fan heater is overheating, and the thermal protection has been triggered. Restart the fan heater (see Restarting the fan heater after the thermal protection is triggered, p. 13). • If the problem persists, it is possible an internal component is defective. Contact STELPRO Customer Service. |
| With a wall thermostat: the fan heater turns on and off frequently. | • Make sure the wall thermostat is in fan mode. |
| The temperature setpoint cannot be changed on the built-in thermostat (the buttons do not respond, except to access the advanced menus). | • Disable lock mode. • BOOST mode is enabled. Wait for it to finish its cycle or deactivate it. |
RESTARTING THE FAN HEATER AFTER THE THERMAL PROTECTION IS TRIGGERED
In the event of overheating, the unit’s thermal protection will trigger to prevent damage. When this happens, heating is switched off, but ventilation continues to evacuate heat, which is considered ventilation without heat. Once the thermal protection is triggered, you must restart the fan heater to resume normal operation: NOTE: If the fan heater has a built-in thermostat, the icon will appear on the display.
With a wall thermostat
- Switch off the power supply to the fan heater directly at the electrical panel or lower the setpoint temperature sufficiently to stop the heating demand.
- Find the cause of the overheating and eliminate it. For instance, make sure no objects are blocking the air inlets and outlets and that they are clean.
- Wait 10 minutes, then turn the power back on or turn up the setpoint temperature.
With a built-in thermostat
When the thermal protection is triggered, the fan heater automatically makes up to three restart attempts.
- Find the cause of the overheating and eliminate it. For instance, make sure no objects are blocking the air inlets and outlets and that they are clean. If the cause of the overheating is removed during automatic restarts, the unit will start heating again.
- If, after its three restart attempts, the fan heater does not start heating again, press any of the three buttons to manually restart it.
If you do not identify the cause of the overheating or if the fan heater doesn’t begin heating again after a restart, it means an internal component may be defective, or an additional thermal protection device has been triggered. In this case, contact Stelpro’s customer service department.
MAINTAINING THE FAN HEATER
FOR THE WARRANTY TO BE VALID, THE FAN HEATER’S AIR INLET AND OUTLET MUST BE CLEANED REGULARLY.
WARNING: Cut off the power at the breaker or fuse before cleaning the unit. High voltage and the risk of electric shock are present in the unit even if the thermostat is set to off. Therefore, you can receive an electrical shock as long as the unit is under power.
Over time, cigarette smoke may cause the outlet grill to yellow. The best way to prevent yellowing is to clean the unit regularly.
Dust the front panel with a soft cloth and clean it with a damp cloth only.
If you use cleaning products, they could cause the heater to yellow. If the unit is installed in a very dusty location, use the dust brush of a vacuum cleaner to remove dust and other foreign objects.
When maintaining the product, never use:
- A brush or metal scrubbing pad
- Chlorine
- Abrasive cleaning products
- Hydrochloric acid-based products such as bleach
- Any other cleaning products that bear the following symbols:
![]()
TECHNICAL INFORMATION
| Built-in control device | |
| Thermistor used as a sensor that does not carry a charge | |
| Software | Class A |
| Nature of supply | Device for alternating current only |
| Type of controlled load | Resistive |
| Action | Type 1.Y |
| Control pollution degree | 2 |
| Frequency | 60 Hz |
| Overload protection device | Current circuit breaker external to the control (refer to local electrical code) |
| Rated impulse voltage | Overvoltage category II (1500 V) |
STELPRO LIMITED WARRANTY
This limited warranty is offered by STELPRO Design inc. (“ STELPRO”) and applies to the following product made by STELPRO: SORB model. Please read this limited warranty carefully. Subject to the terms of this warranty, STELPRO warrants its products and their components against defects in workmanship and/or materials for the following periods from the date of purchase: 5 years (3 years on electronic components). This warranty applies only to the original purchaser; it is non-transferable and cannot be extended.
CLAIM PROCEDURE
If at any time during the warranty period the unit becomes defective, you must cut off the power supply at the main electrical panel and contact 1) your installer or distributor, 2) your service center or 3) STELPRO’s customer service department. In all cases, you must have a copy of the invoice and provide the information written on the product nameplate. STELPRO reserves the right to examine or to ask one of its representatives to examine the product itself or any part of it before honoring the warranty. STELPRO reserves the right to replace the entire unit, refund its purchase price or repair a defective part. Please note that repairs made within the warranty period must be authorized in advance in writing by STELPRO and carried out by persons authorized by STELPRO. Before returning a product to STELPRO, you must have a STELPRO authorization number (RMA). To obtain it, call the customer service department at 1-844-STELPRO. The authorization number must be clearly written on the parcel or it will be refused.
CONDITIONS, EXCLUSIONS, AND DISCLAIMER OF LIABILITY
This warranty is exclusive and in lieu of all other representations and warranties (except of title), expressed or implied, and STELPRO expressly disclaims and excludes any implied warranty of merchantability or implied warranty of fitness for a particular purpose.
STELPRO’s liability with respect to products is limited as provided above. STELPRO shall not be subject to any other obligations or liabilities whatsoever, whether based on contract, tort or other theories of law, with respect to goods or services furnished by it, or any undertakings, acts or omissions relating thereto. Without limiting the generality of the foregoing, STELPRO expressly disclaims any liability for property or personal injury damages, penalties, special or punitive damages, damages for lost profits, loss of use of equipment, cost of capital, cost of substitute products, facilities, or services, shutdowns, slowdowns, or for other types of economic loss or for claims of a dealer’s customers or any third party for such damages. STELPRO specifically disclaims all consequential, incidental, and contingent damages whatsoever.
This warranty does not cover any damages or failures resulting from 1) a faulty installation or improper storage; 2) an abusive or abnormal use, lack of maintenance, improper maintenance (other than that prescribed by STELPRO), or use other than that for which the unit was designed; 3) a natural disaster or an event out of STELPRO’s control, including, but not limited to, hurricanes, tornadoes, earthquakes, terrorist attacks, wars, overvoltage, flooding, water damages, etc. This warranty does not cover any accidental or intentional losses or damages nor does it cover damages caused by the negligence of the user or owner of the product. Moreover, it does not cover the cost of disconnection, transport, and installation.
The warranty is limited to the repair or the replacement of the unit or the refund of its purchase price, at the discretion of STELPRO. Any parts replaced or repaired within the warranty period with the written authorization of STELPRO will be warranted for the remainder of the original warranty period. This warranty will be considered null and void and STELPRO will have the right to refuse any claims if products have been altered without the written authorization of STELPRO and if the nameplate numbers have been removed or modified. This warranty does not cover scratches, dents, corrosion or discoloration caused by excessive heat, chemical cleaning products and abrasive agents. It does not cover any damage that occurred during the shipping.
Some states and provinces do not allow the exclusion or limitation of incidental or consequential damages and some of them do not allow limitations on how long an implied warranty lasts, so these exclusions or limitations may not apply to you. This warranty gives you specific legal rights and you may have other rights which vary from state to state or from province to province.
STELPRO DESIGN INC.
Saint-Bruno-de-Montarville, Québec, Canada, J3V 6L7
THANK YOU FOR YOUR PURCHASE!
QUESTION? PROBLEM? CONTACT STELPRO CUSTOMER SERVICE.
WWW.STELPRO.COM
[email protected]
1-844-STELPRO![]()




























