
OWNER’S MANUAL
ASSO SERIES
ASSOH SERIES

THANK YOU FOR YOUR PURCHASE!
QUESTION? PROBLEM? CONTACT STELPRO CUSTOMER SERVICE.
WWW.STELPRO.COM
[email protected]
1-844-STELPRO

![]()
IMPORTANT INSTRUCTIONS
Before installing and using this product, you must read and understand these instructions and keep them for future reference. If the installer and the user do not follow these instructions, the manufacturer cannot be held liable in any way and the warranty will be null and void.
The following instructions must be adhered to in order to avoid personal injuries or property damages, serious injuries, and potentially fatal electric shocks.
If the installer or the user modifies the unit, they will be held responsible for any damage resulting from this modification, and the CSA certification could be void.
INTENDED USE
For indoor installation only.
Make sure the unit is appropriate for the intended use (if needed, refer to the product catalog or a representative). RECOMMENDED HEATING CAPACITY: 1,25 W per ft³(0.03 m³). This corresponds to 10 W per ft² (0.09 m²) based on a standard ceiling height of 8 ft (2.44 m). The recommended capacity is usually sufficient for normal heating needs. Please note that the insulation quality of walls and windows are some of the factors that influence heat losses, which modify the required capacity to heat a room. If needed, speak with a specialist (industrial and commercial buildings) who will be able to calculate these heat losses and optimize the required capacity or consult the “Calculation
Tools/Heating Calculator” section of the °STELPRO Design website.
If the unit capacity is insufficient for the size of the room, it will be in operation continuously and may become defective earlier and turn yellow.
POSITION
Do not install the unit where objects or pieces of furniture could be heat damaged.
Respect the following distances and positions: This unit must be installed at least 6 in. (15 cm) from any adjacent surfaces and at least 6 in. (15 cm) from the floor. Keep combustible materials, such as furniture, pillows, bedding, papers, clothes, etc., and curtains at least 36 in. (90 cm) from the front of the heater and keep them away from the sides and rear. Some materials are more heat-sensitive than others, so make sure those near the unit can withstand heat. Do not install on a wall behind a door.
This unit has hot and arcing or sparking parts inside. It is not designed to be used or stored in wet areas or areas containing flammable liquids, combustible materials, or corrosive, abrasive, chemical, explosive and flammable substances such as, but not limited to, paint, gasoline, chlorine, sawdust, and cleaning products.
RISK OF FIRE, ELECTRIC SHOCK, BODILY INJURY, AND DAMAGE
This product must be installed by a qualified person and connected by a certified electrician, according to the electrical and building codes effective in your region.
Protect the heating unit with the appropriate circuit breaker or fuse, in accordance with the nameplate.
Make sure the line voltage (volts) is consistent with that indicated on the unit’s nameplate.
This unit must be grounded.
Switch off the power at the circuit breaker or fuse before installing, repairing, and cleaning the unit.
This unit must not come into contact with a water source and must be protected from splashes (e.g., splashes from a sink or shower). Do not use it if any part has been immersed. Moreover, do not turn it on or off when standing in water or if your hands are wet.
When starting up the unit for the first time or after a long period, it is normal that it produces some temporary odors.
Because this unit is hot when in use, it may pose risks even in normal operation. Therefore, be careful and responsible when using it. To avoid burns, do not let bare skin touch hot surfaces. The unit must cool down for a few minutes since it will stay warm for some time after shut down.
Extreme caution is necessary when any heater is used by or near children or invalids and whenever the heater is left operating and unattended.
Do not insert or allow foreign objects to enter any ventilation or exhaust opening as this may cause an electric shock or fire, or damage the heater.
MAINTENANCE
To prevent a possible fire, do not block air intake or exhaust in any matter.
Some areas are dustier than others. Thus, it is the user’s responsibility to evaluate if the unit must be cleaned based on the amount of dirt accumulated on and inside air vents.
Accumulated dirt can lead to a component malfunction or give a yellowish color to the unit. Failure to install and maintain the unit in accordance with these instructions poses a fire hazard.
Thermal protection activation indicates that the unit has been subjected to abnormal operating conditions. If the thermal protection remains activated it is recommended that a qualified electrician or a certified repair center examine the unit in order to make sure it is not damaged. (Refer to the limited warranty.)
If the unit is damaged or defective, discontinue use, cut off power supply at circuit breaker or fuse, and have it repaired at a certified repair center. (Refer to the limited warranty.)
SAVE THESE INSTRUCTIONS
INSTALLING THE FAN HEATER
TO ENSURE A SAFE AND EASY INSTALLATION, TAKE A FEW MINUTES TO READ THIS INSTALLATION GUIDE.
WHAT IS IN THE BOX

TOOLS REQUIRED

CONTROL AND COMPATIBILITY
You can control your Sonoma fan heater in multiple ways:
| ASSO(H)XXVVWC(WBB)C* | ASSO(H)XXVVT2(WBB)C* | ASSOXXVVT2T(WBB)C* |
| With a Maestro thermostat or any other compatible wall thermostat that: • Has a fan heater mode • Can handle the fan heater’s power (see the product nameplate) | With its integrated mechanical thermostat | With its integrated mechanical thermostat and timer |
* XX: POWER (10 = 1000W, 15 = 1500 W, 20 = 2000W)
VV: VOLTAGE (01 = 120V, 02 = 240V, 08 = 208V)
WC: MODEL WITHOUT CONTROLS
T2: MODEL WITH MECHANICAL DOUBLE POLE THERMOSTAT
T2T: MODEL WITH MECHANICAL DOUBLE POLE THERMOSTAT AND TIMER
WBB: MODEL WITHOUT BACK-BOX (AVAILABLE FOR U.S. MARKET ONLY AND MUST BE INSTALLED WITH BACK-BOX KIT-ASSOBB)
C: COLOR (W = WHITE)
WARNING: This product must be installed by a certified electrician according to the electrical and building codes effective in your region.
WHERE TO INSTALL YOUR FAN HEATER
Install your fan heater in an unobstructed location at least 6 in. off the ground.
TIP: You can access the fan heater’s controls more easily if you install it 12 in. off the ground.
ATTENTION: To avoid any risk of overheating, leave a clearance of at least 36 in. in front of the fan heater and 6 in. on either side of it.
No objects or furniture such as, but not limited to, blankets, towels, a bed, a laundry basket, clothing, papers, etc., should come into contact with the fan heater. Keep these items at least 36 in. away from it.
It is not designed to be used or stored in wet areas or areas containing flammable liquids, combustible materials, or corrosive, abrasive, chemical, explosive and flammable substances such as, but not limited to, paint, gasoline, chlorine, sawdust, and cleaning products.

Make sure that objects or furniture near the heater can withstand the heat it gives off.
Do not install the heater on a wall behind a door. If a piece of furniture is nearby, make sure the fan heater will not impede the opening of its drawers or doors.
To recess your fan heater in a wall, consider the following:
- Check the construction of your wall. There should be at least 4 in. from the outside of your finishing and the inside of your wall. A 2 × 4 wood stud construction with a 1/2 in. thick finishing are considered compliant [A].
- Avoid installing in an exterior wall as this decreases the wall’s insulation.
- Consider the location of the studs in your wall. One side of the heater must be fixed to a stud.
Consider the location of pipes, electrical wires, or other components that may be present inside the wall and damaged during installation.
CUTTING THE POWER supply
To protect yourself from the risk of electric shock, turn off the power to the lead wires from the electrical panel.

PREPARING THE SURFACE FOR INSTALLATION
IMPORTANT: Models provided without a back-box shall be only installed with back-box KIT-ASSOBB available at your heater supplier. Do not use any other back-box or retrofit.
- Locate the studs and any other structures that might be inside the wall.
- Measure the space required according to the diagrams shown beside.
- Make an opening according to the direction of the desired installation.
- Pull the power cable out of the wall. You will need at least 6 in. of cable inside the junction box to connect the unit’s wires easily.

PREPARING THE FAN HEATER
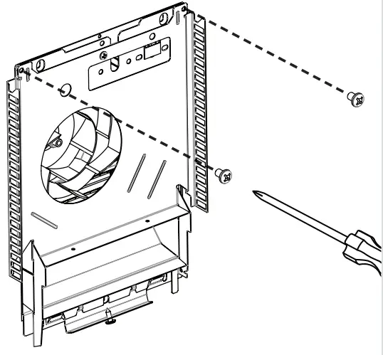
- Pivot the fan heater’s front panel toward the top of the unit [1] and slide it up. Remove the front panel completely [2] and place it on a clean surface where it won’t be damaged.
Note: The HORIZON front panel rests on the mechanical housing of the unit. Pull it up and put it aside.
- Remove the two screws. Keep the screws with the front panel.
- Lift the top [3] of the mechanical housing [A] and slide it [4] to remove it from the backbox [B].

- Perforate one of the seven pre-cut holes. Choose the hole according to the power cable’s position in the wall and the available space.

ATTENTION: Be sure to push in the right hole by placing the back box in the correct direction. The notches will be positioned at the bottom [C], or at the right [D]. - Place the wire clamp [E] in the hole. Insert the power cable through the wire clamp and secure it.

- If the wall finish is not installed yet, attach the self-adhering spacer [F] to one of the four specially identified spots on the external side of the backbox that will rest against the stud. If the wall finish is already installed, the self-adhering spacer [F] is not required.

ATTACHING THE BACK BOX TO THE WALL
- Insert the fan heater’s back box in the opening you’ve made in the wall, making sure it is level.

NOTE: If the wall finishing is not installed yet, make sure you position the box at the correct depth so that it rests on the surface once work is complete.
For 1/2 inch thick finishing, you can fold the side tabs and install them directly on the stud. For other thicknesses, align the stud with the corresponding perforated marks. - According to your installation, screw* the box to the wall stud using two mounting holes [A].
![]() | ![]() |
SELECTING THE POWER
- The heater is provided with a jumper that allows the installer to pick a wattage onsite without any tool. To reduce the full factory wired wattage output by half, remove the pull-out jumper [A] located on the side of the mechanical box.

CONNECTING THE WIRING
- If needed, strip the power cable wires with a wire stripper.
- Connect the fan heater and power supply wires with the supplied connection caps [A] according to the connection diagram. Tighten caps on the wires to make sure the connections are secure.
- Connect the grounding wire firmly with the green screw [B] provided at the back of the backbox. The grounding screw can be moved to position [C] if required.
- Store all the wires in the backbox.
Warning: Use copper or aluminum wires only. Use supply wires suitable for 194 °F.



ATTACHING THE MECHANICAL HOUSING TO THE BACK BOX
- Put the mechanical housing [A] in the backbox by inserting it into the bottom notches [B] provided for this purpose.

- Pivot the mechanical housing toward the wall. Be careful not to trap the wires or caps.

- Secure with the screws set aside in step 4.2.

ATTACHING THE FRONT PANEL
- Press the top of the front panel against the wall, keeping it slightly tilted [A] and centered with respect to the mechanical housing.
- Carefully slide the front panel down until the hooks behind the front panel [B] are engaged and then pivot it toward the wall.
- Check that the screw [C] at the bottom of the unit is inserted in the front panel’s slot. Tighten the screw to secure the front panel.

1a. Place the front panel and tighten the screws to secure it. IT’S GOT BRAINS. AND L
- According to your model, install the timer [D] and mechanical thermostat [E] control knobs. T BRAINS. AND LOOKS.

TURNING THE POWER BACK ON
Restore power to the fan heater and make sure the fan heater works by raising the temperature until the unit starts to heat. See section Controlling the fan heater, p. 10, to get the most out of your unit.

WARNING: You must set the wall thermostat to fan heater mode as soon as you restore power. If the thermostat stays in baseboard mode, the fan heater will run intermittently and may overheat.
USING AND MAINTAINING THE FAN HEATER
WARNING: Before using your fan heater, make sure that it has been installed by a certified electrician in accordance with the electrical and building codes in your area. Do not operate without a front panel.
CONTROLLING THE FAN HEATER
According to your model, see the table below for how to control your fan heater.
| ASSO … WCW | With a compatible wall thermostat to adjust the room’s temperature setpoint | — |
| ASSO … T2W | With its integrated mechanical thermostat
| |
| ASSO … T2TW | With its integrated mechanical thermostat and timer
| |
| ASSOH … WCW | With a compatible wall thermostat to adjust the room’s temperature setpoint | — |
| ASSOH … T2W | With its integrated mechanical thermostat
| |
MAINTAINING THE FAN HEATER
FOR THE WARRANTY TO BE VALID, THE FAN HEATER’S AIR INLET AND OUTLET MUST BE CLEANED REGULARLY.
WARNING: Cut off the power at the breaker or fuse before cleaning the unit. High voltage and the risk of electric shock are present in the unit even if the thermostat is set off. Therefore, you can receive an electrical shock as long as the unit is under power.
Over time, cigarette smoke may cause the outlet grill to yellow. The best way to prevent yellowing is to clean the unit regularly.
Dust the front panel with a soft cloth and clean it with a damp cloth only. If you use cleaning products, they could cause the heater to yellow.
If the unit is installed in a very dusty location, use the dust brush of a vacuum cleaner to remove dust and other foreign objects.
When maintaining the product, never use:
- A brush or metal scrubbing pad
- Chlorine
- Abrasive cleaning products
- Hydrochloric acid-based products such as bleach
- Any other cleaning products that bear the following symbols:
![]()
TROUBLESHOOTING THE FAN HEATER
The following table outlines the most common issues and alerts you could experience with your fan heater.
If your problem is not listed in the table below or the proposed solution does not solve the problem, turn the power off and contact our customer service team.
WWW.STELPRO.COM
[email protected]
1-844-STELPRO
PROBLEM/ALERT | POSSIBLE CAUSE AND SOLUTION |
| The fan heater is not operational after installation. |
|
| The breaker goes off when the fan heater starts. |
|
| The temperature setpoint is never reached. |
|
| The fan heater is operating continuously. |
|
| The ambient temperature is too high. |
|
| The heating is not operational. |
|
| Heating stops, but the fan continues to run. |
|
| With a wall thermostat: the fan heater turns on and off frequently. |
|
| With a wall thermostat: the fan heater makes a buzzing sound. |
|
RESTARTING THE FAN HEATER AFTER THE THERMAL PROTECTION IS TRIGGERED
In the event of overheating, the unit’s thermal protection will trigger to prevent damage. When this happens, heating is switched off, but ventilation continues to evacuate heat, which is considered ventilation without heat.
Once the thermal protection is triggered, you must restart the fan heat to resume normal operation:
- Find the cause of the overheating and eliminate it. For instance, make sure no objects are blocking the air inlets and outlets
and that they are clean. - Make sure the fan heater has not suffered heat damage.
- Switch off the power supply to the fan heater directly from the electrical panel.
- Wait ten minutes, then turn the power back on.
If the fan heater doesn’t begin heating again after a restart, it means an internal component may be defective, or an additional thermal protection device has been triggered. In this case, contact STELPRO’s customer service department.
STELPRO LIMITED WARRANTY
This limited warranty is offered by STELPRO Design inc.
(“ STELPRO”) and applies to the following product made by STELPRO: ASSO/ASSOH model. Please read this limited warranty carefully. Subject to the terms of this warranty, STELPRO warrants its products and their components against defects in workmanship and/or materials for the following periods from the date of purchase: 5 years. This warranty applies only to the original purchaser; it is non-transferable and cannot be extended.
CLAIM PROCEDURE
If at any time during the warranty period the unit becomes defective, you must cut off the power supply at the main electrical panel and contact 1) your installer or distributor, 2) your service center or 3) STELPRO’s customer service department. In all cases, you must have a copy of the invoice and provide the information written on the product nameplate. STELPRO reserves the right to examine or to ask one of its representatives to examine the product itself or any part of it before honoring the warranty. STELPRO reserves the right to replace the entire unit, refund its purchase price, or repair a defective part. Please note that repairs made within the war- ranty period must be authorized in advance in writing by STELPRO and carried out by persons authorized by STELPRO.
Before returning a product to STELPRO, you must have a STELPRO authorization number (RMA). To obtain it, call the customer service department at 1-844-STELPRO. The authorization number must be clearly written on the parcel or it will be refused.
CONDITIONS, EXCLUSIONS, AND DISCLAIMER OF LIABILITY
This warranty is exclusive and in lieu of all other representations and warranties (except title), expressed or implied, and STELPRO expressly disclaims and excludes any implied warranty of merchantability or implied warranty of fitness for a particular purpose.
STELPRO’s liability with respect to products is limited as provided above. TEL shall not be subject to any other obligations or liabilities whatsoever, whether based on contract, tort, or other theories of law, with respect to goods or services furnished by it, or any undertakings, acts, or omissions relating thereto. Without limiting the generality of the foregoing, STELPRO expressly disclaims any liability for property or personal injury damages, penalties, special or punitive damages, damages for lost profits, loss of use of equipment, cost of capital, cost of substitute products, facilities, or services, shutdowns, slowdowns, or for other types of economic loss or for claims of a dealer’s customers or any third party for such damages. STELPRO specifically disclaims all consequential, incidental, and contingent damages whatsoever.
This warranty does not cover any damages or failures resulting from 1) a faulty installation or improper storage; 2) an abusive or abnormal use, lack of maintenance, improper maintenance (other than that prescribed by STELPRO), or use other than that for which the unit was designed; 3) a natural disaster or an event out of STELPRO’s control, including, but not limited to, hurricanes, tornadoes, earthquakes, terrorist attacks, wars, overvoltage, flooding, water damages, etc. This warranty does not cover any accidental or intentional losses or damages nor does it cover damages caused by the negligence of the user or owner of the product. Moreover, it does not cover the cost of disconnection, transport, and installation.
The warranty is limited to the repair or the replacement of the unit or the refund of its purchase price, at the discretion of STELPRO. Any parts replaced or repaired within the warranty period with the written authorization of STELPRO will be warranted for the remainder of the original warranty period. This warranty will be considered null and void and STELPRO will have the right to refuse any claims if products have been altered without the written authorization of STELPRO and if the nameplate numbers have been removed or modified. This warranty does not cover scratches, dents, corrosion, or discoloration caused by excessive heat, chemical cleaning products, and abrasive agents. It does not cover any damage that occurred during the shipping.
Some states and provinces do not allow the exclusion or limitation of incidental or consequential damages and some of them do not allow limitations on how long an implied warranty lasts, so these exclusions or limitations may not apply to you. This warranty gives you specific legal rights and you may have other rights which vary from state to state or from province to province.
STELPRO DESIGN INC.
Saint-Bruno-de-Montarville, Québec, Canada, J3V 6L7
CUTTING THE POWER supply






























