STELPRO ARWF Pulsair Wall Fan Heater

THANK YOU FOR YOUR PURCHASE!
QUESTION? PROBLEM? CONTACT STELPRO CUSTOMER SERVICE.
WWW.STELPRO.COM
[email protected]
1-844-STELPRO
IMPORTANT INSTRUCTIONS
Before installing and using this product, you must read and understand these instructions and keep them for future reference. If the installer and the user do not follow these instructions, the manufacturer cannot be held liable in any way and the warranty will be null and void.
This product must be installed by a qualified person and connected by a certified electrician, according to the electrical and building codes effective in your region.
The following instructions must be adhered to in order to avoid personal injuries or property damages, serious injuries and potentially fatal electric shocks.
Protect the heating unit with the appropriate circuit breaker or fuse, in accordance with the nameplate.
Make sure the line voltage (volts) is consistent with that indicated on the unit’s nameplate.
This unit must be grounded.
Switch off the power at the circuit breaker or fuse before installing, repairing and cleaning the unit.
INTENDED USE
Make sure the unit is appropriate for the intended use (if needed, refer to the product catalog or a representative).
RECOMMENDED HEATING CAPACITY: 1,25 W per ft3 (0.03 m3).
This corresponds to 10 W per ft2 (0.09 m²) based on a standard ceiling height of 8 ft (2.44 m). The recommended capacity is usually sufficient for normal heating needs. Please note that the insulation quality of walls and windows are some of the factors that influence heat losses, which modify the required capacity to heat a room. If needed, speak with a specialist (industrial and commercial buildings) who will be able to calculate these heat losses and optimize the required capacity or consult the “Calculation Tools/Heating Calculator” section of the Stelpro Design website. To heat a large room and increase its comfort, you should install multiple units instead of one, for instance, 2 x 1000 W rather than 1 x 2000 W.
If the unit capacity is insufficient for the size of the room, it will be in operation continuously, and may become defective earlier and turn yellow.
POSITION
Do not install the unit where objects or pieces of furniture could be heat damaged.
Respectez les distances et les positions mentionnées dans la section d’installation de ce guide.
If the installer or the user modifies the unit, they will be held responsible for any damage resulting from this modification, and the CSA certification could be void.
This unit must not come into contact with a water source and must be protected from splashes (e.g., splashes from a sink or shower). Do not use it if any part has been immersed. Moreover, do not turn it on or off when standing in water or if your hands are wet.
When mounting the unit, ensure that the anchorage can support the total weight of the unit plus the weight of the mounting brackets.
When cutting or drilling a wall to install the unit, be careful not to damage hidden electrical wiring and other utilities.
Do not install this product on walls made of synthetic materials such as, but not limited to, carpet and upholstery.
RISK OF FIRE, ELECTRIC SHOCK, BODILY INJURY AND DAMAGE
When starting up the unit for the first time or after a long period, it is normal that it produces some temporary odours and a thin whitish smoke.
Because this unit is hot when in use, it may pose risks even in normal operation. Therefore, be careful and responsible when using it. To avoid burns, do not let bare skin touch hot surfaces. The unit must cool down for few minutes since it will stay warm for some time after shut down.
Leave at least 8 inches (20.3 cm) of free space between the unit and any adjacent surfaces (walls and floors). Moreover, do not allow objects or furniture such as, but not limited to, blankets, towels, bedding, laundry baskets, clothing, papers, etc. to come in contact with the unit and keep them at least 36 inches (90 cm) away from the unit, as they may ignite more easily than adjacent surfaces. Also, some materials are more sensitive to heat than others, so make sure that the materials near your unit can withstand the heat it gives off.
Do not install on a wall behind a door.
To prevent a possible fire, do not block air intakes or exhaust in any matter.
Do not insert or allow foreign objects to enter any ventilation or exhaust opening as this may cause an electric shock or fire, or damage the heater.
This unit has hot and arcing or sparking parts inside. It is not designed to be used or stored in wet areas or areas containing flammable liquids, combustible materials or corrosive, abrasive, chemical, explosive and flammable substances such as, but not limited to, paint, gasoline, chlorine, sawdust and cleaning products.
MAINTENANCE
Some areas are dustier than others. Thus, it is the user’s responsibility to evaluate if the unit must be cleaned based on the amount of dirt accumulated on and inside air vents. Accumulated dirt can lead to a component malfunction or give a yellowish colour to the unit. Failure to install and maintain the unit in accordance with these instructions poses a fire hasard.
Thermal protection activation indicates that the unit has been subjected to abnormal operating conditions. If the thermal protection remains activated it is recommended that a qualified electrician or a certified repair centre examine the unit in order to make sure it is not damaged. (Refer to the limited warranty.)
If the unit is damaged or defective, discontinue use, cut off power supply at circuit breaker or fuse and have it repaired at a certified repair centre.
Make sure that the electrical connections are secure and that they have been made properly. Pull on each wire to ensure that there is no slack in the connector or terminal block. Failure to do so could result in a fire.
If adding an option to the unit, make sure it is approved by Stelpro. This will ensure that it has been tested in accordance with the established safety rules and that proper installation has been provided for it in the unit.
SAVE THESE INSTRUCTIONS
INSTALLING THE FAN HEATER
TO ENSURE A SAFE AND EASY INSTALLATION, TAKE A FEW MINUTES TO READ THIS INSTALLATION GUIDE.
WHAT IS IN THE BOX

TOOLS REQUIRED
- Level
- Wire stripper
- Flat screwdriver
- Phillips screwdriver
- Tape measure
- Stud finder
- Wire clamp
FOR RECESSED INSTALLATION
- Tool to cut drywall or gypsum board
- 2 Screws 1-1/2″ (38 mm) with a 1/4″ (6.5 mm) diameter head minimum, suitable for securing the back box directly to a stud.
FOR SURFACE INSTALLATION
- Surface adapter (sold separately)
- 4 screws with appropriate anchorage for the installation surface
- 4 gypsum screws
SPECIFICATIONS AND NAMEPLATE
| Volt | 120, 208, 240/208, 277 |
| Watts* | 1000 to 2000W |
| Weight | 6 lb / 2.7 kg |
| Depth | 3-3/16” / 80 mm |
| Width | 8-11/16” / 220 mm |
| Heigth | 17-1/8” / 435 mm |
*Dual wattage units except 277V models

CONTROLLING THE FAN HEATER
Depending on the model chosen, refer to the table below for information on how to control the fan heater.
| ARWFxxxx | This model can be controlled with a compatible wall-mounted thermostat* to adjust the room’s temperature setpoint. | — |
| ARWFxxxxT | This model can be controlled with its single pole mechanical thermostat.
| ![]() |
| ARWFxxxxT2 | This model can be controlled with its double pole mechanical thermostat.
| ![]() |
*Electronic thermostat with fan heater mode or mechanical thermostat
DETERMINING THE FAN HEATER’S POSITION AND TYPE OF INSTALLATION



WHERE TO INSTALL YOUR FAN HEATER

ATTENTION: To avoid any risk of overheating, leave a clearance of at least 36 in. (90 cm) in front of the fan heater, 8 in. (20.3 cm) on either side of it and at least 8 in. (20.3 cm) from the ground.
Do not install the heater on a wall behind a door.
No objects or furniture such as, but not limited to, blankets, towels, a bed, a laundry basket, clothing, papers, etc., should come into contact with fan heater.
Keep these items at least 36 in. (90 cm) away from it.
It is not designed to be used or stored in wet areas or areas containing flammable liquids, combustible materials or corrosive, abrasive, chemical, explosive and flammable substances such as, but not limited to, paint, gasoline, chlorine, sawdust and cleaning products.
Avoid installing in an exterior wall as this decreases the wall’s insulation.
CUTTING THE POWER SUPPLY
- To protect yourself from the risk of electric shock, turn off the power supply to the lead wires from the electrical panel.
WARNING: This product must be installed by a certified electrician according to the electrical and building codes effective in your region.
PREPARING THE FAN HEATER
- Unscrew the two (2) screws holding the grille to remove it.

- Remove the mechanical housing by unscrewing the four (4) screws.

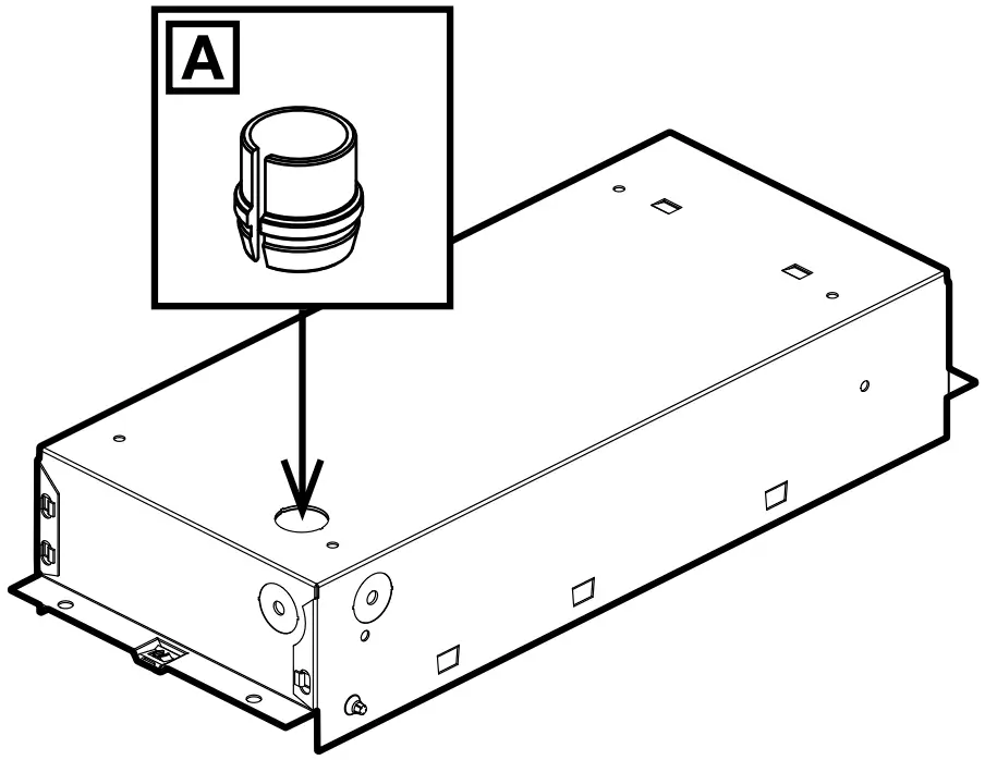
- Depending on the location of the power cable, drill a knockout into the back housing to allow the cable to pass through.

- Place the wire clamp [A] in the recessed hole. Insert the power cable through the wire clamp and secure it in place.

* Wire clamp not included
PREPARING THE SURFACE FOR FLUSH MOUNTING

- Using the stud finder, locate the studs. Also, consider the location of pipes, wires or other components in the wall that may be damaged.
- Measure the space required according to the diagram shown opposite.
- Make an opening according to the desired installation direction.
- Route the power cable out of the wall. Allow at least 6″ (15 cm) of cable inside the enclosure for easy connection to the unit’s wires.
MOUNTING THE BACK HOUSING TO THE WALL
RECESSED INSTALLATION
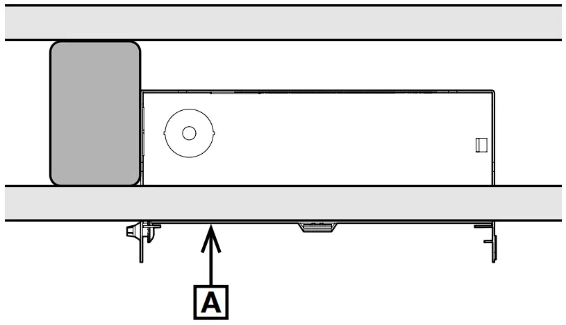
- Insert the fan heater’s back housing into the opening you’ve made in the wall, making sure that it’s level.

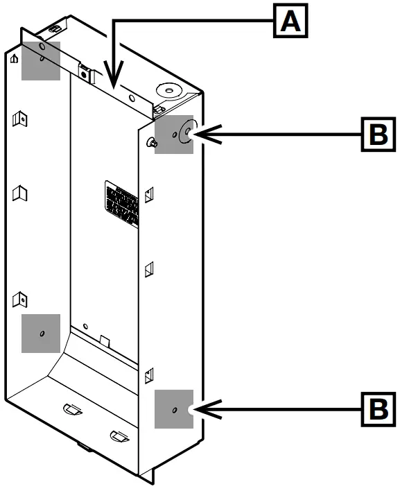
NOTE: If the wall hasn’t been finished yet, be sure to position the enclosure at the correct depth so that it will be supported on the surface when the work is complete. The shoulder of the housing [A] must remain on the surface of the finished wall. - Screw* the enclosure into place on the wall studs using two (2) mounting holes [B], depending on your situation.


*Screws not included.
SURFACE INSTALLATION

- Route the power cable out of the wall. Allow at least 6″ (15 cm) of cable inside the enclosure for easy connection to the unit’s wires.
- Lean the enclosure against the wall, level it, and then screw four (4) wood screws (not supplied) into the holes provided [A]. At least two screws should be fixed in a stud.
CONNECTING THE ELECTRICAL WIRES
WARNING: Use only copper or aluminum wire that can withstand a temperature of 90°C (194°F).
NOTE: Make sure that the supply voltage (volts) corresponds to that indicated on the nameplate (see diagram p.4)
- A 120V powered installation has a black and white power cable.
- A 240V powered installation has a red and black power cable.
- If necessary, strip the power cable wires with a wire stripper.
- Connect the fan heater and power supply wires with the connection caps provided according to one of the connection diagrams. Tighten the caps firmly on the wires to ensure that the connection is secure.
- Connect the ground wire using the green ground screw on the side of the back housing.
- Store all wires in the bottom of the back housing.
NOTE: Activation of the thermal protection is indicated by a light. It warns you that the heater has been subjected to abnormal conditions. If this occurs, it is highly recommended that the unit be disconnected and inspected by a qualified electrician in order to make sure it is not damaged.



ATTACH THE MECHANICAL HOUSING TO THE REAR HOUSING
- Reinstall the mechanical housing by screwing back the four (4) screws previously removed.

- SURFACE INSTALLATION
Insert the sleeve around the frame using the guides at the bottom of the frame [A] and screw it to the wall using the four (4) screws (not supplied) in the semicircular cut-outs provided.
ATTACHING THE FRONT PANEL
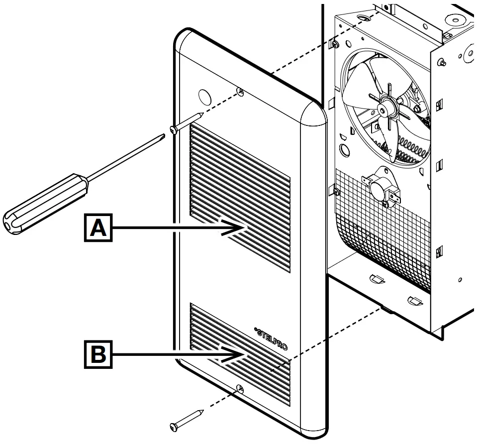
- Attach the grilled front panel with the two (2) screws once the wall is finished.

IMPORTANT: Pay attention to the direction of the grille. The opening (A) must always face the fan blades and the opening (B) the hot air outlet. If the grille is installed the wrong way round, the unit will stop working.
RESTORING THE POWER SUPPLY
- Restore the power supply to the fan heater and make sure the unit works by increasing the temperature setting until the unit starts to heat up.
Refer to section Controlling the fan heater, page 4.
WARNING: If you are using a wall-mounted electronic thermostat, you must switch it to fan heater mode as soon as you restore the electrical power. If the thermostat remains in baseboard mode, the fan heater will operate intermittently and may overheat.
WARNING: Before using your fan heater, make sure that it has been installed by a certified electrician in accordance with the electrical and building codes in your area.
Do not operate the unit without the front panel installed.
MAINTAINING THE FAN HEATER
NOTE: For the warranty to be valid, the fan heater’s air inlet and outlet must be cleaned regularly.
Over time, cigarette smoke may cause the outlet grill to yellow. The best way to prevent yellowing is to clean the unit regularly.
WARNING: Cut off the power at the breaker or fuse before cleaning the unit. High voltage and the risk of electric shock are present in the unit even if the thermostat is set to off. Therefore, you can receive an electrical shock as long as the unit is under power.
Use a soft cloth to remove dust from the fan heater. If it’s in a very dusty location, use the dusting brush of a vacuum cleaner.
If necessary, vacuum the inside of the unit.
Dust the front panel with a soft cloth and clean it with a damp cloth only. If you use cleaning products, they could cause the heater to yellow.
To avoid damaging the unit’s coating, never use:
- A brush or metal scrubbing pad
- Abrasive cleaning products
- Chlorine
- Hydrochloric acid-based products such as bleach
- Any other cleaning products that bear the following symbols:

TROUBLESHOOTING THE FAN HEATER
The following table outlines the most common issues and alerts you could experience with your fan heater.
If your problem is not listed in the table below or the proposed solution does not solve the problem, turn the power off and contact our customer service team.
WWW.STELPRO.COM
[email protected]
1-844-STELPRO
| PROBLEM/ALERT | POSSIBLE CAUSE AND SOLUTION |
| The fan heater is not operational after installation. |
|
| The breaker goes off when the fan heater starts. |
|
| The temperature setpoint is never reached or the fan heater is operating continuously. |
|
| The ambient temperature is too high. |
|
| Heating is not operational and pilot light is on. |
|
| Heating stops, but ventilation continues. |
|
| With a wall thermostat: the fan heater turns on and off frequently. |
|
| With a wall-mounted thermostat: the display switches off. |
|
| The elements are powered (elements are emitting a red glow), but the fan isn’t running. |
|
STELPRO LIMITED WARRANTY
This limited warranty is offered by STELPRO Design inc. (“STELPRO”) and applies to the following product made by STELPRO: ARWF model. Please read this limited warranty carefully. Subject to the terms of this warranty, STELPRO warrants its products and their components against defects in workmanship and/or materials for the following periods from the date of purchase: 5 years. This warranty applies only to the original purchaser; it is non-transferable and cannot be extended.
CLAIM PROCEDURE
If at any time during the warranty period the unit becomes defective, you must cut off the power supply at the main electrical panel and contact 1) your installer or distributor, 2) your service center or 3) STELPRO’s customer service department. In all cases, you must have a copy of the invoice and provide the information written on the product nameplate. STELPRO reserves the right to examine or to ask one of its representatives to examine the product itself or any part of it before honoring the warranty. STELPRO reserves the right to replace the entire unit, refund its purchase price or repair a defective part. Please note that repairs made within the warranty period must be authorized in advance in writing by STELPRO and carried out by persons authorized by STELPRO.
Before returning a product to STELPRO, you must have a STELPRO authorization number (RMA). To obtain it, call the customer service department at: 1-844-STELPRO. The authorization number must be clearly written on the parcel or it will be refused.
CONDITIONS, EXCLUSIONS AND DISCLAIMER OF LIABILITY
This warranty is exclusive and in lieu of all other representations and warranties (except of title), expressed or implied, and STELPRO expressly disclaims and excludes any implied warranty of merchantability or implied warranty of fitness for a particular purpose.
STELPRO’s liability with respect to products is limited as provided above. STELPRO shall not be subject to any other obligations or liabilities whatsoever, whether based on contract, tort or other theories of law, with respect to goods or services furnished by it, or any undertakings, acts or omissions relating thereto. Without limiting the generality of the foregoing, STELPRO expressly disclaims any liability for property or personal injury damages, penalties, special or punitive damages, damages for lost profits, loss of use of equipment, cost of capital, cost of substitute products, facilities or services, shutdowns, slowdowns, or for other types of economic loss or for claims of a dealer’s customers or any third party for such damages. STELPRO specifically disclaims all consequential, incidental and contingent damages whatsoever.
This warranty does not cover any damages or failures resulting from: 1) a faulty installation or improper storage; 2) an abusive or abnormal use, lack of maintenance, improper maintenance (other than that prescribed by STELPRO) or a use other than that for which the unit was designed; 3) a natural disaster or an event out of STELPRO’s control, including, but not limited to, hurricanes, tornadoes, earthquakes, terrorist attacks, wars, overvoltage, flooding, water damages, etc. This warranty does not cover any accidental or intentional losses or damages nor does it cover damages caused by negligence of the user or owner of the product. Moreover, it does not cover the cost of disconnection, transport, and installation.
The warranty is limited to the repair or the replacement of the unit or the refund of its purchase price, at the discretion of STELPRO. Any parts replaced or repaired within the warranty period with the written authorization of STELPRO will be warranted for the remainder of the original warranty period. This warranty will be considered null and void and STELPRO will have the right to refuse any claims if products have been altered without the written authorization of STELPRO and if the nameplate numbers have been removed or modified. This warranty does not cover scratches, dents, corrosion or discoloration caused by excessive heat, chemical cleaning products and abrasive agents. It does not cover any damage that occurred during the shipping.
Some states and provinces do not allow the exclusion or limitation of incidental or consequential damages and some of them do not allow limitations on how long an implied warranty lasts, so these exclusions or limitations may not apply to you. This warranty gives you specific legal rights and you may have other rights which vary from state to state or from province to province.
STELPRO DESIGN INC. 12
Saint-Bruno-de-Montarville, Québec, Canada, J3V 6L7

































