Quick Start Guide E-DOS Pump
HYDRO E-DOS Pump User Guide
THANK YOU FOR YOUR INTEREST IN OUR PRODUCTS Please use this equipment carefully and observe all warnings and cautions.
***************************NOTE*************************************
| WEAR | protective clothing and eyewear when dispensing chemicals or other materials or when working in the vicinity of all chemicals, filling or emptying equipment, or changing metering tips. |
| ALWAYS | observe safety and handling instructions of the chemical manufacturer. direct discharge away from you or other persons or into approved containers. dispense cleaners and chemicals in accordance with manufacturer’s instructions. Exercise CAUTION when maintaining your equipment. reassemble equipment according to instruction procedures. Be sure all components are firmly screwed or latched into position. |
| KEEP | equipment clean to maintain proper operation. |
Installing Pump
- Connect tubes into the inlet and outlet.

- Connect an air bleed tube into the air vent port. Route back the other tube end to a supply tank or a container. For the auto degassing type, con-nect another air bleed tube into the automatic air vent valve body as well.

- Decide an air vent port direction. The air vent port can rotate 90 de-grees.
a. Turn the lock nut anticlockwise.
b. Adjust the direction of the air vent port.
c. Hand-tighten the lock nut, holding the air vent body A.
d. Turn the lock nut 90 degrees clockwise further with an adjustable wrench or spanner.
Wiring
- Pulse signal
In the EXT (MOLT or DIV) mode, the pump runs along with a multiplier or a divisor as receiving the pulse signal.
• When using an open collector…
Pay attention to polarity. Pulse is plus(+), and COM1 is minus(-). (Maximum 2.3mA at 12V)
• When using a contact…
The contact should be designed for an electronic circuit. The minimum ap-plication load should be 1mA or less.
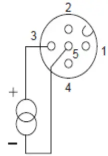
1 : Free 2 : Pulse = White Wire 3 : Free 4 : Free 5 : COM1 = Grey Wire - Analogue signal
In the EXT (ANA.R or ANA.V) mode, the pump runs in a proportional control as receiving the analogue signal.
1 : Free 2 : Free 3 : ANA = Blue Wire 4:Free 5 : COM1 = Grey Wire
**When using an analogue flow meter this pump will be wired in tandem with the multipin harness installed on your flow meter. Please see the Flow Meter manufacture’s wiring diagram for correct installation of our system.
Priming the system
- Turn on power. The ON LED lights and a display related to the current mode appears on the screen.
The pump waits in the manual mode when turn-ing on power with a default setting or calls up a previous mode at the last shutoff.
- Rotate the adjusting screw two revolutions anticlockwise to open the air vent port.
Do not rotate it three revolutions. Otherwise, liquid may come out from the air vent port.
- Run the pump at the maximum stroke rate.
Select a convenient way from the following.
• Set a stroke rate to 100% and run the pump manually.
• Enter the external signal via the AUX terminals.
• Press and hold both the UP and DOWN keys.
- Keep the pump running for more than ten minutes for degassing.
- Stop the pump by…
• pushing the start/stop key once or
• stopping the AUX signal or
• releasing the UP and DOWN keys - Rotate the adjusting screw clockwise to close the air vent port.
- Check liquid is discharged.
Degassing is required again if the pump does not discharge liquid. - Check connections for leakage.
Degassing has now been completed.
The air vent port is not provided to the FC type. Install an air vent valve on a discharge line for degassing. See page 32 for detail. Also, the FC type has the threaded outlet & inlet, so that a tube can not be fit directory. Use general joints for tubing.
Adjusting Stroke Rate
- Turn on power and call up manual mode. Enter manual mode to indicate stroke rate on the screen.
• Push the start/stop key when “MULT”, “DIV”, “ANA.R” or “ANA.V” is on the screen.
• When “STOP” or “-STOP” appears on the screen, see “STOP function cancellation” on 68 page and release the STOP function. - Use the UP or DOWN key to adjust stroke rate.
• The stroke rate increases/decreases as pushing the UP/DOWN keys.
• Press and hold either key for three seconds for quick change. Quick change stops at 0.1% or 100%. 0.1% or 100% skips to 100% or 0.1% when the key is released and pushed again.
- Push the start/stop key. The ON LED blinks at each shot during operation.

Adjusting Stroke Length
- Turn on power and push the start/stop key to run the pump. [The ON LED blinks during operation.

- Rotate the stroke length adjusting knob and adjust a flow rate while the pump is running.

Programming Multiplier Mode
- Enter EXT mode.
Push the EXT key to move from manual mode to EXT mode. Push the start/stop key and stop the pump when it is running. Then call up EXT mode.
- Press and hold the EXT key for one second and enter the EXT mode selection.

- Select “MOLT” (Multiply).
Scroll through the EXT mode selection by the UP and DOWN keys.
- Push the EXT key and call up the multiplier programming screen.

- Use the UP or DOWN key to program a multiplier.
• A multiplier increases/decreases as pushing the UP/DOWN keys.
• Press and hold either key for three seconds for quick change. Quick change stops at 1 or 9999. 1 or 9999 skips to 9999 or 1 when the key is released and pushed again.
- Push the EXT key to return to the EXT mode selection.

- Push the start/stop key to return to EXT mode.
The pump starts to run according to the multiplier programming.
Programming ANA-R Mode
- Enter EXT mode. Push the EXT key to move from manual mode to EXT mode.
•Push the start/stop key and stop the pump when it is running. Then call up EXT mode.
- Press and hold the EXT key for one second and enter the EXT mode selection.

- Select “ANA-R” (Analogue rigid).
Scroll through the EXT mode selection by the UP and DOWN keys
- Push the EXT key and select a preset program.
Scroll through the ANA-R programming routine by the UP and DOWN keys. - Push the EXT key to return to the EXT mode selection.

- Push the start/stop key to enter EXT mode.
The pump starts to run in proportional control according to the ANA-R programming.
When using Pump with Injection Manifold Overview

Mounting
- Position the drilling template (located on the packing insert) on the wall near the dispenser pump stand, in the position and orientation you desire.
- Using the drilling template and a pencil, mark the location of the required holes (5 total) on the mounting surface.
- Drill the marked holes with a 1/4” masonry bit and place a wall anchor, supplied, into each hole.
- Rotate the manifold to the desired angle in 45° increments.
- Secure the manifold assembly to the wall anchors with supplied screws
- Connect the supply line from the barbs on chemical ports with check valves to the E-Dos pump outlet.
Once connected, push the smooth end of the fitting into the press-to-fit connection - Avoid kinks and other restrictions in discharge tube
- Connect the discharge line from the manifold outlet to the injection valve mounted into the water line.
Exploded diagram

| Number | Part Number | Description | Quantity |
| 1 | HYD10099971 | Injection Valve | 1 |
| 2 | HYD10099977 | 3/8″ NPT (M) X 1/2″ NPT (M) PVDF REDUCER | 1 |
| 3 | HYD10098253 | 4 PORT MANIFOLD | 2 |
| 4 | HYD10099976 | 1/4″ NPT NATURAL PVDF PLUG | 6 |
| 5 | HYD10099975 | 1/2″ NPT NATURAL PVDF NIPPLE | 1 |
| 6 | HYD10099974 | PVDF CHK 426-4B4M-AF, 1/344,HAST | 2 |
| 7 | HYD10100005 | 1/2″ NPT NATURAL PVDF PLUG | 1 |
| Not Shown | HYD10098678 | HANGER, FM-800 WALL |

Hydro Systems Company 3798 Round Bottom Road Cincinnati, OH 45244 U.S.A
Phone 513-271-8800 Fax 513-271-0160 Web hydrosystemsco.com
HYD10099989 Rev. A 6/22














