Metalux WPLD Series Linear Wraparound Fixture Instruction Manual
PACKAGING CONTENTS
- A. Fixture housing

- B. Lens

- C. (2) 8-32 x 25 mm #8-32 machine screw

- D. (3) Wire connectors

ITEMS REQUIRED
(Purchase separately)
- Phillips screwdriver
- Flat head screwdriver
- Pliers
- Safety glasses
- Ladder
- Hammer
Note: This product is not intended for continuous row applications. Suspension kits sold separately.
IMPORTANT SAFETY INSTRUCTIONS
When using product, basic precautions should always be followed, including the following:
- Read and follow these instructions.
- Heed all warnings, including below warnings AND those included on product.
- Save these instructions and warnings.
WARNING
- Risk of fire/electric shock.
- Ground fixture to avoid potential electric shock.
- Turn off the power at fuse or circuit breaker box before installation and maintenance.
- Edges may cut. Handle with care.
CAUTION
- Connect model: 4WPLD3140R9, 4WPLD2340R or 2WPLD2040R fixture to a 120 volt, 60 Hz power source. Any other connection voids the warranty.
- Connect model: 4WPLD4035C, 4WPLD4040C, 2WPLD2035C fixture to a 120 or 277 volt, 60 Hz power source. Any other connection voids the warranty
- Fixture should be installed by persons with wiring experience or by a qualified electrician. The electrical system, and the method of electrically connecting the fixture to it, must be in accordance with the National Electrical Code and local building codes.
INSTALLATION INSTRUCTIONS
- Turn off the power at the main fuse/breaker box. Carefully open carton, remove fixture from carton.
- Remove from the packaging and remove lens from the luminaire (Fig. 1) by pulling up from edge of lens near the endcap.

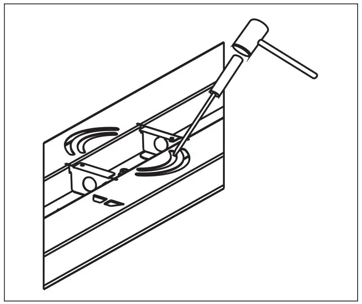
- The LED wrap fixture is compatible out of box for installation with 4” surface J Box with 3.5” mounting hole spacing. If using 3” J Box with 2.75” mounting hole spacing use alternate mounting hole slots in fixture by removing knockouts. Besure to properly support fixture before removing knockouts to help prevent deforming fixture. Remove appropriate knockouts for mounting. To remove simply place flathead screwdriver on the knockout and strike it sharply with a hammer. The slug may then be removed with pliers (Fig. 2).

- Locate wires in outlet box. Connect all fixture wires to power supply wires: White to white, black to black, and green to green with wire nuts (D) (Fig. 3).

- After Connections push all wires and wire nuts inside junction box (Fig. 4).

- Align fixture mounting slots with J Box mounting holes. USE 8-32 x 25 mm mounting screws (C) to secure fixture to J Box (Fig. 5).

Note: To ensure that once installed to the field junction box, there shall be no visible gaps between the ceiling surface at the outlet box and the luminaire housing. - Attach lens (Fig. 6) by aligning lens groove with edge of channel. Ensure lens groove is secured along entire length of the lens on both sides. Remove protective film from lens.

- Turn breaker on. Use wall switch to verify light turns on.
DIMMING INSTALLATION INSTRUCTIONS
For a fixture containing (1) 120V Driver.
- Wire per dimmer manufacturer’s instructions. See www.cooperlighting.com for a listing of dimmers that are compatible with the WPLD series product.
For a fixture containing (1) 120/277V Driver.
- Combine the positive lead from the dimmer with the positive lead (violet) connected to the dimming port (DIM +) of the driver.
- Combine the negative lead from the dimmer with the gray negative lead connected to the (DIM -) dimming port of the driver using the wire termination that is fastened to the end of the gray dimming lead.
SUSPENSION INSTRUCTIONS
- Product can be suspended. For a list of manufacturer suspension options that are compatible with the WPLD series product visit www.cooperlighting.com
ENERGY STAR
ENERGY STAR® is sponsored by the U.S. Environmental Protection Agency & U.S. Department of Energy. Visit www.energystar.gov to learn more.
5-YEAR LIMITED WARRANTY
THE FOLLOWING WARRANTY IS EXCLUSIVE AND IN LIEU OF ALLOTHER WARRANTIES, WHETHER EXPRESS, IMPLIED OR STATUTORY INCLUDING, BUT NOTLIMITED TO, ANY WARRANTY OF MERCHANTABILITY OR FITNESS FOR ANY PARTICULAR PURPOSE.
Cooper Lighting Solutions (“CLS”) warrants to customers that, for a period of five years from the date of purchase, CLS products will be free from defects in materials andworkmanship. The obligation of CLS under this warranty is expressly limited to the provision of replacement products. This warranty is extended only to the original purchaser of the product. Apurchaser’s receipt or other proof of date of original purchase acceptable to CLS. This is required before warranty performance shall be rendered. This warranty does not apply to CLS products that have been altered or repaired that have been subjected to neglect, abuse,misuse or accident (including shipping damages). This warranty does not apply toproducts not manufactured by CLS which have been supplied, installed, and/or used inconjunction with CLS products. Damage to the product caused by replacement bulbs or corrosion or discoloration of brass components are not covered by this warranty. LIMITATION OF LIABILITY:
IN NO EVENT SHALL CLS BE LIABLE FOR SPECIAL, INDIRECT, INCIDENTAL, OR CONSEQUENTIAL DAMAGES (REGARDLESS OF THE FORM OF ACTION, WHETHER IN CONTRACT, STRICT LIABILITY, OR IN TORT INCLUDING NEGLIGENCE), NOR FOR LOST PROFITS; NOR SHALL THE LIABILITY OF CLS FOR ANY CLAIMS OR DAMAGE ARISING OUT OF OR CONNECTED WITH THESE TERMS OR THE MANUFACTURE, SALE, DELIVERY, USE, MAINTENANCE, REPAIR OR MODIFICATION OF CLS PRODUCTS, OR SUPPLY OF ANY REPLACEMENT PARTS THEREFORE, EXCEED THE PURCHASE PRICE OF CLS PRODUCTS GIVING RISE TO A CLAIM. NO LABOR CHARGES WILL BE ACCEPTED TO REMOVE OR INSTALL FIXTURES.
To obtain warranty service, please contact CLS at 1-800-334-6871, press option 2 for Customer Service, or via e-mail [email protected] and include the following information:
- Name, address and telephone number
- Date and place of purchase
- Catalog and quantity purchase
- Detailed description of problem
All returned products must be accompanied by a Return Goods Authorization Number issued by the Company and must be returned freight prepaid. Any product received without a Return Goods Authorization Number from the Company will be refused. CLS is not responsible for merchandise damaged in transit. Repaired or replaced products shall be subject to the terms of this warranty and are inspected when packed. Evident or concealed damage that is made in transit should be reported at once to the carrier making the delivery and a claim filed with them
Reproductions of this document without prior written approval of CLS are strictly prohibited.
For assistance, call 1-800-334-6871 or e-mail us at [email protected]
Printed in China
![]()
1121 Highway 74 South, Peachtree City, GA 30269
P:770-486-4800
www.cooperlighting.com
© 2020 Cooper Lighting Solutions
![]()




























